Operation CHARM: Car repair manuals for everyone.
Manuals through 2025 now available!

Our trusted friends have launched a new website named LEMON, which has newer manuals. It also contains all the CHARM manuals.

LEMON is the spiritual successor to CHARM, I recommend you try it!

Link: lemon-manuals.la or lemon-manuals.org.ua

(Some people have issue connecting. LEMON is investigating. For now, use Firefox or change your DNS server)

Or, hide this message: temporarily or permanently

Oxygen Sensor Monitoring



Oxygen Sensor Monitoring

Diagnosis of Lambda Sensor Upstream Catalyst
This diagnostic function detects all electrical connection faults of the lambda sensors.

The diagnostic function is performed if:
- the sensor heating has been switched on for a time longer than its threshold,
- the temperature of the upstream catalyst exceeds the dew-point,
- a given period has elapsed,
- the exhaust gas temperature of upstream catalyst is below its threshold,
- if the battery voltage exceeds its threshold, and
- there is active lambda control.

If the sensor voltage of the upstream catalyst remains within a given voltage range for longer than a given period a wire interruption or defective sensor heating is assumed.

If the internal resistance of the sensor exceeds threshold while the modeled exhaust gas temperature is greater than its threshold, then a wire interruption of sensor ground is determined.

If the sensor voltage lies above the threshold for longer than a given period, then a short circuit of the sensor signal wire to battery is assumed.

If the sensor voltage of the downstream catalyst exceeds a threshold and there is active lambda control, switched off secondary air and secondary air diagnosis, no secondary air system and canister purge system failure, and the sensor voltage of the upstream catalyst remains within the voltage range for a given period without interruption, a defective sensor with limited voltage amplitude is determined.

If the sensor voltage of the upstream catalyst lies below a threshold and there is active lambda control, switched off secondary air and secondary air diagnosis, no secondary air system and canister purge system failure without interruption for longer than a given period, and in addition the sensor voltage of the downstream catalyst exceeds a threshold or if the sensor voltage of the upstream catalyst in case of cold sensor upstream catalyst lies below a threshold without interruption for longer than a given period, a wire-to-wire short circuit between sensor signal and ground lead is assumed.

If the sensor voltage of the upstream catalyst remains within the correct voltage range and the sensor voltage of the downstream catalyst lies below a threshold for longer than the a given period, then a short to battery is assumed.

Diagnosis of Lambda Sensor Upstream Catalyst - Part I







Diagnosis of Lambda Sensor Upstream Catalyst - Part II







Aging Monitoring of Upstream Catalyst Lambda Sensor
The lambda sensor aging diagnosis serves for detection of upstream lambda sensor aging, which can cause excess emissions.

For detection of a shifted sensor characteristic the correction factor ATV of the superimposed I-controller is used. For the detection of a sensor, which is too slow, cycle duration monitoring of the sensor signal is applied.

Cycle Duration Monitoring
The cycle duration is determined in the lambda controller. The monitoring is only activated if the upstream lambda control is active. If engine speed / load are in a defined range the cycle duration is measured, corrected by the map and stored. If the lambda controller is in a static condition for more than a certain number of cycles, the corrected cycle duration is filtered and stored. If a certain number of valid cycles are measured and the cycle duration is above a specific threshold, then a "slow" lambda sensor is determined.

Aging Monitoring of Lambda Sensor - Upstream Catalyst Cycle Duration Monitoring







Heater Monitoring of Nernst Type Lambda Sensor

Internal Resistance Ri
The measured internal resistance Ri of the oxygen sensor depends on the ceramic temperature, which is influenced by the electrical heater and exhaust gas temperature. The diagnostic compares the reference Ri map with the actual Ri (reference Ri map considers aging and sample deviations) under certain conditions.

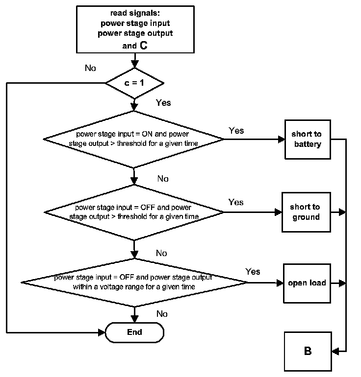
Power stage diagnosis
A comparison of control signal (input) with output signal is conducted under certain conditions.


Heater Monitoring of Lambda Sensor - Overview







Diagnosis of Power Stage - Heater Monitor of Upstream Lambda Sensor







Diagnosis of Power Stage - Heater Monitor of Downstream Lambda Sensor







Diagnosis of Power Stage (continued)







Diagnosis of Downstream Catalyst Lambda Sensor
This diagnostic function detects all electrical connection faults of the lambda sensor.

The diagnostic function is performed if the temperature of the downstream catalyst exceeds the dew-point for more than a given period. This means the sensor heating of the downstream catalyst is turned on for this time with active lambda control, if the exhaust gas temperature of the downstream catalyst is below a certain threshold and the battery voltage exceeds a certain threshold.

If the sensor voltage of the downstream catalyst remains within the plausible voltage range for longer than a given time, a wiring interruption or defective sensor heating element assumed.

If the internal resistance (Ri) of the sensor exceeds a certain threshold while the modeled catalyst temperature is greater than a certain threshold, then a wire interruption of sensor ground is assumed.

If the voltage of the sensor of the downstream catalyst is continuously above the maximum value threshold for longer than a given period, then a short circuit of the sensor signal wire to battery voltage is assumed.

If the sensor voltage of the downstream catalyst lies below the threshold without interruption for longer than a given period with active lambda control, switched off secondary air and secondary air diagnosis, no secondary air system and canister purge system failures, then a wire-to-wire short circuit between sensor signal and ground lead is assumed.

Diagnosis of Lambda Sensor Downstream Catalyst







Aging Monitor of the Rear Lambda Sensor

Oscillation Check
The function checks whether the sensor output voltage of the rear lambda sensor (Nernst type) always remains above or below a specified threshold.

If the rear closed loop lambda control, which uses the sensor signal of the rear lambda sensor, is active the lambda sensor voltage must cross a threshold at least once within a specified period of time (approximately 65 seconds).

If the sensor voltage remains above or below the threshold, a test function will be started, the system switches to rich or lean operation (Delta Lambda rich = 10 %, Delta Lambda lean = 7%). If the voltage was above the threshold, there will be a lean operation and vice versa. This function is interrupted by fuel cut-off, by very low load conditions, etc. If the sensor voltage reacts appropriately (crossing the threshold in the expected direction), the sensor is o.k. If there is no reaction, the sensor is judged as faulty, an error flag will be set and the rear closed loop control will be switched off.

Aging Monitoring of Rear Lambda Sensor - Oscillation Check