Operation CHARM: Car repair manuals for everyone.
Manuals through 2025 now available!

Our trusted friends have launched a new website named LEMON, which has newer manuals. It also contains all the CHARM manuals.

LEMON is the spiritual successor to CHARM, I recommend you try it!

Link: lemon-manuals.la or lemon-manuals.org.ua

(Some people have issue connecting. LEMON is investigating. For now, use Firefox or change your DNS server)

Or, hide this message: temporarily or permanently

Cell Phone - Telephone Module Retrofitting

Installation and Conversion Instructions
911 (997)
6/06 ENU 9155


Oct 16, 2006

Telephone Module (I No. 666)

Vehicle Type:
911 Carrera/911 Carrera S/911 Carrera 4/911 Carrera 4S/911 Targa 4/911 Targa 4S/911 Turbo/911 GT3

Model Year:
As of 2007 up to 2008

Situation:
Retrofitting

Restriction:
ONLY for vehicles with PCM.

NOTE:
The sound quality of the hands-free equipment was improved on the new tri-band telephone module (900, 1,800 and 1,900 MHz). The position of the hands-free microphone was changed from the instrument cluster to the steering column, thereby orienting the directional characteristic more towards the driver.
If the telephone module was retrofitted, it can only be used with the ignition switched on.
Before ordering parts (telephone module and optical waveguide), always check and consider the existing vehicle equipment (existing audio components).

Parts Info:
997.044.900.61 --> Set, telephone module

Optical waveguide, in accordance with vehicle equipment:
997.622.702.00 --> Optical waveguide
997.622.703.00 --> Optical waveguide, only for vehicles with CD autochanger (I No. 692) or DVD navigation (I No. P16) or Bose Surround Sound System (I No. 680)








Parts List





Materials

Tools:
Torque wrench Nr.90 Pos.4 Torque wrench Nr.90 Pos.1
Philips and flat screwdriver (medium) Electrical pliers
Torx wrench T10/T20/T25/T27/E12 Plastic wedge
Socket-wrench insert a/f 4/5/10/13/17 Shop light
Open-ended/ring wrench, a/f 7/10 Hot-air gun
Side cutters PIWIS Tester P 9718
Crimping pliers Battery charger
Press-out and unlocking tools for flat and round plug connections of every size NR.155 Press-out tools (90207, 90006, 93005)
Ratchet, 1/4 and 3/8 inch with extension

Work Procedure:

WARNING:
Working on the vehicle electrical system
- Risk of short circuit and fire.
--> Disconnect and cover the battery.
--> Route electric wires without tension and so that no chafing occurs.
--> Secure electric wires to existing wires/components using tie-wraps and/or wrapping tape.

1. Preparatory work.
1.1 Remove battery. --> Workshop Manual '270619 Removing and installing battery - section on "Removing"'
1.2 Remove right front seat. --> Workshop Manual '720119 Removing and installing front seat - section on "Removing"'
1.3 Remove right inner door sill trim. --> Workshop Manual '680519 Removing and installing inner door sill trim - section on "Removing"'
1.4 Remove rear side trim panel at the right. --> Workshop Manual '707519 Removing and installing side trim panel - section on "Removing"'





1.5 Carefully detach carpeted floor --> Figure 2 -A- close to the A-pillar at the bottom right.
1.6 Unscrew fastening screws --> Figure 2 -C- and swivel floor support --> Figure 2 -B- to one side.
1.7 Remove right wiring duct.
1.8 Remove glove compartment. --> Workshop Manual '681519 Removing and installing glove compartment - section on "Removing"'
1.9 Remove air guide duct for right footwell.
1.10 Remove PCM display and operator control unit. --> Workshop Manual '911019 Removing and installing PCM display and operator control unit - section on "Removing"'
1.11 Remove center air vents. --> Workshop Manual '855319 Removing and installing centre air jet - section on "Removing"'
1.12 Unclip center air duct from the dashboard.





1.13 Unclip fuse carrier cover. Then unscrew fastening screws --> Figure 3 -A- and remove A-pillar trim panel at the bottom left.
1.14 Remove trim panel under dashboard. --> Workshop Manual '701919 Removing and installing trim panel under dashboard - section on "Removing"'
1.15 Remove the luggage compartment cover. --> Workshop Manual '703019 Removing and installing luggage compartment cover - section on "Removing"'
1.16 Remove covers at the left and right close to the cowl panel. --> Workshop Manual '852219 Removing and installing cover - section on "Removing"'
1.17 Remove cowl panel cover. --> Workshop Manual '508719 Removing and installing cover - section on "Removing"'
1.18 Punch service grommet in the bulkhead.





2. Install telephone antenna. --> Workshop Manual '914719 Removing and installing radio antenna � section on "Installing"'
2.1 Fit the two 4.8 speed nuts --> Figure 4 -M- in the cowl panel cover.
2.2 Clip telephone antenna into cowl panel cover --> Figure 4 -arrows- and secure with two 4.8 x 13 tapping screws --> Figure 4 -K-.
2.3 Install cowl panel cover. --> Workshop Manual '508719 Removing and installing cover - section on "Installing"'





2.4 Fit speed nut --> Figure 5 -H- for telephone antenna support at the bulkhead.
2.5 Fit telephone antenna support --> Figure 5 -S- and secure with M6 x 10 screws --> Figure 5 -G-.





2.6 Route antenna line --> Figure 6:
Right seat bracket -> right wiring duct -> right A-pillar -> dashboard bracket (along original wire harness) -> through service grommet in bulkhead -> antenna
2.7 Connect antenna line to antenna.

ATTENTION:
Incorrect installation of optical waveguides
- Damage to optical waveguide
--> Observe the requirements for working with and installing optical waveguides --> Workshop Manual '9772IN Optical waveguide - MOST bus'


3. Install optical waveguide.





3.1 Route optical waveguide --> Figure 7:
Right seat bracket -> right wiring duct -> right A-pillar -> dashboard bracket (along original wire harness) -> PCM installation slot -> through service grommet in bulkhead -> plenum panel





3.2 ONLY for vehicles with optical waveguide component (navigation/audio) in luggage compartment:
Disconnect optical waveguide connection in front luggage compartment.
3.3 Remove connection point holder --> Figure 8 -A- from plenum panel using needle nose pliers and open the clip --> Figure 8 -B-.





3.4 Cut open sheath for optical waveguide in the plenum panel in area --> Figure 9 -X- by approx. 5 cm.

3.5 Cut through the original optical waveguide and pull forward out of the sheath with plug socket and connection point holder --> Figure 10 -A-.

3.6 Route optical waveguide in the plenum panel.





3.7 Guide optical waveguide --> Figure 10 -A- through the sheath.





3.8 Install optical contacts.

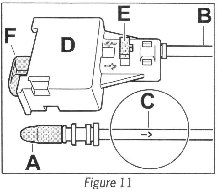
3.8.1 Pull off protection caps --> Figure 11 -A-.

NOTE:
Arrows on plug socket and optical waveguide indicate the optical input/output.

3.8.2 Insert optical contact input --> Figure 11 -B- and optical output --> Figure 11 -C- into the plug socket --> Figure 11 -D- until they engage securely.
3.8.3 Close secondary lock --> Figure 11 -E-.
3.8.4 Remove plastic cap --> Figure 11 -F-.
3.8.5 Clip plug socket into new connection point holder (997.610.122.00) if necessary. Secure connection point holder on plenum panel and connect plug connection for optical waveguide connection point.
3.8.6 Wind wrapping tape around sheath in area X --> Figure 9.

NOTE:
Secure electric wires, antenna cable and optical waveguide with tie-wraps.





4. Route electric wire harness --> Figure 12:
Right seat bracket -> wiring duct -> right A-pillar -> dashboard bracket (along original wire harness) -> PCM installation slot
--> Figure 12-A-: OG line
--> Figure 12-B-: WH/RD and RD/GN lines
--> Figure 12-C-: Telephone control unit connector
--> Figure 12-D-: BN lines (3 x)

5. Connect ground connection.
5.1 Crimp three BN lines (2 x 0.75(squared) and 1 x 0.5(squared); terminal 31) of the electric wire harness for the telephone control unit together with a cable ring eyelet A6 - 2.5 (999.650.535.00).
5.2 Secure cable ring eyelet A6 - 2.5 to ground point "6" (--> Figure 12 -D-; seat bracket).





6. Install telephone control unit. --> Workshop Manual '919019 Removing and installing telephone control unit - section on "Installing"'
6.1 Insert telephone control unit --> Figure 13 -B- into support --> Figure 13 -A- and secure with screws --> Figure 13 -D-.





6.2 Insert electric connector --> Figure 14 -A-- using antenna connector and antenna line adapter if necessary --> Figure 14 -B-- and optical waveguide connector --> Figure 14 -C- into the telephone control unit.

NOTE:
Pay attention to wire routing.

6.3 Press M6 sheetmetal press nuts (999.500.078.00) --> Figure 14 -E- into the bores on the floorpan assembly.
6.4 Align support with telephone control unit on the floorpan assembly and secure with four M6 x 16 screws --> Figure 14 -D-.





7. Fit adhesive clip (999.507.697.40) --> Figure 15 -A- on bulkhead and clip in antenna line.
Secure electric wire harness, antenna line and optical waveguide with tie-wraps.

NOTE:
Use plug designations and line allocations for PCM (connector A/B/C) according to the Workshop Manual or wiring diagram for the vehicle to be converted.

8. Connect electric wires.
8.1 Join two RD/GN 0.75(squared) lines (supply +) to RD/GN 2.5(squared) line (terminal 30) from 8-pin connector A (PCM), chamber 4.
8.1.1 Open secondary lock on 8-pin connector A (PCM).
8.1.2 Press socket contact of RD/GN 2.5(squared) line (terminal 30) out of 8-pin connector A (PCM), chamber 4 using press-out tool 90006.





8.1.3 Crimp RD/GN 2.5(squared) line (terminal 30) and RD/GN 0.75(squared) lines (supply +) together as a splice --> Figure 16 -A-.
8.1.4 Slide on shrink-fit hose and shrink it with a hot-air gun until watertight.

NOTE:
Ensure socket contact is seated securely.

8.1.5 Insert socket contact into 8-pin connector A (PCM), chamber 4.
8.1.6 Close secondary lock.





8.2 Connect WH/RD 0.35(squared) line (wake up) to 20-pin connector C (PCM).
8.2.1 Open secondary lock on 20-pin connector C (PCM).
8.2.2 Press socket contact of WH/RD 0.35(squared) line (wake up) out of 20-pin connector C (PCM), chamber 4 using press-out tool 93005.
8.2.3 Crimp WH/RD 0.35(squared) lines (wake up) together with a new socket contact (N 103.358.01).
8.2.4 Insert socket contact into chamber 4 of 20-pin connector C (PCM).





8.3. Join OR 0.5(squared) line (terminal 86s) to BK/OR 0.35(squared) line (terminal 15) from 10-pin connector X (air-conditioning regulator --> Figure 18).
8.3.1 Disconnect plug connection and expose lines.
8.3.2 Open secondary lock on 10-pin connector X (air-conditioning regulator).
8.3.3 Press socket contact of BK/OR 0.35(squared) line (terminal 15) out of 10-pin connector X (air-conditioning regulator), chamber 5 using press-out tool 90006 and disconnect it.
8.3.4 Crimp OR 0.5(squared) line (terminal 86s) and BK/OR 0.35(squared) line (terminal 15) together with a socket contact (999.650.356.12).

NOTE:
Ensure socket contact is seated securely.

8.3.5 Insert socket contact into 10-pin connector X (air-conditioning regulator), chamber 5 and close secondary lock.
8.3.6 Wind wrapping tape around the lines and connect plug connection --> Figure 18.

9. Install microphone. --> Workshop Manual '915719 Removing and installing microphone for telephone - section on "Installing"'
9.1 ONLY for vehicles with Bose Surround sound system (I No. 680) or Sound Package Plus (I No. 490):
Replace the installed microphone with the microphone from the retrofit kit.
9.2 Unscrew fastening screws on steering column trim panel and remove upper part of steering column trim panel.
9.3 Fit microphone into the upper part of the steering column trim panel and secure microphone and connector.





9.4 Route wire harness for microphone --> Figure 19:
Steering column -> wiring duct -> PCM installation slot

NOTE:
Ensure socket contact is seated securely.





9.5 Connect lines (wire harness for microphone, retrofit kit) to 20-pin connector C (PCM) --> Figure 20.
9.5.1 Insert socket contacts of BU and YE 0.35(squared) lines into 20-pin connector C (PCM) as follows:

YE 0.35(squared) line -> chamber C8 (Tel -)
BU 0.35(squared) line -> chamber C9 (Tel +)

9.5.2 Close secondary lock on 20-pin connector C (PCM).

9.6 Connect lines (wire harness for microphone, retrofit kit) to 4-pin plug socket (microphone, 999.650.512.40).
Insert socket contacts of BU and YE 0.35(squared) lines into 4-pin plug socket as follows:

BU 0.35(squared) line -> chamber A1 (Tel +)
YE 0.35(squared) line -> chamber A2 (Tel -)

9.7 ONLY for vehicles with Bose Surround sound system (I No. 680).
9.7.1 Press out socket contacts of RD and BN/RD 0.35(squared) lines using press-out tool 90207 to remove them from the plug socket on the vehicle side for the microphone wire harness.
9.7.2 Insert socket contacts of RD and BN/RD 0.35(squared) lines into 4-pin plug socket (microphone, 999.650.512.40):
RD 0.35(squared) line -> chamber A3 (VCN +)
BN/RD 0.35(squared) line -> chamber A4 (VCN -)

9.8 Crimp cable ring eyelet A6 - 1 (999.650.529.00) to the BN 0.5(squared) shielding line of the microphone wire harness.





9.9 Fit cable ring eyelet A6 - 1 to ground point "5" --> Figure 21 -A- of the dashboard bracket.

10. Complete the vehicle.
10.1 Install A-pillar trim panel at the bottom left and fit fuse carrier cover.
10.2 Install trim panel under dashboard. --> Workshop Manual '701919 Removing and installing trim panel under dashboard - section on "Installing"'
10.3 Install air guide duct for right footwell, center air duct in dashboard and center air vents. --> Workshop Manual '855319 Removing and installing centre air jet - section on "Installing"'
10.4 Install PCM display and operator control unit. --> Workshop Manual '911019 Removing and installing PCM display and operator control unit - section on "Installing"'
10.5 Secure floor support and carpeted floor close to the A-pillar at the bottom right.
10.6 Install glove compartment. --> Workshop Manual '681519 Removing and installing glove compartment - section on "Installing"'
10.7 Install right wiring duct.
10.8 Install inner door sill trim at the right. --> Workshop Manual '680519 Removing and installing inner door sill trim - section on "Installing"'
10.9 Install rear side trim panel at the right. --> Workshop Manual '707519 Removing and installing side trim panel - section on "Installing"'

DANGER:
Safety-related threaded joints may become loose
- Danger of injury if front seat is not screwed down correctly
--> Always replace screws for the front seat after service or repair work.
--> Micro-self-locking or self-tapping screws must be used "as is" [e.g, no lubricant or screw-locking agent, etc.).


10.10 Install right front seat with new Torx screws (four M10 x 28; see Material). --> Workshop Manual '720119 Removing and installing front seat - section on "Installing"'
Tightening torque: 50 Nm (37 ftlb.)
10.11 Seal the hole on the service grommet with adhesive compound.
10.12 Install battery. --> Workshop Manual '270619 Removing and installing battery - section on "Installing"'
10.13 Connect battery charger.
10.14 Install cover at the left and right close to the cowl panel. --> Workshop Manual '852219 Removing and installing cover - section on "Installing"'
10.15 Install luggage compartment cover. --> Workshop Manual '703019 Removing and installing luggage compartment cover - section on "Installing"'

WARNING:
Voltage drop while programming control units
- Irreparable damage to control unit
- Damage to control unit
--> Ensure that the power supply for the Porsche System Tester is not interrupted during programming.
--> Connect a battery charger with a current rating of at least 40 A to the vehicle battery.
--> Prior to disconnecting the control unit, switch off the ignition and remove the ignition key.


NOTE:
The PIWIS Tester 9718 instructions take precedence and in the event of a discrepancy these are the instructions that must be followed. Deviations may occur with later software versions.
The procedure described here has been structured in general terms; different text or additions may appear in the PIWIS Tester 9718.

11. Code telephone control unit using the PIWIS Tester P 9718.
11.1 PIWIS Tester P 9718 must then be connected and ignition switched on.
11.2 Select and code vehicle and "Instrument cluster" control unit.
11.3 Select and code "Gateway" control unit.
11.4 Select and code "PCM2.1 MMI" control unit.
11.5 Select and code "Telephone" control unit.
11.6 Read out and erase PCM2.1 fault memory.
11.7 Once programming is complete, read out the fault memories of all systems, correct any existing faults, and erase the fault memories.

12. Carry out function test.
13. Disconnect battery charger and close the lid.





References:
--> Workshop Manual '270619 Removing and installing battery'
--> Workshop Manual '508719 Removing and installing cover'
--> Workshop Manual '680519 Removing and installing inner door sill trim'
--> Workshop Manual '681519 Removing and installing glove compartment'
--> Workshop Manual '701919 Removing and installing trim panel under dashboard'
--> Workshop Manual '703019 Removing and installing luggage compartment cover'
--> Workshop Manual '707519 Removing and installing side trim panel'
--> Workshop Manual '720119 Removing and installing front seat'
--> Workshop Manual '852219 Removing and installing cover'
--> Workshop Manual '855319 Removing and installing centre air jet'
--> Workshop Manual '911019 Removing and installing PCM display and operator control unit'
--> Workshop Manual '914719 Removing and installing radio antenna'
--> Workshop Manual '915719 Removing and installing microphone for telephone'





Disclaimer