Operation CHARM: Car repair manuals for everyone.
Manuals through 2025 now available!

Our trusted friends have launched a new website named LEMON, which has newer manuals. It also contains all the CHARM manuals.

LEMON is the spiritual successor to CHARM, I recommend you try it!

Link: lemon-manuals.la or lemon-manuals.org.ua

(Some people have issue connecting. LEMON is investigating. For now, use Firefox or change your DNS server)

Or, hide this message: temporarily or permanently

Differential Assembly: Adjustments


WM 390815 Adjusting the drive set

Tools

















Technical values





Preliminary work

1. Remove transmission. -> 343519 Removing and installing transmission - section on "Removing" 34351903 Removing and installing transmission
2. Tighten the transmission using engine support 9589 or engine and gear support VW 540 at the assembly support.





Transmission on assembly support

3. Drain transmission oil. -> 340155 Changing transmission oil - section on "Draining" Removal and Replacement
4. Disassemble the transmission. -> 343537 Disassembling and assembling transmission - section on "Disassembling" 34353750 Disassembling and assembling transmission

Information

General information

Information

Careful adjustment of the output shaft and crown wheel are crucial to the service life and smooth running of the final drive. Therefore, output shafts and crown wheels are paired with each other as early as during production and are checked by special machines to ensure a good position of the contact pattern and that there is low noise in both rotation directions.

The deviation r refering to the master gauge Ro is measured for the drive sets supplied as spare parts and is then recorded on the outer circumference of the crown wheel. Every drive set (consisting of output shaft and crown wheel) must only be replaced as a complete unit.

Adjustment and labelling of the After Sales Service drive set





After Sales Service drive set





Adjustment and labelling of the standard drive set

Information

In the standard drive set, the position of the output shaft is determined by the dimension Po(centre of the crown wheel to the rear of the output shaft head). The dimension r on the crown wheel and the pairing number are not specified. Therefore, before removing the output shaft, an actual measurement must be made if parts which directly affect the installation position of the output shaft are to be replaced.





Standard drive set





Adjustment overview

Information

When carrying out assembly work on the final drive, re-adjustment of the output shaft and crown wheel or drive set is necessary only if parts are being replaced which directly influence the adjustment of the final drive. To avoid unnecessary adjustment work, proceed according to the following table:





1) If the transmission housing is replaced, the drive shaft must also be adjusted. -> 354015 Adjusting the drive shaft 35401550 Adjusting the drive shaft

Sequence for re-adjusting the drive set

Information

The aim of the adjustment is to regain the position of maximum smooth running which was determined on the testing machine.

The greatest possible care and cleanliness during all assembly work and measuring procedures are essential requirements for perfect results.





Setting





If the output shaft and crown wheel have to be adjusted, it is best to follow the sequence below in the interest of rational working:
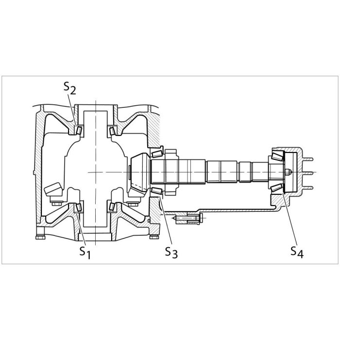
1. Determine total disc thickness Stot (S1 + S2) for the preload of the taper roller bearings and differential in accordance with regulations.
2. Calculate the total disc thickness Stot (S3 + S4).
3. Divide up the total disc thickness Stot (S3 + S4) so that the measurement from the crown wheel centre to the front of the output shaft corresponds to the installation dimension R measured during production.
4. Divide up the total disc thickness Stot (S1 + S2) so that the stipulated circumferential backlash is present between the crown wheel and output shaft.

Determining the installation position of the output shaft (actual measurement)

Determining the installation position of the output shaft

Information

This work must be carried out only if the deviation r is not given on the crown wheel and if parts which directly influence the output shaft position are to be replaced. These parts are: both taper roller bearings for the drive shaft and the transmission housing.

1. Remove differential. -> 390919 Removing and installing differential - section on "Removing" Removal and Replacement
2. Prepare measuring mandrel VW 385/ 1. => see figure





Preparing measuring mandrel





3. Complete measuring mandrel VW 385/ 1. A dial-gauge extension of approx. 12 mm in length must be fitted in the gauge plunger VW 385/14.





Completing the measuring mandrel

4. Set the master gauge 35-85 mm VW 385/30 to the dimension R0 = 59.65 mm and place on the measuring mandrel VW 385/ 1.
5. Zero the dial gauge with approx. 1 mm preload.
6. Place final-dimension plate VW 385/33 on the output shaft head.





Final-dimension plate

7. Remove master gauge 35-85 mm VW 385/30 and insert measuring mandrel VW 385/ 1 into the housing.
8. Put on the cover for the final drive and secure it with at least four screws.





9. Pull out the second centring screw via the movable setting collar far enough so that the measuring mandrel can still just be turned manually.

Information

Record the measured value r.

After replacing the parts, adjust the output shaft as described. When doing so, use the deviation r determined when measuring the adjusting shim S3.

10. Turn the measuring mandrel until the dial gauge tip touches the end plate on the output shaft head and displays the maximum deflection (reversing point). The measured value is the actual deviation r.

Calculating disc thickness S3 and S4

Calculating the total disc thickness "Stot" (S3 + S4)

Information

In practice, it has been shown that the disc thickness S3 often remains constant when replacing the output shaft. Therefore, only the disc thickness S4 must be calculated again. In any case, the result must be checked.

Before beginning adjusting and measuring work, the sealing surfaces of the transmission housing and cover must be cleaned carefully.

1. Remove outer bearing ring from transmission cover -> 345537 Disassembling and assembling transmission cover 34553750 Disassembling and assembling transmission cover. The rubber washer remains in the transmission cover.
2. Remove adjusting shims S4 from the transmission cover and fit the outer bearing ring again.

Information

If the output shaft is already assembled, it is not necessary to disassemble it.

3. Fit the taper roller bearing on the output shaft, secure lower taper roller bearing and install output shaft. -> 343537 Disassembling and assembling transmission 34353750 Disassembling and assembling transmission





Bearing on output shaft

4. If the transmission cover has been removed, mount transmission cover and screw in screws.





5. Turn the output shaft several times by hand so that the taper roller bearings settle.
6. Assemble measuring tool. => see figure





Measurement setup

7. Press output shaft completely in the direction of transmission cover.
8. Zero the dial gauge with approx. 1 mm preload.
9. Press output shaft with screwdriver in the direction of transmission housing.
10. Read dial gauge and record result.

Repeat the measurement procedure several times and compare the values read.

Example for value read: 0.70 mm

Because the disc thickness S3 has not been changed, the following particular disc thickness is installed completely as adjusting shim S4.

Stot = measured result + compression





11. Remove outer bearing ring from transmission cover, insert new disc S4 (0.85 mm in example) and fit outer bearing ring again. -> 345537 Disassembling and assembling transmission cover 34553750 Disassembling and assembling transmission cover

Checking disc thickness S4

Information

The pre-tension of the taper roller bearing is determined using the disc thickness S4 together with the disc thickness S3, which was already calculated and used correctly.

1. Place the transmission housing on the workbench, and insert the output shaft.
2. Position transmission cover and screw in screws.





3. Turn transmission and place on transmission cover.

Information

Pre-loading the taper roller bearing increases the force necessary to turn the shaft. Therefore, a hexagon-head bolt can be inserted in the thread of the shaft head to turn the output shaft, and turned at the hexagon.

4. Turn the output shaft several times so that the taper roller bearing settles.
5. Assemble measuring tool. => see figure





Measurement setup

6. Zero the dial gauge with approx. 1 mm preload.
7. Undo the screws of the transmission cover and read off the dial gauge. If the adjusting shims were selected correctly, the dial gauge must display a value between 0.08 mm and 0.15 mm.

If the value read is not between 0.08 mm and 0.15 mm, the adjusting shim S4 must be changed accordingly and the measurement taken again.

Checking disc thickness S3

Information

The disc thickness S3, together with disc thickness S4, determines the distance between the output shaft and crown wheel as well as the pre-tension.

Information

Using the master gauge, the setpoint dimension R is adjusted for the distance from pinion to crown wheel. The setpoint dimension for the distance is calculated from the total of the design dimension R0 = 59.65 mm and the deviation r, which is either specified on the crown wheel or has been determined by the actual value measurement (example: 0.40 mm).

1. Insert output shaft, position transmission cover and screw in screws.





Information

Pre-loading the taper roller bearing increases the force necessary to turn the shaft. Therefore, a hexagon-head bolt can be inserted in the thread of the shaft head to turn the output shaft, and turned at the hexagon.

2. Turn the output shaft several times so that the taper roller bearing settles.
3. Remove differential. -> 390919 Removing and installing differential - section on "Removing" Removal and Replacement
4. Prepare measuring mandrel VW 385/ 1. => see figure





Preparing measuring mandrel





5. Complete measuring mandrel VW 385/ 1. A dial-gauge extension of approx. 12 mm in length must be fitted in the gauge plunger VW 385/14.





Completing the measuring mandrel

6. Set the master gauge 35-85 mm VW 385/30 to the dimension R0 + r (in the example: 59.65 mm + 0.40 mm = 60.05 mm) and position measuring mandrel VW 385/ 1.
7. Zero the dial gauge with approx. 1 mm preload.
8. Place final-dimension plate VW 385/33 on the output shaft head.





Final-dimension plate

9. Remove master gauge 35-85 mm VW 385/30 and insert measuring mandrel VW 385/ 1 into the housing.
10. Put on the cover for the final drive and secure it with at least four screws.





11. Pull out the second centring screw via the movable setting collar far enough so that the measuring mandrel can still just be turned manually.
12. Turn the measuring mandrel until the dial gauge tip touches the end plate on the output shaft head and displays the maximum deflection (reversing point). The measured value is the actual deviation R.

If the actual deviation R is outside the tolerance of +/- 0.04 mm, or if the maximum deflection of the dial gauge deviates from zero by more than 0.04 mm, the adjusting shim S3 must be changed accordingly and the measurement repeated.

Calculating disc thickness S1 and S2

Calculating total disc thickness Stot (S1 + S2)

Information

- The output shaft must be removed in order to determine the preload of the taper roller bearings on the differential. -> 343537 Disassembling and assembling transmission 34353750 Disassembling and assembling transmission

- In practice, it has been shown that the disc thickness S2 often remains constant when replacing the parts mentioned above. Therefore, only the disc thickness S1 must be calculated again. In any case, the result must be checked.

- When replacing the transmission housing, the adjusting shim S2 must be removed from the old housing and installed in the new housing. -> 343737 Disassembling and assembling transmission housing 34373750 Disassembling and assembling transmission housing

- Before beginning adjusting and measuring work, the sealing surfaces of the transmission housing and cover must be cleaned carefully.

Re-adjustment of the crown wheel is necessary if any of the following parts is replaced:
- Transmission housing
- Cover for final drive
- Taper roller bearing for the differential
- Differential housing
- Drive set

1. Remove sealing ring, taper roller bearing outer ring and adjusting shim from the cover for the final drive. -> 343737 Disassembling and assembling transmission housing 34373750 Disassembling and assembling transmission housing
2. Install the taper roller bearing outer ring without adjusting shim. -> 343737 Disassembling and assembling transmission housing 34373750 Disassembling and assembling transmission housing
3. Fit differential without speedometer-drive gear into the transmission housing and put on the cover. -> 343737 Disassembling and assembling transmission housing 34373750 Disassembling and assembling transmission housing
4. Fit adjustment device VW 521/4 and clamping sleeve VW 521/12.





Measurement setup

5. Place the final-dimension plate 50 mm VW 385/17 on the collar of the differential.
6. Secure the dial gauge holder VW 387 with the dial gauge and extension to the housing, and set to 0 with 1 mm preload.





Measurement setup

Information

Do not turn the differential when measuring, otherwise the measurement result will be falsified.

7. Move the differential up and down on the adjustment device VW 521/4. Read off and record the play on the dial gauge.

Example for value read: 0.75 mm

Because the disc thickness S2 has not been changed, the following particular disc thickness is installed completely as adjusting shim S1.

Stot = measured result + compression





8. Install disc S1 and fit cover for final drive. -> 343737 Disassembling and assembling transmission housing 34373750 Disassembling and assembling transmission housing
9. Measure the friction torque with a commercially available torque gauge (measuring range 0.600 Ncm (0. 53 inlb.)). It must be 250.350 Ncm (22.31 inlb.) in the case of new taper roller bearings and it must be 30.60 Ncm (2.6.5.3 inlb.) in the case of run-in taper roller bearings (taper roller bearings filled with transmission oil).





Torque gauge

When re-adjusting the drive set, also adjust the output shaft and perform a check. => Calculating total disc thickness "Stot" (S3 + S4)=> Checking disc thickness S4=> Checking disc thickness S3

Checking disc thickness S1 and S2 via circumferential backlash

1. Install the output shaft with the adjusting shims S3 and S4. -> 343537 Disassembling and assembling transmission 34353750 Disassembling and assembling transmission
2. Insert differential and fit transmission cover. -> 390919 Removing and installing differential - section on "Installing" Removal and Replacement
3. Screw together adjustable measuring lever VW 388 with adjustment device VW 521/4 and set the lever length of the gauge plunger to -a = 72 mm-.





Measurement setup

4. Insert adjustment device VW 521/4 and clamping bush VW 521/12 into the differential and clamp tightly.
5. Turn the differential several times in both directions so that the taper roller bearings can settle.
6. Fit the dial gauge holder with the dial gauge so that a right angle is produced between the dial gauge axis and the measuring lever.

If the friction coefficient of the output shaft for turning from stop to stop is too low, the holder 3177 -A- must be fitted so that an exact circumferential backlash can be measured. The differential can only be inserted in such a way that the aperture of the bevel gears faces the output shaft.





Stop

7. Turn the crown wheel to the stop and set the dial gauge to zero.
8. Turn back the crown wheel to the stop, read off the circumferential backlash on the dial gauge, and record value.

Information

- If the measured values deviate from each other by more than 0.05 mm, the installation of the crown wheel or the drive set itself is faulty. The assembly work must then be checked, or if necessary, the drive set itself must be replaced.

- The measured circumferential backlash must be between 0.12 mm and 0.22 mm. If the measured circumferential backlash is less than 0.12 mm, the disc thickness S1 must be reduced and the disc thickness S2 must be increased accordingly. If the circumferential backlash is greater than 0.22 mm, the disc thickness S2 must be reduced and the disc thickness S1 must be increased accordingly.

9. Further rotate crown wheel 90° each time, three times, repeating the measurement each time. With the holder 3177 fitted, install the differential offset by 180° and repeat the measuring procedure.

Subsequent work

1. Assemble transmission. -> 343537 Disassembling and assembling transmission - section on "Assembling" 34353750 Disassembling and assembling transmission
2. Fill with transmission oil. -> 340155 Changing transmission oil - section on "Filling" Removal and Replacement
3. Remove transmission from assembly support.
4. Install transmission. -> 343519 Removing and installing transmission - section on "Installing" 34351903 Removing and installing transmission