Operation CHARM: Car repair manuals for everyone.
Manuals through 2025 now available!

Our trusted friends have launched a new website named LEMON, which has newer manuals. It also contains all the CHARM manuals.

LEMON is the spiritual successor to CHARM, I recommend you try it!

Link: lemon-manuals.la or lemon-manuals.org.ua

(Some people have issue connecting. LEMON is investigating. For now, use Firefox or change your DNS server)

Or, hide this message: temporarily or permanently

Ambient Pressure Sensor

Ambient Pressure Sensor

Ambient Pressure Electrical Check

General Description
The purpose of this diagnosis is to detect electrical faults. The input signal is analog from a pressure sensor into the control unit and has to be in a calibrate able range. Short circuit to ground, short circuit to voltage battery and an open circuit can be detected.

Error Symptoms
- Short circuit to voltage battery
- Short circuit to ground or open load

Flowchart: Ambient Pressure Electrical Check






Ambient Pressure Gradient Check

General Description
In the ambient pressure gradient check the difference calculated out of the measured ambient pressure and the moving mean value of the ambient pressure is compared to a calibrate able threshold. If the delta exceeds the threshold the error is set.

Error Symptom
Signal not plausible

Flowchart: Ambient Pressure Gradient Check






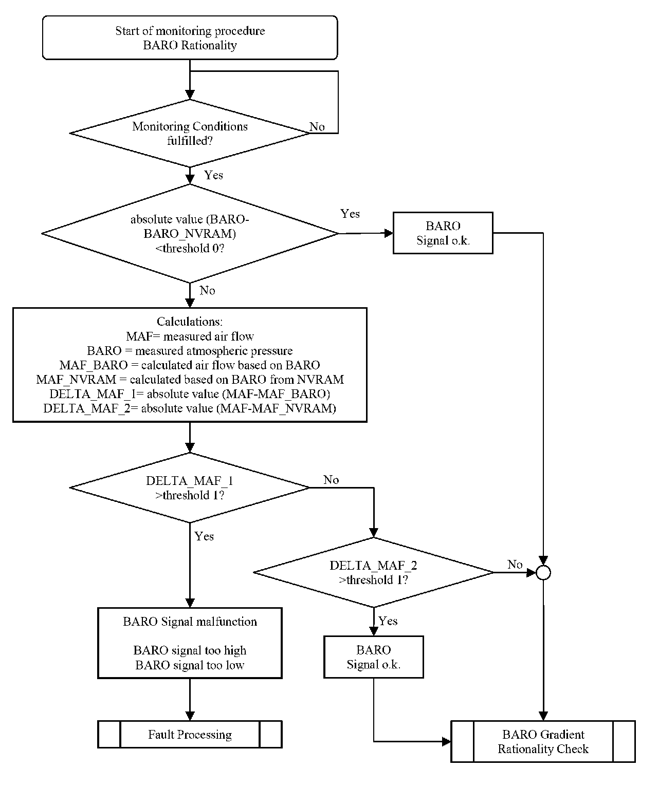
Ambient Pressure Rationality Check

General Description
At engine start the difference between the measured atmospheric pressure and the atmospheric pressure, read out from NVRAM, is compared to a calibrate able threshold. If this difference exceeds the threshold, first a difference between the measured air flow and the calculated air flow based on the measured atmospheric pressure and second a difference between the measured air flow and the calculated air flow based on the atmospheric pressure from NVRAM are calculated. Then it is evaluated with the before calculated differences whether there is an atmospheric pressure signal malfunction. In any case if no atmospheric pressure signal malfunction is detected the BARO Gradient Rationality Check is still executed.

Error Symptom
Signal not plausible

Flowchart: Ambient Pressure Rationality Check at Start