Operation CHARM: Car repair manuals for everyone.
Manuals through 2025 now available!

Our trusted friends have launched a new website named LEMON, which has newer manuals. It also contains all the CHARM manuals.

LEMON is the spiritual successor to CHARM, I recommend you try it!

Link: lemon-manuals.la or lemon-manuals.org.ua

(Some people have issue connecting. LEMON is investigating. For now, use Firefox or change your DNS server)

Or, hide this message: temporarily or permanently

Part 1



Tightening torques, tightening sequences, assembly overviews for V8 4.8 l DFI naturally aspirated and turbo engine up to October 2008





















































Cylinder head screws can be re-used

Information

Component changes for model year 2009 as of October 2008

Information
Always read the information concerning modified tightening specifications and component changes relating to repairs provided for specific engine numbers in the Information section!

Technical values

Overview

Information
The tightening steps in the tightening sequences relate to tightening screws uniformly, i.e. all affected screws must first be tightened uniformly to the first torque value, then all screws are tightened one stage further, and so on.
Replace all O-rings following removal!

The torques in the table below generally apply to screws that are not specifically listed

The bolt quality is indicated on the screw head at the top as a decimal number, e.g. "8.8" or "12.9".





Aluminium screws





Engine - Crankcase, suspension up to October 2008





Upper part of crankcase

1 - Upper part of crankcase
2 - Lid
3 - Sealing ring
4 - Screw plug on upper part of crankcase - Tightening torque: 75 Nm (56 ftlb.)
5 - Dowel sleeve
6 - Oil spray jet
7 - Screw, M6 x 16 - Tightening torque: 10 Nm (7.5 ftlb.)
A - Direction of travel





Lower part of crankcase

1 - Lower part of crankcase
2 - Straight pin, 6 x 18
3 - O-ring
4 - Applying sealant; Drei-Bond 2210 (000.043.204.58 status 04/07)
5 - Thrust-bearing screw M11; tighten screws within 5 minutes; observe tightening sequence. - Initial tightening: 30 Nm (22 ftlb.) - Torque angle: 90 degrees
6 - Thrust-bearing screw M10; tighten screws within 5 minutes; observe tightening sequence. - Initial tightening: 22 Nm (16 ftlb.) - Torque angle: 60 degrees
7 - M8 x 70; (cross bolt connection); observe tightening sequence - Tightening torque: 23 Nm (17 ftlb.)
8 - Screw, M8 x 35 - Tightening torque: 23 Nm (17 ftlb.)
9 - Screw, M8 x 50 - Tightening torque: 23 Nm (17 ftlb.)
10 - Dowel sleeve
A - Direction of travel





Sealant application

1 - Wipe off sealant residues after fitting
A - Direction of travel





Tightening sequence for thrust-bearing screws

1 through 20 - Tightening sequence for M11 and M10 screws - Observe different torques!
A - Direction of travel





Tightening sequence for securing lower part of crankcase to upper part of crankcase (cross bolt connection)





Left bracket for auxiliary units and engine mounting

1 - Bracket for auxiliary units/engine mounting
2 - Screw, M10 x 45 - Tightening torque: 65 Nm (48 ftlb.)
3 - Hydraulic mount, left
4 - Engine carrier
5 - Screw, M10 x 65 - Tightening torque: 60 Nm (44 ftlb.)
6 - Dowel sleeve
7 - Nut, M12 x 1.5 - Tightening torque: 75 Nm (56 ftlb.)





Right bracket for auxiliary units and engine mounting

1 - Engine carrier, cylinders 1 to 4
2 - Screw, M10 x 45 - Tightening torque: 65 Nm (48 ftlb.)
3 - Hydraulic mount, right
4 - Engine carrier
5 - Screw, M10 x 65 - Tightening torque: 60 Nm (44 ftlb.)
6 - Nut, M12 x 1.5 - Tightening torque: 75 Nm (56 ftlb.)
7 - Bores for screws, M10 x 45
A - Installation view of engine carrier on crankcase





Vent line

1 - Vent line to cylinder head/crankcase/oil pump
2 - O-ring
3 - Screw, M6 x 12 - Tightening torque: 10 Nm (7.5 ftlb.)
4 - Check valve
A - Direction of travel





Oil mist separator for positive crankcase ventilation (M48/51 turbo engine)

1 - Engine ventilation - Tightening torque: 10 Nm (7.5 ftlb.)
2 - Engine ventilation line
3 - Tank ventilation
4 - Holder - Tightening torque: 13 Nm (9.5 ftlb.)





Oil mist separator for positive crankcase ventilation (M48/01 naturally aspirated engine)

1 - Engine ventilation - Tightening torque: 10 Nm (7.5 ftlb.)
2 - Engine ventilation line
3 - Screw, M6 x 12 - Tightening torque: 10 Nm (7.5 ftlb.)
4 - Lid with seal
5 - Engine ventilation line
6 - Line
7 - Tank ventilation with holder - Tightening torque: 13 Nm (9.5 ftlb.)





Positive crankcase ventilation, M48/51 Turbo

1 - Check valve
2 - Engine ventilation line
3 - Positive crankcase ventilation line to pressure pipe
4 - Holder (see Belt tensioner/belt drive)
5 - Line





Positive crankcase ventilation (PCV), M48/51 Turbo

1 - Ventilation pipe with sealing ring - Tightening torque: 13 Nm (9.5 ftlb.)
2 - Screw, M6 x 12 - Tightening torque: 10 Nm (7.5 ftlb.)
A - Installation view of ventilation pipe

Group 13 up to October 2008





Crankshaft

1 - Crankshaft
2 - Straight pin, 6 x 20
3 - Spring, 5 x 6.5
4 - Thrust washer (grooves facing out)
5 - Main bearing shell, upper
6 - Main bearing shell, lower
7 - Shaft sealing ring - Do not touch sealing ring lip! Clean crankshaft flange and oil lightly
8 - View of crankshaft flange
9 - Crankshaft bearing classification (three types) Y Yellow; B Blue, R Red (example: YYYYY-BBBB; 5 main shaft bearings with yellow marking, 4 double (8) connecting rod bearings with blue marking) - For numbering, see A
A - Direction of travel (main bearing 1 is the first in direction of travel against output)





Belt drive

1 - Deflection roller - Tightening torque: 32 Nm (24 ftlb.)±3 Nm (±2 ftlb.)
2 - Hydraulic belt tensioner; tensioner to lever - Tightening torque: 32 Nm (24 ftlb.)±3 Nm (±2 ftlb.) tensioning roller to tensioning lever - Tightening torque: 32 Nm (24 ftlb.)±3 Nm (±2 ftlb.)
3 - Screw, M8 x 96; complete lever to timing-case cover and cylinder head - Tightening torque: 32 Nm (24 ftlb.)±3 Nm (±2 ftlb.) belt tensioner and timing-case cover to bracket - Tightening torque: 32 Nm (24 ftlb.)±3 Nm (±2 ftlb.)
4 - Deflection roller - Tightening torque: 32 Nm (24 ftlb.)±3 Nm (±2 ftlb.)
5 - Dual poly V-belt





Piston, connecting rod

1 - Piston-ring set; oil with engine oil; TOP marking facing upwards; oil scraper ring down
2 - Piston; different on naturally aspirated and turbo engines; combustion chamber recess facing center of engine; left and right different; direction of travel arrow in direction of travel
3 - Piston-pin circlip (positioned at 6 o'clock or 11 o'clock)
4 - Piston pin; oil
5 - Connecting rod
6 - Connecting rod bolt; replace as it must be tightened in the plastic area; oil bolt - Tightening torque: 8 Nm (6 ftlb.)+2 Nm (+1.5 ftlb.) - Tightening torque: 20 Nm (15 ftlb.) - Tightening torque: 40 Nm (30 ftlb.) - Torque angle: 90 degrees
7 - Connecting rod bearing shells; oil with engine oil





Connecting-rod assembly, bearing shells

A - View A (identification area for connecting-rod number; fit connecting rod with identification area facing exhaust side; markings on rod and lid must be on the same side)
B - View B (fit bearing shells flush and press in by hand)
C - View C (fit bearing shells flush and press in by hand)





Piston classification

1 - Inspection stamp (supplier)
2 - Arrow marking in direction of travel
3 - Porsche short numeric code without main or middle number
4 - Cylinder bank identification
5 - Marking area for weight group
6 - Marking area for dimension group
7 - Barcode 128 (short numeric code (without main group) and weight group)
8 - Direction of travel arrow
9 - Short numeric code (supplier)





Radial shaft seal

1 - Radial shaft seal (use protection cap for radial shaft seal for fitting; only fit when crankcase is screwed on)
2 - Crankcase
3 - Crankshaft
4 - Radial shaft seal (sectional view)
A - Direction of travel





Pulleys

1 - Water pump pulley
2 - Screw, M8 x 16 - Tightening torque: 23 Nm (17 ftlb.)
3 - Vibration damper
4 - Screw, M18 x 1.5 x 72; use new screw; - Tightening torque: 20 Nm (15 ftlb.) - Tightening torque: 50 Nm (37 ftlb.) - Tightening torque: 100 Nm (74 ftlb.) - Torque angle: 180 degrees
5 - Pulley on power-steering pump
6 - Screw, M8 x 16 - Tightening torque: 23 Nm (17 ftlb.)
7 - Tandem pump pulley

Engine - Cylinder head, valve control up to October 2008





Valves (cylinder bank 5 to 8)

1 - Intake valve
2 - Valve-seat ring (intake)
3 - Valve guide
4 - Lower valve-spring plate (intake)
5 - Valve-stem seal
6 - Set of valve springs (intake)
7 - Upper valve-spring plate (intake)
8 - Valve collet
9 - Upper valve-spring plate (outlet)
10 - Set of valve springs (M48/51 outlet); outlet valve spring (M48/01)
11 - Lower valve-spring plate (outlet)
12 - Valve-seat ring (outlet)
13 - Outlet valve





Cylinder head 1 to 4

1 - Cylinder head 1 to 4
2 - Cylinder head gasket 1 to 4
3 - Screw, M8 - Tightening torque: 23 Nm (17 ftlb.)
4 - Lid
5 - Stopper
6 - Stopper
7 - Restrictor for valve lift control - Tightening torque: 1.5 Nm (1.0 ftlb.)
8 - Cylinder-head screws - For tightening specifications, see Tightening sequence for cylinder head
9 - Spark plug; for refitting - Tightening torque: 25 Nm (19 ftlb.)+3 Nm (+2 ftlb.) if fitting new spark plugs - Tightening torque: 30 Nm (22 ftlb.)+3 Nm (+2 ftlb.)





Cylinder head 5 to 8

1 - Cylinder head 5 to 8
2 - Screw plug - Tightening torque: 5 Nm (3.5 ftlb.)
3 - Spark plug; for refitting - Tightening torque: 25 Nm (19 ftlb.)+3 Nm (+2 ftlb.) if fitting new spark plugs - Tightening torque: 30 Nm (22 ftlb.)+3 Nm (+2 ftlb.)
4 - Cylinder head gasket 5 to 8
5 - Stopper
6 - Restrictor for valve lift control - Tightening torque: 1.5 Nm (1.0 ftlb.)
7 - Stopper
8 - Lid
9 - Cylinder-head screws - For tightening specifications, see Tightening sequence for cylinder head





Tightening sequence for cylinder head

1 through 10 - 1st initial tightening - Tightening torque: 30 Nm (22 ftlb.) 2nd initial tightening - Tightening torque: 50 Nm (37 ftlb.) loosen by 2 turns - Torque angle: 72 degrees; 1st turn - Tightening torque: 30 Nm (22 ftlb.) 2nd turn - Tightening torque: 30 Nm (22 ftlb.) 3rd turn and final tightening (torque angle) - Torque angle: 110 degrees





Studs for cylinders 1 to 4, catches

1 - Screw plug - Tightening torque: 5 Nm (3.5 ftlb.)
2 - Threaded bolt - Fit with medium-strength securing liquid! For details of visible length/screw-in depth, see below
3 - Sealing ring
4 - Screw plug - Tightening torque: 15 Nm (11 ftlb.)
5 - Stopper
24-1.0 - Visible length on turbo engine: 24 mm; visible length on naturally aspirated engine: 17 mm
arrow - Oil bearing surfaces on camshafts with engine oil
- Screw plug (not shown) - instead of turbocharger oil line on naturally aspirated engine - Tightening torque: 15 Nm (11 ftlb.)





Studs for cylinders 5 to 8, catches

1 - Stopper
2 - Screw plug - Tightening torque: 15 Nm (11 ftlb.)
3 - Sealing ring
4 - Threaded bolt - Fit with medium-strength securing liquid! For details of visible length/screw-in depth, see below
24-1.0 - Visible length on turbo engine: 24 mm; visible length on naturally aspirated engine: 17 mm
arrow - Oil bearing surfaces on camshafts with engine oil





Valve cover seals, cylinders 1 to 4

1 - Valve cover for cylinders 1 to 4 (align over bar ignition modules)
2 - Oil cap
3 - Screw, M6 x 16 - Tightening torque: 10 Nm (7.5 ftlb.)
4 - Hall sender
5 - O-ring
6 - Valve cover seal
7 - Valve cover seal, inner
8 - Seal for hydraulic valve for camshaft control





Valve cover seals, cylinders 5 to 8

1 - Valve cover for cylinders 5 to 8 (align over bar ignition modules)
2 - Hall sender
3 - Screw, M6 x 16 - Tightening torque: 10 Nm (7.5 ftlb.)
4 - O-ring
5 - Valve cover seal
6 - Valve cover seal, inner
7 - Seal for hydraulic valve for camshaft control





Tightening sequence for valve cover for cylinders 1 to 4





Tightening sequence for valve cover for cylinders 5 to 8





Bar ignition modules and valve cover, cylinder bank 1 to 4

1 - Valve cover for cylinder bank 1 to 4 (align over bar ignition modules)
2 - Bar ignition module
3 - Bar ignition module screw - Tightening torque: 10 Nm (7.5 ftlb.)
4 - Screw, M6 - Tightening torque: 13 Nm (9.5 ftlb.)
5 - Cap
6 - Screw, M8; (two on eyelet and two on torque support) - Tightening torque: 23 Nm (17 ftlb.)
7 - Eyelet - Tightening torque: 23 Nm (17 ftlb.)
8 - sheet metal holder
A - Direction of travel
- Not shown; design cover on bar ignition modules - Tightening torque: 4.4 Nm (3.0 ftlb.)





Bar ignition modules and valve cover, cylinder bank 5 to 8

1 - Valve cover for cylinder bank 5 to 8 (align over bar ignition modules)
2 - Eyelet
3 - Screw, M8; (two on eyelet) - Tightening torque: 23 Nm (17 ftlb.)
4 - Screw, M6 - Tightening torque: 13 Nm (9.5 ftlb.)
5 - Bar ignition module
6 - Bar ignition module screw - Tightening torque: 10 Nm (7.5 ftlb.)
7 - sheet metal holder
8 - Cap
A - Direction of travel
- Not shown; design cover on bar ignition modules - Tightening torque: 4.4 Nm (3.0 ftlb.)





Camshafts, cylinder bank 1 to 4

1 - Camshaft (outlet)
2 - Camshaft (intake)
3 - Hydraulic valve for variable valve lift control
4 - Screw, M5 x 12 - Tightening torque: 6 Nm (4.5 ftlb.)
5 - Switching tappet (oil with engine oil)
6 - Flat-base tappet (oil with engine oil)
7 - Stopper
8 - Mounting saddle 1 to 4
9 - Stopper
10 - Bearing locations (oil with engine oil)
A - Direction of travel





Camshaft mount, cylinder bank 1 to 4

1 - Screw, M6 x 35 - Tightening torque: 13 Nm (9.5 ftlb.)
2 - Bearing cover
3 - Dowel sleeve
4 - Bearing cover (intake)
5 - Bearing cover (outlet)
6 - Screw, M6 x 70 - Tightening torque: 13 Nm (9.5 ftlb.)
7 - Bearing surfaces (oil with engine oil)
A - Direction of travel





Camshafts, cylinders 5 to 8

1 - Switching tappet (oil with engine oil)
2 - Flat-base tappet (oil with engine oil)
3 - Camshaft (intake)
4 - Hydraulic valve for variable valve lift control
5 - Screw, M5 x 12 - Tightening torque: 6 Nm (4.5 ftlb.)
6 - Camshaft (outlet)
7 - Stopper
8 - Mounting saddle, cylinders 5 to 8
9 - Stopper
10 - Bearing surfaces (oil with engine oil)
A - Direction of travel





Camshaft mount, cylinders 5 to 8

1 - Dowel sleeves
2 - Bearing cover (intake)
3 - Screw, M6 x 70 - Tightening torque: 13 Nm (9.5 ftlb.)
4 - Bearing cover
5 - Screw, M6 x 35 Tightening torque: 13 Nm (9.5 ftlb.)
6 - Bearing cover (outlet)
7 - Bearing surfaces (oil with engine oil)
A - Direction of travel





Camshaft control

1 - Screw, M12 Tighten completely after setting timing!; 1st turn - Tightening torque: 10 Nm (7.5 ftlb.) 2nd turn - Tightening torque: 50 Nm (37 ftlb.) final tightening (torque angle) - Torque angle: 135 degrees
2 - Hexagon sleeve
3 - Camshaft controller
4 - Washer (reusable); replace if disassembled completely
5 - Hydraulic valve for camshaft control
6 - Screw, M5 x 12 - Tightening torque: 6 Nm (4.5 ftlb.)
A - Direction of travel





Camshaft identification on V8 turbo engine M48/51

A - Cylinders 1 to 4
B - Cylinders 5 to 8
1 - Outlet camshaft identification (green)
2 - Intake camshaft identification (blue)
3 - Intake camshaft identification (blue)
4 - Outlet camshaft identification (green)





Camshaft identification on V8 naturally aspirated engine M48/01

A - Cylinders 1 to 4
B - Cylinders 5 to 8
1 - Outlet camshaft identification (green)
2 - Intake camshaft identification (white)
3 - Intake camshaft identification (white)
4 - Outlet camshaft identification (green)





Camshaft bearing cover identification

- All markings can be read from the exhaust side/main diagram applies symmetrically for both cylinder heads
1 - Matching number for cylinder head/intake camshaft bearing cover, cylinder 1 (El)
2 - Matching number for cylinder head/intake camshaft bearing cover, cylinder 2 (E2)
3 - Matching number for cylinder head/intake camshaft bearing cover, cylinder 3 (E3)
4 - Matching number for cylinder head/intake camshaft bearing cover, cylinder 4 (E4)
5 - Matching number for cylinder head/outlet camshaft bearing cover, cylinder 1 (Al)
6 - Matching number for cylinder head/outlet camshaft bearing cover, cylinder 2 (A2)
7 - Matching number for cylinder head/outlet camshaft bearing cover, cylinder 3 (A3)
8 - Matching number for cylinder head/outlet camshaft bearing cover, cylinder 4 (A4)
Pfeil - Direction of travel





Timing chain and sprockets

1 - Double-chain camshaft drive
2 - Camshaft sprocket
3 - Screw, M12 x 140 Tighten completely after setting timing!; 1st turn - Tightening torque: 10 Nm (7.5 ftlb.). 2nd turn - Tightening torque: 50 Nm (37 ftlb.). final tightening (torque angle) - Torque angle: 90 degrees
4 - Deflector rail
5 - Screw, M8 x 35 - Tightening torque: 32 Nm (24 ftlb.)
6 - Camshaft-to-camshaft guide pad
A - Direction of travel





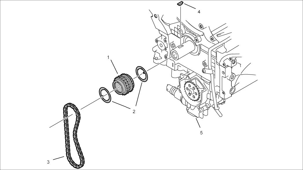
Oil pump chain drive

1 - Crankshaft sprocket
2 - Friction plates/diamond washers; reusable
3 - Oil pump drive chain
4 - Drive in spring wedge with a plastic hammer
5 - Oil pump





Timing chain and chain guide

1 - Threaded peg - Tightening torque: 35 Nm (26 ftlb.)
2 - Threaded peg - Tightening torque: 20 Nm (15 ftlb.)
3 - Guide rail
4 - Tensioning rail
5 - Chain tensioner with seal - Tightening torque: 60 Nm (44 ftlb.)
6 - Pin (for locking the oil-pump tensioning rail)
A - Direction of travel





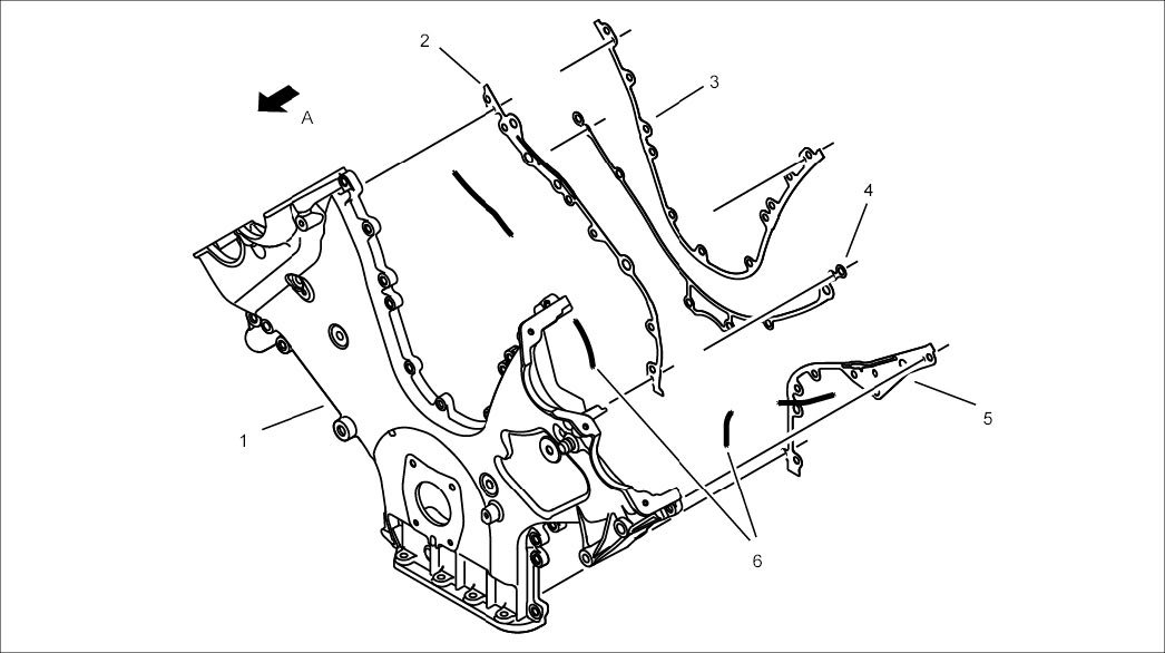
Timing-case cover seals

1 - Timing-case cover
2 - Timing-case cover seal, outer right (fill openings with sealing compound, see 6)
3 - Timing-case cover seal, inner
4 - Timing-case cover seal, rib
5 - Timing-case cover seal, outer left (fill openings with sealing compound, see 6)
6 - Applying sealant to timing chain housing; Loctite 5900 (000.043.204.35 status 04/07)
A - Direction of travel





Applying sealing compound (fill openings in sheet metal seal with sealing compound)





Tightening sequence for timing-case cover

A - Screw, M6 x 25 - Tightening torque: 13 Nm (9.5 ftlb.)
B - Screw, M6 x 50; inner timing-case cover to upper part of crankcase and cylinder head - Tightening torque: 13 Nm (9.5 ftlb.). timing-case cover to cylinder head - Tightening torque: 13 Nm (9.5 ftlb.)
C - Screw, M8 x 50; timing-case cover (chain tensioner position) to upper part of crankcase and cylinder head - Tightening torque: 23 Nm (17 ftlb.)
D - The timing-case cover must be level with the lower part of the crankcase (use steel rule or dial gauge)





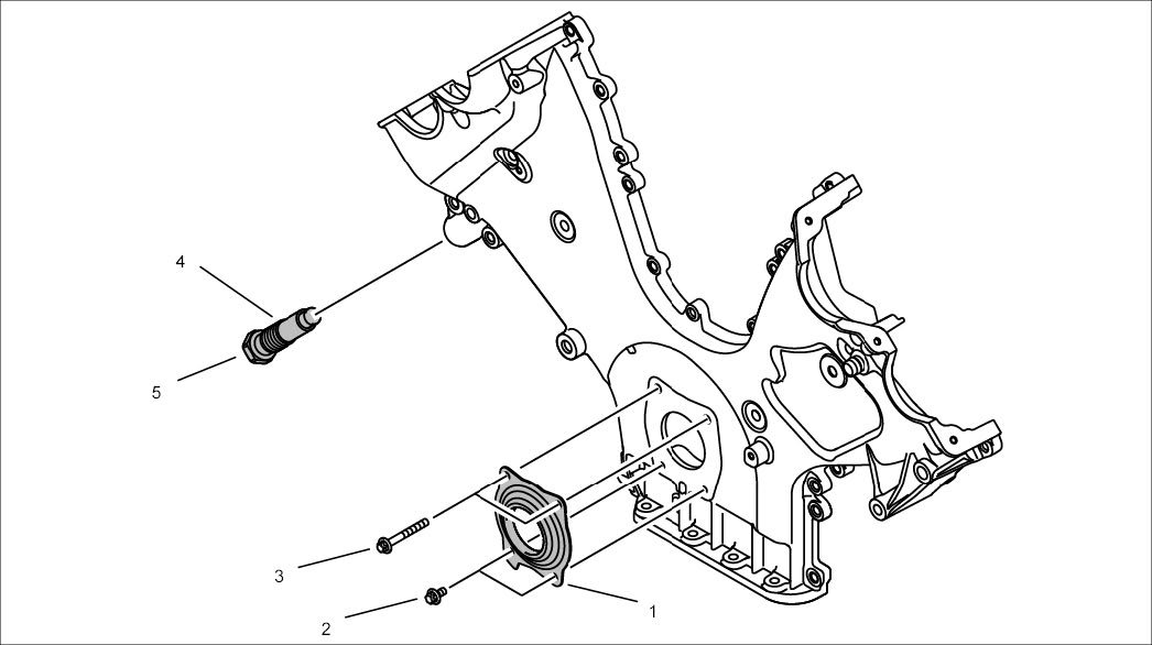
Chain tensioner, sealing flange

1 - Joint flange (oil sealing lip with engine oil); align with sleeve or vibration balancer
2 - Screw, M6 x 12 Tightening torque: 10 Nm (7.5 ftlb.)
3 - Screw, M6 x50 Tightening torque: 10 Nm (7.5 ftlb.)
4 - Sealing ring
5 - Chain tensioner - Tightening torque: 60 Nm (44 ftlb.)

Engine - Lubrication up to October 2008





Oil/coolant heat exchanger, oil filter

1 - Oil guide housing
2 - Oil-filter housing - Tightening torque: 25 Nm (19 ftlb.)
3 - Oil filter
4 - Oil-filter sealing ring
5 - Oil duct adapter (cannot be replaced)
6 - Heat exchanger seal
7 - Oil/coolant heat exchanger
8 - Screw, M6 x 20; self-tapping screws ex-works; metric screws can also be used - Tightening torque: 10 Nm (7.5 ftlb.)
A - Direction of travel





Applying sealant to oil guide housing

1 - Sealant application (geometry, 1-mm bead of sealant)
2 - Dreibond Silikon FD 2210 sealing compound
A - Direction of travel





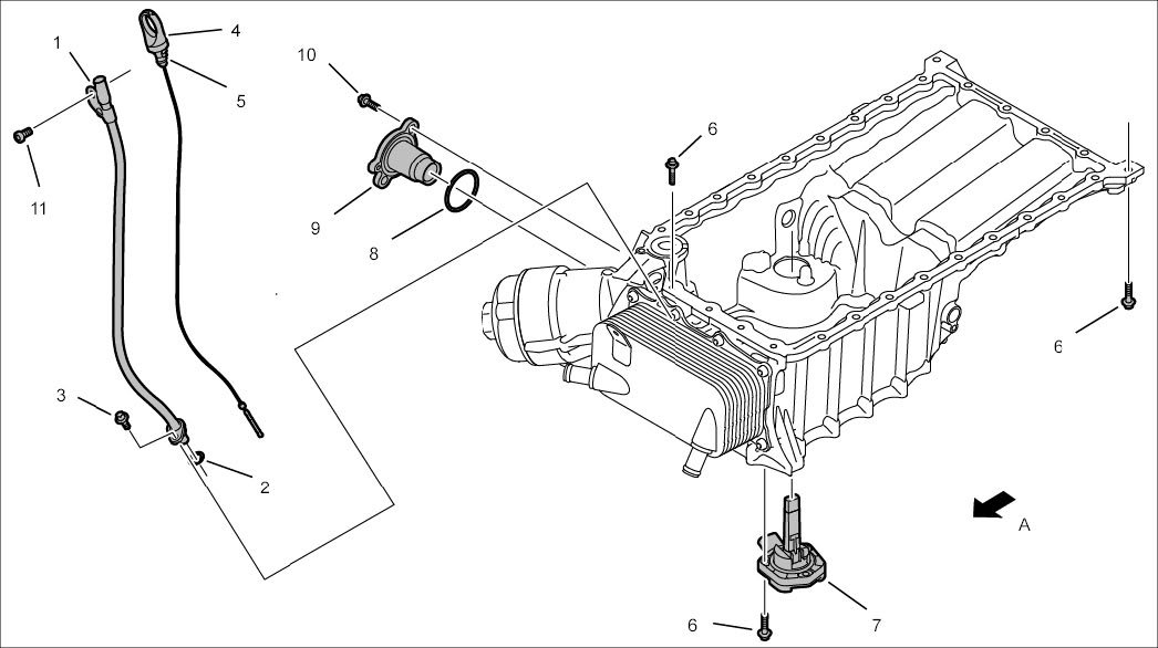
Oil guide housing with accessories

1 - Guide tube
2 - O-ring
3 - Screw, M6 x 16 - Tightening torque: 10 Nm (7.5 ftlb.)
4 - Oil dipstick
5 - O-ring
6 - Screw, M6 x 25; timing-case cover to oil guide housing - Tightening torque: 12 Nm (9 ftlb.). oil level sensor to oil guide housing - Tightening torque: 12 Nm (9 ftlb.) oil guide housing to lower part of crankcase - Tightening torque: 13 Nm (9.5 ftlb.)
7 - Oil-level sensor
8 - O-ring
9 - Sealing flange
10 - Screw, M6 x 20 Tightening torque: 10 Nm (7.5 ftlb.)
11 - Screw, M6 x 16 Tightening torque: 10 Nm (7.5 ftlb.)
A - Direction of travel





Oil pressure sensor and oil pressure measuring point

1 - Oil-pressure sensor adapter
2 - O-ring
3 - Oil-pressure sender with temperature sensor
4 - Screw, M6 x 40 - Tightening torque: 10 Nm (7.5 ftlb.)
5 - Stopper - Tightening torque: 15 Nm (11 ftlb.)
6 - Sealing ring
A - Direction of travel