Ignition Failure Sensor: Description and Operation
MISFIRE MONITORINGMonitoring Function
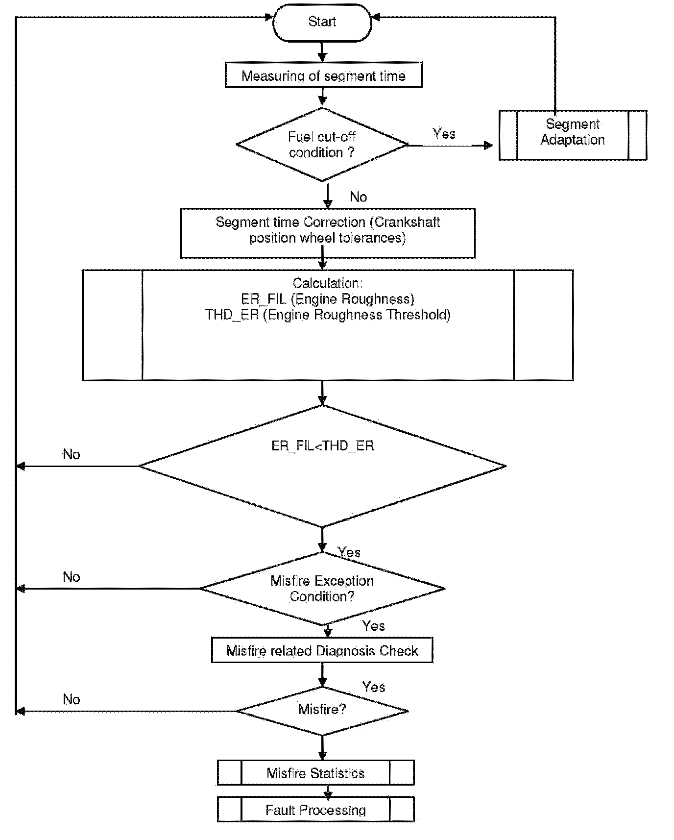
The method of engine misfire detection is based on evaluating the engine speed fluctuations. The engine torque is a function of engine speed, engine load and the moment of inertia. In order to detect misfiring at any cylinder, the torque of each cylinder is evaluated by metering the time between two ignition events, which is a measure for the mean value of the speed of this angular segment. This means, a change of the engine torque results in a change of the engine speed. It is also an influence of the load torque. This means, the influences of different road surface, e.g. pavement, pot holes etc. If the mean engine speed is measured, influences caused by road surfaces have to be eliminated.
This method consists of following main parts:
Data acquisition:
The duration of the crankshaft segments is measured continuously for every combustion cycle.
Sensor wheel adaptation:
Within a defined engine speed range and during fuel cut-off, the adaptation of the sensor wheel tolerances, instead of the misfire detection, is carried out.
With progressing adaptation the sensitivity of the misfire detection is increasing. The adaptation values are stored and taken into consideration for the calculation of the engine roughness.
Calculation of the engine roughness:
The engine roughness is derived from the differences of the segment durations.
Determination of misfiring:
Misfire detection is performed by comparing, the engine roughness threshold value with the engine roughness value. If the threshold is exceeded, single misfire is detected.
Statistics, Fault processing:
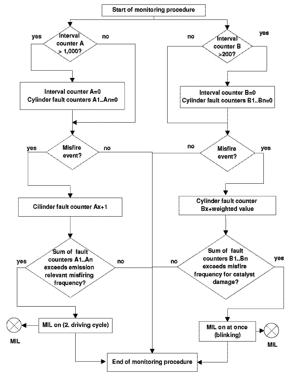
Emission Limit: (e) (3.2.2)
If the sum of cylinder(s) misfire counters within 1000 revolutions is 4 times exceeding a predetermined value during a driving cycle, or during the first 1000 revolutions, the fault code for emission relevant misfiring is temporary stored. If the following driving cycle is also above the emission limits, the MIL will be switched on and a cylinder selective or global fault will be stored.
Catalyst Damage: (e) (3.2.1)
If the weighted sum of individual cylinder(s) misfire counters within 200 rotations is exceeding a predetermined value, or the weighted sum of misfire counter per bank exceeds a predetermined value at the end of 200 rotations, then the fault code for catalyst damage relevant misfiring is stored and the cylinder with the highest rate will be switched off, and the MIL will be switched on immediately.
If three cylinders are switched off and the misfire rate is still above the damage limits, MIL is flashed immediately.
All misfire counters are reset after each interval.
Flowchart
Calibration Variables
Function Variables
Chart and Flow Chart(s)
Paths for misfire and catalyst damaging misfire rate
The limit value for catalyst temperature is 1050 °C. The test procedure as required in CCR 1968.2, section 3.2.1 (D) are fulfilled.