Operation CHARM: Car repair manuals for everyone.
Manuals through 2025 now available!

Our trusted friends have launched a new website named LEMON, which has newer manuals. It also contains all the CHARM manuals.

LEMON is the spiritual successor to CHARM, I recommend you try it!

Link: lemon-manuals.la or lemon-manuals.org.ua

(Some people have issue connecting. LEMON is investigating. For now, use Firefox or change your DNS server)

Or, hide this message: temporarily or permanently

Keyless Entry Transmitter: Service and Repair


WM 966255 Replacing remote control

Replacing remote control

Removing key bit

1. Release the key of the remote control and carefully jam a crosshead screwdriver -A- between remote control and key so that the key does not engage in its end position.





Removing roll pin

2. Place a tool, e.g. a 10-mm open-ended/ring wrench -B- , between the key bit and the working surface.
3. Drive out the roll pin -C- - spring steel (max. diameter 1.5 mm) - with a tool such as a mandrel.
4. Fully pull out the roll pin with a pair of pliers.





Pulling out roll pin with pliers

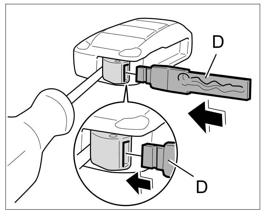
5. Pull out key bit -arrow- from the remote control.





Pulling out key bit

Installing key bit

1. Use a new remote control and insert the key bit -arrow- at the correct installation position (groove).





Installation position of key bit

2. Insert a new roll pin -see figure- for securing the key bit using the pliers and centre the spring steel (max. diameter 1.5 mm) using a tool such as a mandrel. Roll pin must not rub on the remote control housing.





Installing new roll pin

Subsequent work

Subsequent work for replacing remote control

Teaching remote control. -> 9662AN Teaching remote control - section on "Teaching" 9662AN00 Teaching Remote Control