Fuse Block: Testing and Inspection
WM 979449 Eliminating noise symptoms - Reworking central electrical system power distributor
General information
Symptoms
Rattling noises from under the front seat close to the central electrical system power distributor.
Causes and remedial action
Rattling noises can be heard while driving due to tolerances between the caps and the mounting plate for the central electrical system power distributor.
In the event of a complaint, felt strips must be affixed to the mounting plate and caps of the central electrical system power distributor to remedy the situation on vehicles manufactured before the date of introduction February 2006.
Tools and materials
993.555.545.00 Felt strip => Felt
Preliminary work
Remove cap on central electrical system power distributor. -> 979419 Removing and installing central electrical system power distributor - section on "Removing" Service and Repair
Reworking central electrical system power distributor
1. Remedial action 1
1.1. Cut five felt strips each approx. 50 mm long.
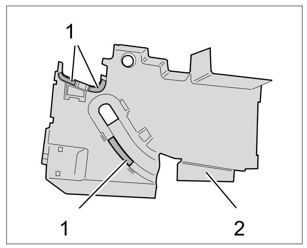
Sticking felt strips to the mounting plate
1.2. Stick felt strips -1- at the marked area on the sides of the mounting plate -2- at the left and right.
1.3. Stick felt strips -1- at the front over the bracket for the clips and the rear insert and into the bracket for the mounting plate.
2. Remedial action 2
2.1. Cut two felt strips each approx. 15 mm long.
Sticking felt strips on the caps
2.2. Cut a felt strip approx. 35 mm long.
2.3. Stick felt strip -1- into the contact area of the caps -2-.
Subsequent work
Install cap on central electrical system power distributor. -> 979419 Removing and installing central electrical system power distributor - section on "Installing" Service and Repair
Working times
97944900: Reworking central electrical system; Labor time 40 TU