Operation CHARM: Car repair manuals for everyone.
Manuals through 2025 now available!

Our trusted friends have launched a new website named LEMON, which has newer manuals. It also contains all the CHARM manuals.

LEMON is the spiritual successor to CHARM, I recommend you try it!

Link: lemon-manuals.la or lemon-manuals.org.ua

(Some people have issue connecting. LEMON is investigating. For now, use Firefox or change your DNS server)

Or, hide this message: temporarily or permanently

Fuel Level Sensor: Service and Repair


WM 201519 Removing and installing fuel level sensor on DFI engines

Tools





Technical values






Information

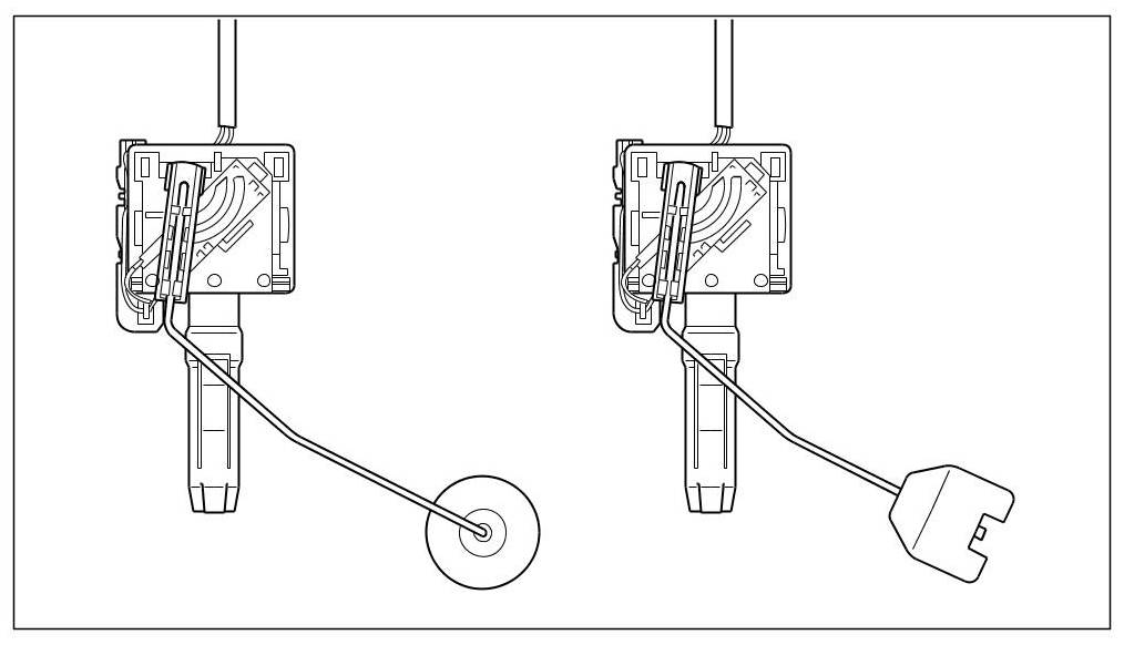
- The two senders have different shapes and may not be switched.

- The float installed in the left direction of travel is flat, while the float installed in the right direction of travel is spherical.

- The removal of both senders is explained in parallel in this description. If only one sender has to be removed, the other side of the tank can remain untouched.





Both fuel level sensors





Fixing sucking jet pumps and fuel level sensors in place





Information

The effect of fuel and various tolerances means that the left fuel level sensor can become jammed under fuel lines or the sensor's electric cable. The instrument cluster would then display an incorrect fuel level.

To prevent this, the two fuel lines coming from the left pump and the electric cable should be tied together with a tie-wrap following repairs.





Tie-wrap securing electric cable

Preliminary work

Opening the fuel tank

Information

- If the tank must be opened for emptying, disconnect all connections.

1. Open the filler flap.
2. Fold rear seat forward.
3. Fold up the retaining brackets (left and right) for the seat-belt buckles. To do this, loosen the fastening screws and fold up the bracket with the seat-belt buckle. Do not use the same fastening screws again.





Fastening screws for retaining brackets for seat-belt buckles

4. Loosen the caps (Figure shows both). To do so, cut out the carpeted floor along the perforated lines using a carpet knife and fold it over. Then loosen the fastening nuts and remove the cap.





Fastening nuts on caps

5. Drain the fuel tank if you have not already done so, or if the fuel level in the fuel tank is very low.

DANGER

Danger of poisoning from fuels.

-> Gasoline is toxic.
-> Inhaling vapours can cause irritation of the mucous membranes and eyes.
-> It can be carcinogenic. It represents a serious risk to health when inhaled, touched or swallowed over longer periods.
-> Only work on the fuel system in well-ventilated rooms.
-> Wear protective gloves that are fuel-resistant.
-> Wear a breathing mask with active charcoal filter; do not breathe in any fuel vapours.
-> Ensure that there is adequate ventilation and extract all fuel vapours.
-> Before opening the fuel lines or fuel hoses, relieve the fuel pressure.
-> Collect escaping fuel, absorb it if necessary with a suitable binding material and dispose of properly.
-> Pay attention to cleanliness when working on the fuel system.

DANGER

Danger of fire from fuel.

-> Keep clear of ignition sources.
-> Do not smoke.
-> Disconnect battery.
-> Danger of fire due to naked flames and sparks, e.g. during welding or grinding work.
-> Danger of fire due to escaping fuel, e.g. on hot engine components or due to electrostatic charge. Allow engine to cool down.
-> Secure the vehicle, e.g. with a warning sign.
-> Change any clothing soaked with fuel immediately.
-> In case of fire, use CO2 or dry powder fire extinguishers.

Information

- Absorb any escaping fuel using a suitable binding material or a cloth.

- Cloths which have absorbed fuel must be disposed of according to the applicable national laws.

- The fuel system must be depressurised before starting work on it.

- Only work on the fuel system in well-ventilated rooms.

- Any seals which have been removed must always be replaced.

- Do not use any sealant containing silicone or silicone spray when the injection system is open. Traces of silicone drawn in by the engine are not combusted and damage the oxygen sensors.

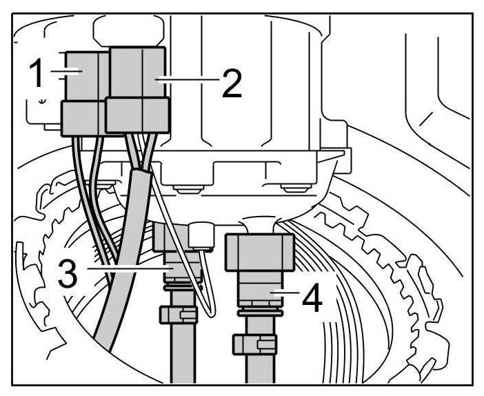
6. Carefully pull off the fuel supply line -1- at each connecting flange (right flange shown here) and loosen the two connection points -2 and 3-. Also remove line (not shown here) in vehicles with auxiliary heating (auxiliary heater). Do the same at the left connection unit. Unplug all connections on the connecting flange.





Fuel supply line and connection points at right connection unit

7. Open each cap using special key T10202 and lift up the connection unit (cap). => Special tool on cap





Special tool on cap

Preliminary work





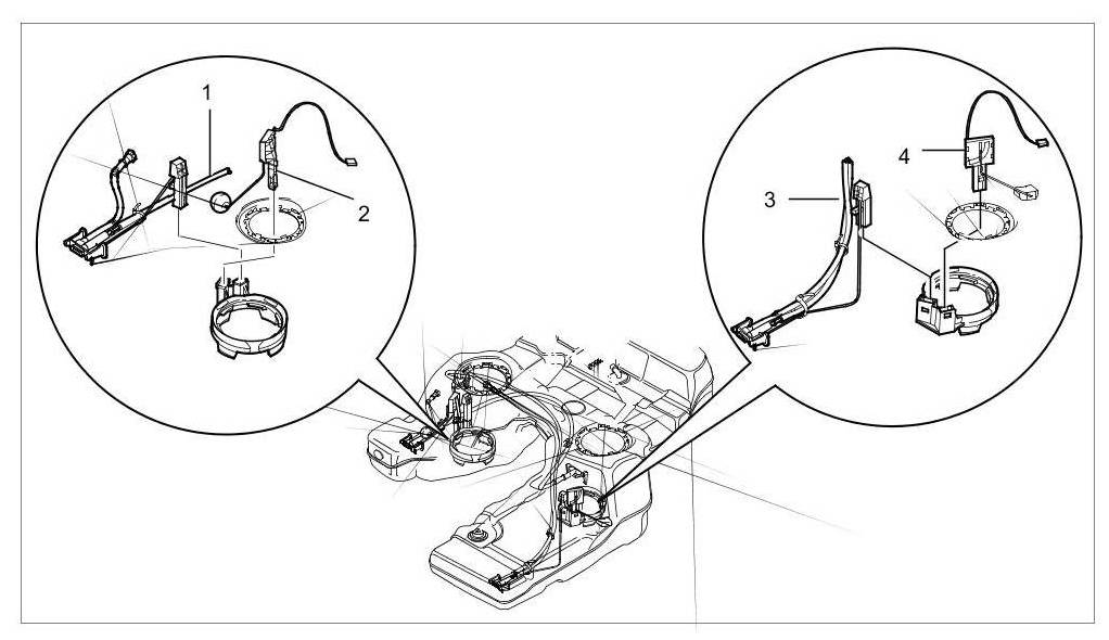
Connection units and installation position of installed components in the fuel tank





1. Disconnect electric connectors -1 and 2-. Then pull off the fuel lines -3 and 4- and remove the connecting flange.





Connecting flange





Left and right connection unit





Removing fuel level sensor

1. Reach carefully past the fuel pump and feel for the sensor. This is located in front of the pump, pointing diagonally outwards.
2. Press the retainer spring on the sensor by hand while at the same time pulling the sensor up. => Loosening fuel level sensor





Fixing sucking jet pumps and fuel level sensors in place









Loosening fuel level sensor

Installing fuel level sensor

1. Install a new fuel sensor. Press the sensor into its mounting point. The retainer spring must lock with an audible click. => View shows the left sensor => View shows the right sensor





View shows the left sensor





View shows the right sensor





Fixing sucking jet pumps and fuel level sensors in place






Subsequent work

1. Fit new seal in the opening of the tank. => Seal for opening of tank





Seal for opening of tank

2. Connect connecting flange. Connect the electric connectors for the fuel level sensor and fuel pump. Then push on the fuel lines. The connectors must lock with an audible click. => Connecting flange





Connecting flange





Left and right connection unit





3. Fit connecting flange into the opening of the tank. When doing so, make sure that the plastic lug is pointing forwards.

Closing the fuel tank

1. Close the tank. To do this, fit the sheetmetal ring and tighten using special key T10202. => Tightening torque: 140 Nm (104 ftlb.)





Cap

2. Fit all connections (fuel lines, ventilation tubes and electric connectors). => Fuel lines, ventilation tubes and electric connectors





Fuel lines, ventilation tubes and electric connectors

3. Fit the caps. Then tighten the fastening nuts on each cap. => Tightening torque: 10 Nm (7.5 ftlb.) Refit carpeted floor and fix in place with double-sided adhesive tape.





Fastening nuts for caps

4. Tighten the mounting plates for the seat-belt buckles. Always use new fastening screws. For information on tightening torques, see -> 692519 Removing and installing rear belt lock 692519 Removing and installing rear belt lock





Fastening screws for retaining brackets for seat-belt buckles

5. Fold rear seat down again.
6. Fill the fuel tank.