Operation CHARM: Car repair manuals for everyone.
Manuals through 2025 now available!

Our trusted friends have launched a new website named LEMON, which has newer manuals. It also contains all the CHARM manuals.

LEMON is the spiritual successor to CHARM, I recommend you try it!

Link: lemon-manuals.la or lemon-manuals.org.ua

(Some people have issue connecting. LEMON is investigating. For now, use Firefox or change your DNS server)

Or, hide this message: temporarily or permanently

Part 1



Tightening torques, tightening sequences, assembly overviews for V8 4.8 l DFI naturally aspirated and turbo engine as of October 2008
























































Drive plate M10
Tightening torque 60 Nm (44 ftlb.)
Torque angle 90°
Tighten the 10 new fastening screws crosswise.

Information

Component changes for model year 2009 as of October 2008

Information
Always read the information concerning modified tightening specifications and component changes relating to repairs provided for specific engine numbers in the Information section.

Technical values

Overview

Information
The tightening steps in the tightening sequences relate to tightening screws uniformly, i.e. all affected screws must first be tightened uniformly to the first torque value, then all screws are tightened one stage further, and so on.
Replace all O- rings following removal!

The torques in the table below generally apply to screws that are not specifically listed -

The bolt quality is indicated on the screw head at the top as a decimal number, e.g. "8.8" or "12.9".





Aluminum screws





Group 10





Upper part of crankcase

1 - Upper part of crankcase

2 - Lid

3 - Sealing ring

4 - Screw plug on upper part of crankcase - Tightening torque: 75 Nm (56 ftlb.)

5 - Dowel sleeve

6 - Oil spray jet

7 - Screw, M6 x 16 - Tightening torque: 10 Nm (7.5 ftlb.)

A - Direction of travel





Lower part of crankcase

1 - Lower part of crankcase

2 - Straight pin, 6 x 18

3 - O-ring

4 - Sealant application - Doboseal 224N (999.915.573.43, status 09/08)

5 - Thrust-bearing screw M11; tighten screws within 5 minutes; observe tightening sequence. - Initial tightening: 30 Nm (22 ftlb.) - Torque angle: 90°

6 - Thrust-bearing screw M10; tighten screws within 5 minutes; observe tightening sequence. - Initial tightening: 22 Nm (16 ftlb.) - Torque angle 60°

7 - Aluminum screw, M8 x 70; (cross bolt connection); always use new aluminum screws; observe tightening sequence as for steel screws - Initial tightening: 10 Nm (7.5 ftlb.) and - Final tightening: 90°

8 - Screw, M8 x 35 - Tightening torque: 23 Nm (17 ftlb.)

9 - Screw, M8 x 50 - Tightening torque: 23 Nm (17 ftlb.)

10 - Dowel sleeve

A - Direction of travel





Sealant application

1 - Wipe off sealant residues after fitting

A - Direction of travel





Tightening sequence for thrust-bearing screws

1 to 20 - Tightening sequence for M11 and M10 screws - Observe different torques!

A - Direction of travel





Tightening sequence for securing lower part of crankcase to upper part of crankcase (cross bolt connection)





Left bracket for auxiliary units and engine mounting

1 - Bracket for auxiliary/units engine mounting

2 - Screw, M10 x 45 - Tightening torque: 65 Nm (48 ftlb.)

3 - Hydraulic mount, left

4 - Engine carrier

5 - Screw, M10 x 65 - Tightening torque: 60 Nm (44 ftlb.)

6 - Dowel sleeve

7 - Nut, M12 x 1.5 - Tightening torque: 75 Nm (56 ftlb.)





Right bracket for auxiliary units and engine mounting

1 - Engine carrier, cylinders 1 to 4

2 - Screw, M10 x 45 - Tightening torque: 65 Nm (48 ftlb.)

3 - Hydraulic mount, right

4 - Engine carrier

5 - Screw, M10 x 65 - Tightening torque: 60 Nm (44 ftlb.)

6 - Nut, M12 x 1.5 - Tightening torque: 75 Nm (56 ftlb.)

7 - Bores for screws, M10 x 45

A - Installation view of engine carrier on crankcase





Vent line

1 - Vent line to cylinder head/crankcase/oil pump

2 - O-ring

3 - Screw, M6 x 12 - Tightening torque: 10 Nm (7.5 ftlb.)

4 - Check valve

A - Direction of travel





Oil mist separator for positive crankcase ventilation (M48/51 turbo engine)

1 - Engine ventilation - Tightening torque: 10 Nm (7.5 ftlb.)

2 - Engine ventilation line

3 - Tank ventilation

4 - Holder - Initial tightening: 4 Nm (3 ftlb.) and - Final tightening: 90°





Oil mist separator for positive crankcase ventilation (M48/01 naturally aspirated engine)

1 - Engine ventilation - Tightening torque: 10 Nm (7.5 ftlb.)

2 - Engine ventilation line

3 - Screw, M6 x 12 - Tightening torque: 10 Nm (7.5 ftlb.)

4 - Lid with seal

5 - Engine ventilation line

6 - Line

7 - Tank ventilation with holder - Initial tightening: 4 Nm (3 ftlb.) and - Final tightening: 90°





Positive crankcase ventilation, M48/51 Turbo

1 - Check valve

2 - Engine ventilation line

3 - Positive crankcase ventilation line to pressure pipe

4 - Holder (see Belt tensioner/belt drive)

5 - Line





Positive crankcase ventilation (PCV), M48/51 Turbo

1 - Ventilation pipe with sealing ring (holder to timing-case cover) - Initial tightening: 4 Nm (3 ftlb.) and Final tightening: 90°

2 - Screw, M6 x 12 - Tightening torque: 10 Nm (7.5 ftlb.)

A - Installation view of ventilation pipe

Group 13





Crankshaft

1 - Crankshaft

2 - Straight pin, 6 x 20

3 - Spring, 5 x 6.5

4 - Thrust washer (grooves facing out)

5 - Main bearing shell, upper

6 - Main bearing shell, lower

7 - Shaft sealing ring - Do not touch sealing ring lip! Clean crankshaft flange and oil lightly

8 - View of crankshaft flange

9 - Crankshaft bearing classification (four types) Y Yellow; B Blue, R Red; N Green - (example: YYYYY-BBBB; 5 main shaft bearings with yellow marking, 4 double (8) connecting rod bearings with blue marking) - For numbering, see A

A - Direction of travel (main bearing 1 is the first in direction of travel against output)





Belt drive

1 - Deflection roller - Tightening torque: 32 Nm (24 ftlb.) ±3 Nm (±2 ftlb.)

2 - Hydraulic belt tensioner; tensioner to lever - Tightening torque: 32 Nm (24 ftlb.) ±3 Nm (±2 ftlb.); tensioning roller to tensioning lever - Tightening torque: 32 Nm (24 ftlb.) ±3 Nm (±2 ftlb.)

3 - Screw, M8 x 96; complete lever to timing-case cover and cylinder head - Tightening torque: 32 Nm (24 ftlb.) ±3 Nm (±2 ftlb.). belt tensioner and timing-case cover to bracket - Tightening torque: 32 Nm (24 ftlb.) ±3 Nm (±2 ftlb.)

4 - Deflection roller - Tightening torque: 32 Nm (24 ftlb.) ±3 Nm (±2 ftlb.)

5 - Dual poly V-belt





Piston, connecting rod

1 - Piston-ring set; oil with engine oil; TOP marking facing upwards; oil scraper ring down

2 - Piston; different on naturally aspirated and turbo engines; combustion chamber recess facing center of engine; left and right different; direction of travel arrow in direction of travel

3 - Piston-pin circlip (positioned at 6 o'clock or 11 o'clock)

4 - Piston pin; oil

5 - Connecting rod

6 - Connecting rod bolt; replace as it must be tightened in the plastic area; oil bolt - Tightening torque: 8 Nm (6 ftlb.)+2 Nm (+1.5 ftlb.) - Tightening torque: 20 Nm (15 ftlb.) - Tightening torque: 40 Nm (30 ftlb.) - Torque angle: 90°

7 - Connecting rod bearing shells; oil with engine oil





Connecting-rod assembly, bearing shells

A - View A (identification area for connecting-rod number; fit connecting rod with identification area facing exhaust side; markings on rod and cap must be on the same side)

B - View B (fit bearing shells flush and press in by hand)

C - View C (fit bearing shells flush and press in by hand)





Piston classification

1 - Inspection stamp (supplier)

2 - Arrow marking in direction of travel

3 - Porsche short numeric code without main or middle number

4 - Cylinder bank identification

5 - Marking area for weight group

6 - Marking area for dimension group

7 - Barcode 128 (short numeric code (without main group) and weight group)

8 - Direction of travel arrow

9 - Short numeric code (supplier)





Radial shaft seal

1 - Radial shaft seal (use protection cap for radial shaft seal for fitting; only fit when crankcase is screwed on)

2 - Crankcase

3 - Crankshaft

4 - Radial shaft seal (sectional view)

A - Direction of travel





Pulleys

1 - Water pump pulley

2 - Screw, M8 x 16 - Tightening torque: 23 Nm (17 ftlb.)

3 - Vibration damper

4 - Screw, M18 x 1.5 x 72; use new screw; - Tightening torque: 20 Nm (15 ftlb.) - Tightening torque: 50 Nm (37 ftlb.) - Tightening torque: 100 Nm (74 ftlb.) - Torque angle: 180°

5 - Pulley on power-steering pump

6 - Screw, M8 x 16 - Tightening torque: 23 Nm (17 ftlb.)

7 - Tandem pump pulley

Group 15

Information
The eyelets must not be inadvertently secured using aluminum screws! - aluminum screws would break and the suspended engine would fall down!





Valves (cylinder bank 5 to 8)

1 - Intake valve

2 - Valve-seat ring (intake)

3 - Valve guide

4 - Lower valve-spring plate (intake)

5 - Valve stem seal

6 - Set of valve springs (intake)

7 - Upper valve-spring plate (intake)

8 - Valve collet

9 - Upper valve-spring plate (outlet)

10 - Set of valve springs (M48/51 outlet); outlet valve spring (M48/01)

11 - Lower valve-spring plate (outlet)

12 - Valve-seat ring (outlet)

13 - Outlet valve






Cylinder head 1 to 4

1 - Cylinder head 1 to 4

2 - Cylinder head gasket 1 to 4

3 - Screw, M8 - Tightening torque: 23 Nm (17 ftlb.)

4 - Lid

5 - Stopper

6 - Stopper

7 - Restrictor for valve lift control - Tightening torque: 1.5 Nm (1.0 ftlb.)

8 - Cylinder-head screws - For tightening specifications, see Tightening sequence for cylinder head

9 - Spark plug; when reinstalled - Tightening torque: 25 Nm (19 ftlb.) +3 Nm (+2 ftlb.); if fitting new spark plugs - Tightening torque: 30 Nm (22 ftlb.) +3 Nm (+2 ftlb.)





Cylinder head 5 to 8

1 - Cylinder head 5 to 8

2 - Screw plug - Tightening torque: 5 Nm (3.5 ftlb.)

3 - Spark plug; when reinstalled - Tightening torque: 25 Nm (19 ftlb.) +3 Nm (+2 ftlb.); if fitting new spark plugs - Tightening torque: 30 Nm (22 ftlb.) +3 Nm (+2 ftlb.)

4 - Cylinder head gasket 5 to 8

5 - Stopper

6 - Restrictor for valve lift control - Tightening torque: 1.5 Nm (1.0 ftlb.)

7 - Stopper

8 - Lid

9 - Cylinder-head screws - For tightening specifications, see Tightening sequence for cylinder head





Tightening sequence for cylinder head

Bolts 1 to 10 - 1st initial tightening - Tightening torque: 30 Nm (22 ftlb.); 2nd initial tightening - Tightening torque: 50 Nm (37 ftlb.); loosen by 2 turns - Torque angle: 720°; 1st turn - Tightening torque: 30 Nm (22 ftlb.); 2nd turn - Tightening torque: 30 Nm (22 ftlb.); 3rd turn and final tightening (torque angle) - Torque angle: 110°





Studs for cylinders 1 to 4, catches

1 - Screw plug - Tightening torque: 5 Nm (3.5 ftlb.)

2 - Threaded bolt - Fit with medium-strength securing liquid! For details of visible length/screw-in depth, see below

3 - Sealing ring

4 - Screw plug - Tightening torque: 15 Nm (11 ftlb.)

5 - Stopper

24-1.0 - Visible length on turbo engine: 24 mm; visible length on naturally aspirated engine: 17 mm

Pfeile - Oil bearing surfaces on camshafts with engine oil

- Screw plug (not shown) - instead of turbocharger oil line on naturally aspirated engine Tightening torque: 15 Nm (11 ftlb.)





Studs for cylinders 5 to 8, catches

1 - Stopper

2 - Screw plug - Tightening torque: 15 Nm (11 ftlb.)

3 - Sealing ring

4 - Threaded bolt - Fit with medium-strength securing liquid! For details of visible length/screw-in depth, see below

24-1.0 - Visible length on turbo engine: 24 mm; visible length on naturally aspirated engine: 17 mm

Pfeile - Oil bearing surfaces on camshafts with engine oil





Valve cover seals, cylinders 1 to 4

1 - Valve cover for cylinders 1 to 4 (align over bar ignition modules)

2 - Oil cap

3 - Aluminum screw, M6 x 20; hall sender (phase sensor); always use new aluminum screws; - Initial tightening: 4 Nm (3 ftlb.) and - Final tightening: 90°

4 - Hall sender

5 - O-ring

6 - Valve cover seal

7 - Valve cover seal, inner

8 - Seal for hydraulic valve for camshaft control





Valve cover seals, cylinders 5 to 8

1 - Valve cover for cylinders 5 to 8 (align over bar ignition modules)

2 - Hall sender

3 - Aluminum screw, M6 x 20; hall sender (phase sensor); always use new aluminum screws; - Initial tightening: 4 Nm (3 ftlb.) and - Final tightening: 90°

4 - O-ring

5 - Valve cover seal

6 - Valve cover seal, inner

7 - Seal for hydraulic valve for camshaft control





Tightening sequence for valve cover for cylinders 1 to 4





Tightening sequence for valve cover for cylinders 5 to 8





Bar ignition modules and valve cover, cylinder bank 1 to 4

1 - Valve cover for cylinder bank 1 to 4 (align over bar ignition modules)

2 - Bar ignition module

3 - Aluminum screw, M6 x 20; bar ignition module; always use new aluminum screws; - Initial tightening: 4 Nm (3 ftlb.) and - Final tightening: 90°

4 - Aluminum screw, M6 x 30; always use new aluminum screws; - Initial tightening: 4 Nm (3 ftlb.) and - Final tightening: 90°

5 - Cap

6 - Aluminum screw, M8 x 35 (on torque support); always use new aluminum screws; - Initial tightening: 10 Nm (7.5 ftlb.) and - Final tightening: 90° Steel screw on eyelet!

7 - Eyelet (with steel screw) - Tightening torque: 23 Nm (17 ftlb.)

8 - Sheetmetal holder

A - Direction of travel

- Not shown; design cover on bar ignition modules - Tightening torque: 4.4 Nm (3.0 ftlb.)





Bar ignition modules and valve cover, cylinder bank 5 to 8

1 - Valve cover for cylinder bank 5 to 8 (align over bar ignition modules)

2 - Eyelet

3 - Eyelet (with steel screw) - Tightening torque: 23 Nm (17 ftlb.)

4 - Aluminum screw, M6 x 30; always use new aluminum screws; - Initial tightening: 4 Nm (3 ftlb.) and - Final tightening: 90°

5 - Bar ignition module

6 - Aluminum screw, M6 x 20; bar ignition module; always use new aluminum screws; - Initial tightening: 4 Nm (3 ftlb.) and - Final tightening: 90°

7 - Sheetmetal holder

8 - Cap

A - Direction of travel

- Not shown; design cover on bar ignition modules - Tightening torque: 4.4 Nm (3.0 ftlb.)





Camshafts, cylinder bank 1 to 4

1 - Camshaft (outlet)

2 - Camshaft (intake)

3 - Hydraulic valve for variable valve lift control

4 - Screw, M5 x 12 - Tightening torque: 6 Nm (4.5 ftlb.)

5 - Switching tappet (oil with engine oil)

6 - Flat-base tappet (oil with engine oil)

7 - Stopper

8 - Mounting saddle 1 to 4

9 - Stopper

10 - Bearing locations (oil with engine oil)

A - Direction of travel





Camshaft mount, cylinder bank 1 to 4

1 - Screw, M6 x 35 - Tightening torque: 13 Nm (9.5 ftlb.)

2 - Housing

3 - Dowel sleeve

4 - Housing (intake)

5 - Housing (outlet)

6 - Screw, M6 x 70 - Tightening torque: 13 Nm (9.5 ftlb.)

7 - Bearing surfaces (oil with engine oil)

A - Direction of travel





Camshafts, cylinders 5 to 8

1 - Switching tappet (oil with engine oil)

2 - Flat-base tappet (oil with engine oil)

3 - Camshaft (intake)

4 - Hydraulic valve for variable valve lift control

5 - Screw, M5 x 12 - Tightening torque: 6 Nm (4.5 ftlb.)

6 - Camshaft (outlet)

7 - Stopper

8 - Mounting saddle, cylinders 5 to 8

9 - Stopper

10 - Bearing surfaces (oil with engine oil)

A - Direction of travel





Camshaft mount, cylinders 5 to 8

1 - Dowel sleeves

2 - Housing (intake)

3 - Screw, M6 x 70 - Tightening torque: 13 Nm (9.5 ftlb.)

4 - Housing

5 - Screw, M6 x 35 - Tightening torque: 13 Nm (9.5 ftlb.)

6 - Housing (outlet)

7 - Bearing surfaces (oil with engine oil)

A - Direction of travel





Camshaft control

1 - Screw, M12 Tighten fully after setting timing. 1st turn - Tightening torque: 10 Nm (7.5 ftlb.); 2nd turn - Tightening torque: 50 Nm (37 ftlb.); final tightening (torque angle) - Torque angle: 135°

2 - Hexagon sleeve

3 - Camshaft controller

4 - Washer (reusable); replace if disassembled completely

5 - Hydraulic valve for camshaft control

6 - Screw, M5 x 12 - Tightening torque: 6 Nm (4.5 ftlb.)

A - Direction of travel





Camshaft identification on V8 turbo engine M48/51

A - Cylinders 1 to 4

B - Cylinders 5 to 8

1 - Outlet camshaft identification (green)

2 - Intake camshaft identification (blue)

3 - Intake camshaft identification (blue)

4 - Outlet camshaft identification (green)





Camshaft identification on V8 naturally aspirated engine M48/01

A - Cylinders 1 to 4

B - Cylinders 5 to 8

1 - Outlet camshaft identification (green)

2 - Intake camshaft identification (white)

3 - Intake camshaft identification (white)

4 - Outlet camshaft identification (green)





Camshaft housing identification

- All markings can be read from the exhaust side/main diagram applies symmetrically for both cylinder heads

1 - Matching number for cylinder head/intake camshaft housing, cylinder 1 (E1)

2 - Matching number for cylinder head/intake camshaft housing, cylinder 2 (E2)

3 - Matching number for cylinder head/intake camshaft housing, cylinder 3 (E3)

4 - Matching number for cylinder head/intake camshaft housing, cylinder 4 (E4)

5 - Matching number for cylinder head/outlet camshaft housing, cylinder 1 (A1)

6 - Matching number for cylinder head/outlet camshaft housing, cylinder 2 (A2)

7 - Matching number for cylinder head/outlet camshaft housing, cylinder 3 (A3)

8 - Matching number for cylinder head/outlet camshaft housing, cylinder 4 (A4)

Pfeile - Direction of travel





Timing chain and sprockets

1 - Double-chain camshaft drive

2 - Camshaft sprocket

3 - Screw, M12 Tighten fully after setting timing.; 1st turn - Tightening torque: 10 Nm (7.5 ftlb.); 2nd turn - Tightening torque: 50 Nm (37 ftlb.); final tightening (torque angle) - Torque angle: 90°

4 - Deflector rail

5 - Screw, M8 x 35 - Tightening torque: 32 Nm (24 ftlb.)

6 - Camshaft-to-camshaft guide pad

A - Direction of travel





Oil pump chain drive

1 - Crankshaft sprocket

2 - Friction plates/diamond washers; reusable

3 - Oil pump drive chain

4 - Drive in spring wedge with a plastic hammer

5 - Oil pump





Timing chain and chain guide

1 - Threaded peg - Tightening torque: 35 Nm (26 ftlb.)

2 - Threaded peg - Tightening torque: 20 Nm (15 ftlb.)

3 - Guide rail

4 - Tensioning rail

5 - Chain tensioner with seal - Tightening torque: 60 Nm (44 ftlb.)

6 - Pin (for locking the oil-pump tensioning rail)

A - Direction of travel





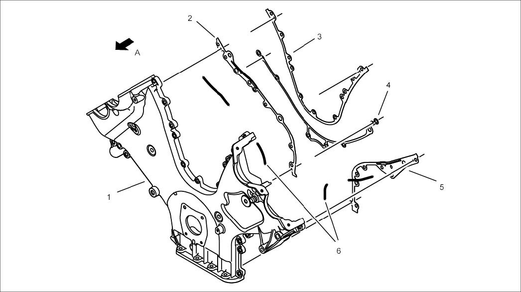
Timing-case cover seals

1 - Timing-case cover

2 - Timing-case cover seal, outer right (fill openings with sealing compound, see 6)

3 - Timing-case cover seal, inner

4 - Timing-case cover seal, rib

5 - Timing-case cover seal, outer left (fill openings with sealing compound, see 6)

6 - Applying sealant to timing chain housing; Loctite 5900 (000.043.204.35 status 10/08)

A - Direction of travel





Applying sealing compound (fill openings in sheetmetal seal with sealing compound)





Tightening sequence for timing-case cover

A - Aluminum screw, M6 x 30; timing-case cover to crankcase and cylinder head; always use new aluminum screws; - Initial tightening: 4 Nm (3 ftlb.) and - Final tightening: 90°

B - Aluminum screw, M6 x 55; inner timing-case cover to upper part of crankcase and cylinder head; always use new aluminum screws; - Initial tightening: 4 Nm (3 ftlb.) and - Final tightening: 90°; outer timing-case cover to cylinder head - Initial tightening: 4 Nm (3 ftlb.) and - Final tightening: 90°

C - Aluminum screw, M8 x 55; timing-case cover (chain tensioner position) to upper part of crankcase and cylinder head; always use new aluminum screws; - Initial tightening: 10 Nm (7.5 ftlb.) and - Final tightening: 90°

D - The timing-case cover must be level with the lower part of the crankcase (use steel rule or dial gauge)





Chain tensioner, sealing flange

1 - Joint flange (oil sealing lip with engine oil); align with sleeve or vibration balancer

2 - Aluminum screw M6 x 20; always use new aluminum screws; - Initial tightening: 4 Nm (3 ftlb.) and - Final tightening: 90°

3 - Aluminum screw M6 x 55; always use new aluminum screws; - Initial tightening: 4 Nm (3 ftlb.) and - Final tightening: 90°

4 - Sealing ring

5 - Chain tensioner - Tightening torque: 60 Nm (44 ftlb.)

Group 17





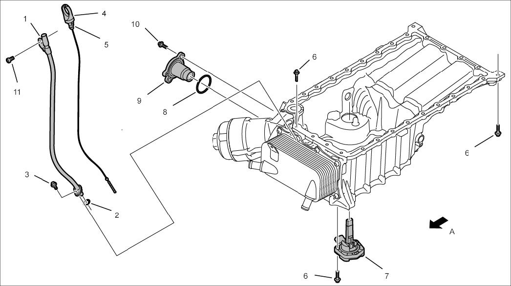
Oil/coolant heat exchanger, oil filter

1 - Oil guide housing

2 - Oil-filter housing - Tightening torque: 25 Nm (19 ftlb.)

3 - Oil filter

4 - Oil-filter sealing ring

5 - Oil duct adapter (cannot be replaced)

6 - Heat exchanger seal

7 - Oil/coolant heat exchanger

8 - Screw, M6 x 20; self-tapping screws ex-works; metric screws can also be used - Tightening torque: 10 Nm (7.5 ftlb.)

A - Direction of travel





Applying sealant to oil guide housing

1 - Sealant application (geometry, 1-mm bead of sealant)

2 - Sealant application - Doboseal 224N (999.915.573.43, status 09/08)

A - Direction of travel





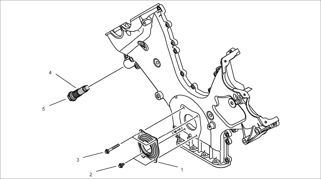
Oil guide housing with accessories

1 - Guide tube

2 - O-ring

3 - Screw, M6 x 16 - Tightening torque: 10 Nm (7.5 ftlb.)

4 - Oil dipstick

5 - O-ring