518941 Repairing Threaded Bushes For Suspension Subframe installation
WM 518941 Repairing threaded bushes for suspension subframe installation
- Installing threaded bush
Tools
Installing threaded bush
Installing repair threaded bush
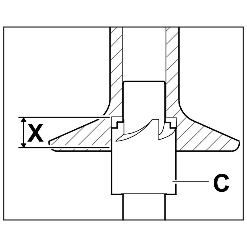
Installation position of threaded bush for suspension subframe mount
NOTICE
Improper thread repairs
- Damaged thread
-> Thread repairs can only be carried out using the Time-Sert thread repair system.
Information
The repair bush must be installed recessed. Milling in may only be performed using the Porsche special tool contained in the Time-Sert thread repair kit.
Information
While pressing in the base thread, a noticeably larger amount of force is required on the screw-in tool to form the internal thread. Pressing is finished when the screw-in tool can be turned further more easily.
1. Drill out thread
Drilling out thread
2. Mill in shoulder
Milling in shoulder
3. Cut thread
Cutting thread
4. Position threaded bush on the screw-in tool.
Positioning threaded bush on screw-in tool
5. Screw in threaded bush
Screwing in threaded bush
6. Press threaded bush
Pressing threaded bush
7. Unscrew screw-in tool
Table classification for suspension subframe repairs