Manuals through 2025 now available!
Our trusted friends have launched a new website named LEMON, which has newer manuals. It also contains all the CHARM manuals.
LEMON is the spiritual successor to CHARM, I recommend you try it!
Link:
lemon-manuals.la or
lemon-manuals.org.ua
(Some people have issue connecting. LEMON is investigating. For now, use Firefox or change your DNS server)
Or, hide this message:
temporarily or
permanently
Engine Control Module: Testing and Inspection
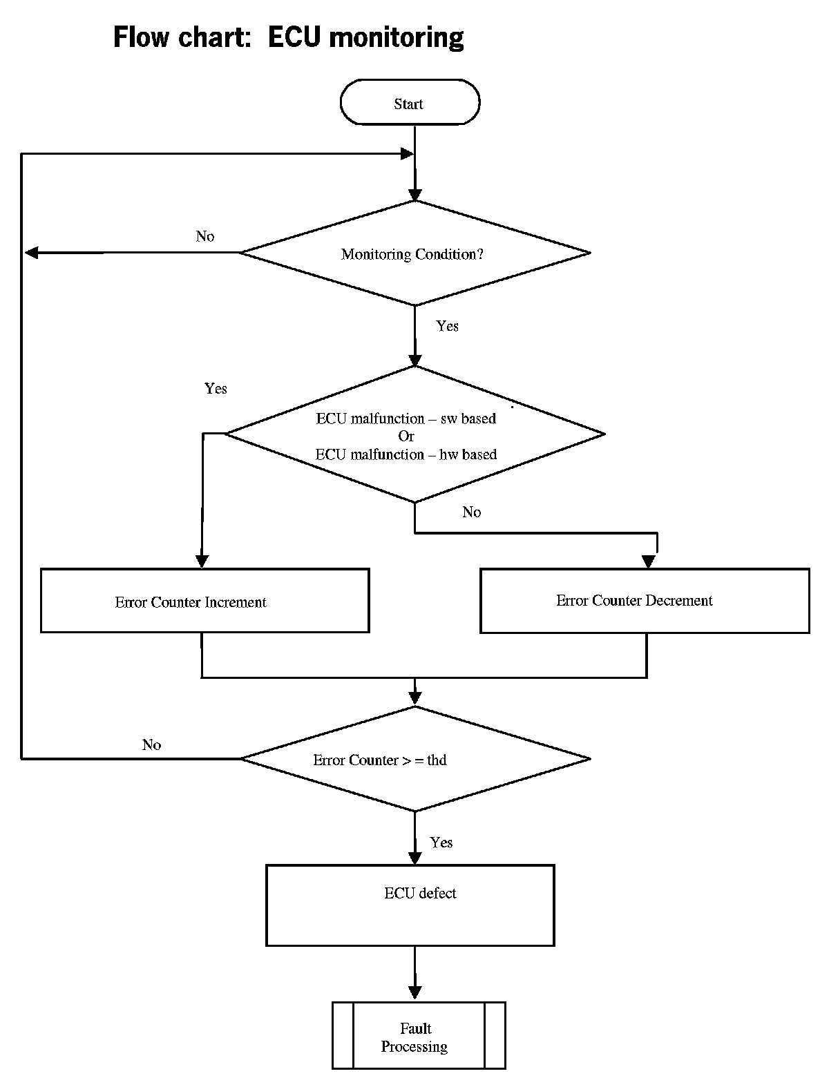
14.13 Engine control unit 14.13.1 General Description The purpose of this diagnosis is to detect electrical faults of the engine control unit.
14.13.2 Monitoring Conditions: Ignition key on
14.13.3 Error Symptoms: -
Error based on ECU internal software checks
-
Error based on ECU internal hardware checks
14.13.3.1 Flow chart: ECU monitoring