Operation CHARM: Car repair manuals for everyone.
Manuals through 2025 now available!

Our trusted friends have launched a new website named LEMON, which has newer manuals. It also contains all the CHARM manuals.

LEMON is the spiritual successor to CHARM, I recommend you try it!

Link: lemon-manuals.la or lemon-manuals.org.ua

(Some people have issue connecting. LEMON is investigating. For now, use Firefox or change your DNS server)

Or, hide this message: temporarily or permanently

High Pressure Fuel System Monitoring

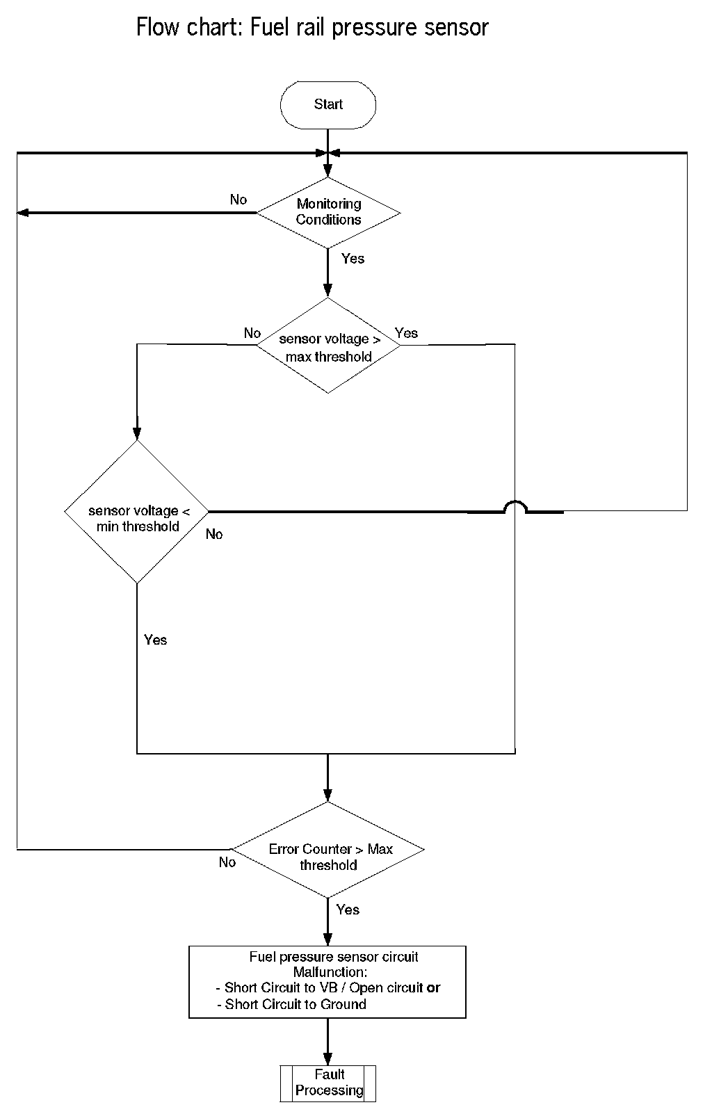
14.16 High Pressure Fuel System Monitoring - Fuel rail pressure sensor - electrical check

14.16.1 General Description
The diagnosis of the fuel rail pressure sensor consists of an electrical check (signal range check incl. circuit continuity check).

The signal range check the sensor signal voltage is compared with an upper and lower limit to detect cable interruption and short circuits.

If the measured voltage from the fuel rail pressure sensor exceeds the upper calibration limit, a short circuit to battery or cable breakage is detected and a maximum fault is set.

If the measured voltage from the fuel rail pressure sensor lies below the lower calibration limit, a short circuit to ground is detected and a minimum fault is set.

14.16.3 Flow chart: Fuel rail pressure sensor






14.16.4 Fuel pressure regulator - electrical check

14.16.4.1 Description
The diagnosis of the fuel rail pressure regulator consists of an electrical check (signal range check incl. circuit continuity check).

The PWM signal is compared with an upper and lower limit to detect cable interruption and short circuits.

If the PWM from the fuel rail pressure regulator exceeds the upper calibration limit, a short circuit to battery or cable breakage is detected and a maximum fault is set.

If the PWM from the fuel rail pressure regulator lies below the lower calibration limit, a short circuit to ground is detected and a minimum fault is set.

14.16.4.3 Flow chart: Fuel pressure regulator






14.16.5 Diagnosis of high pressure fuel control system and fuel mass plausibility diagnosis

14.16.5.1 Description
For gasoline direct fuel injection a high pressure fuel control system is necessary for fuel preparation and metering as shown in figure 1. The low fuel pressure from the fuel pump module within the tank is increased by the high pressure fuel pump and adjusted to a desired set-point fuel pressure. The high pressure fuel system consists of two fuel rails, one for all high pressure injection valves of each cylinder bank, a fuel rail pressure sensor, a high pressure fuel pump with a built-in fuel volume control valve and overpressure-valve. In dependence of engine load and engine speed, high pressure has to be adjusted to values between 4 and 12 MPa. Therefore the fuel pressure in the rail is measured and controlled with help of the fuel volume control valve. According to the desired fuel-mass and fuel pressure set-point value the pre-control calculates the driver-signal for the fuel volume control valve. This calculated driver-signal is additionally controlled by a closed loop control using the measured fuel pressure and the desired set-point value as input.






The high pressure system diagnosis consists of a rationality check and analyses in principle the difference between the fuel flow controller value and the lambda controller. The diagnosis finds out whether or not the set-point value of the fuel rail pressure can be adjusted by the high pressure fuel control.

A not adjustable fuel rail pressure (to high) is detected if the measured fuel pressure is more than the desired set-point fuel pressure with the result that the difference of these two values (set-point - measured) is negative. If the negative difference lies below a calibrated threshold for a calibrated period of time, the flow controller exceeds calibrated negative value and the lambda controller stays inside calibrated thresholds, a malfunction is detected and a fault is set.

A not adjustable fuel rail pressure (to low) is detected if the measured fuel pressure is less than the desired set-point fuel pressure with the result that the difference of these two values is positive. If the positive difference exceeds a calibrated threshold for a calibrated period of time, the flow controller exceeds calibrated positive value and the lambda controller stays inside calibrated thresholds, a malfunction is detected and a fault is set.

The fuel mass plausibility diagnosis checks the plausibility of the high pressure sensor signal. The diagnosis compares the output of the lambda-controller and lambda-adaptation with the output of the closed-loop controller.

A too high pressure sensor signal is detected if the lambda-controller or the lambda-adaptation shows a rich combustion while the fuel pressure controller is below a calibrated threshold.

A too low pressure signal is detected if the lambda-controller or the lambda-adaptation shows a lean combustion while the fuel pressure controller is above a calibrated threshold.

For the high pressure sensor a stuck signal check is performed. The diagnosis checks if the measured signal of the high pressure sensor does not change a greater amount than a calibrated threshold for a calibrated time.

Flow Chart Diagnosis of High Pressure Fuel Control System






Flow Chart Fuel Mass Plausibility Diagnosis






Not plausible fuel pressure diagnosis

Description
The not plausible fuel pressure diagnosis checks the fuel pressure level in the fuel rail.

The diagnosis compares the filtered fuel pressure with thresholds.

A too high fuel pressure signal is detected if the filtered fuel pressure is higher then a calibrated threshold.

A too low fuel pressure signal is detected if the filtered fuel pressure is lower then a calibrated threshold.

Flow Chart not plausible fuel pressure diagnosis






Fuel pressure sensor stuck

Description
Dynamic behavior of absolute fuel pressure control difference is evaluated vs. corresponding changes in fuel pressure sensor reading, either to be caused by change in fuel pressure control setpoint only (-> sensor stuck), or both by dynamic behavior of measured fuel pressure and its corresponding setpoint (-> regular control behavior).

If dynamic change rate of fuel pressure control difference exceeds calibratable threshold, but dynamic change rate of fuel pressure sensor reading stays below separate threshold the same time, failure is detected.

Monitoring conditions:






Flow Chart fuel pressure sensor stuck diagnosis






Fuel pressure sensor stuck at engine start

Description
The diagnosis monitors the fuel pressure build-up gradient during engine start, prior to injection release - which might cause temporary pressure drop.

If gradient of fuel pressure sensor reading stays below calibrated threshold, failure is detected.

Flow Chart fuel pressure sensor stuck at engine start diagnosis






High pressure pump adaptation diagnosis

Description
The high pressure pump adaptation diagnosis checks if the adaptation values from the high pressure pump are inside calibrated limits.

The diagnosis compares the 1st and 2nd adaptation point values from the flow characteristic line and the current adaptation value from the pressure characteristic line of the high pressure pump.

A too high adaptation value of the high pressure pump is detected if one adaptation value is higher then calibrated threshold.

A too low adaptation value of the high pressure pump is detected if one adaptation value is lower then calibrated threshold.

Flow Chart high pressure pump adaptation diagnosis





Fuel pressure deviation during catalyst heating

Description
The fuel pressure deviation during catalyst heating diagnosis checks the deviation between fuel pressure setpoint and fuel pressure. If the deviation is lower or higher than a threshold for a defined time the corresponding symptom and error will be set after debouncing.

The diagnosis compares the fuel pressure difference with thresholds.

A too high fuel pressure deviation is detected if the fuel pressure difference is higher then a calibrated threshold.

A too low fuel pressure deviation is detected if the fuel pressure difference is lower then a calibrated threshold.

Flow Chart fuel pressure deviation during catalyst heating diagnosis