Operation CHARM: Car repair manuals for everyone.
Manuals through 2025 now available!

Our trusted friends have launched a new website named LEMON, which has newer manuals. It also contains all the CHARM manuals.

LEMON is the spiritual successor to CHARM, I recommend you try it!

Link: lemon-manuals.la or lemon-manuals.org.ua

(Some people have issue connecting. LEMON is investigating. For now, use Firefox or change your DNS server)

Or, hide this message: temporarily or permanently

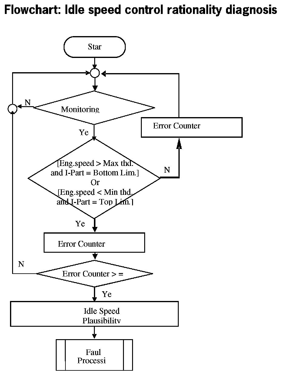
Idle Speed Control Monitoring

14.2 Idle Speed Control Monitoring

14.2.1 Idle speed control rationality diagnosis

14.2.1.1 General Description
This diagnosis detects the stability of the idle speed. If the commanded idle speed and the actual idle speed is not within a calibratable value, above or below commanded, in spite of an activated idle speed controller the idle speed is considered to be out of range. If the deviation is more than threshold, the idle speed controller monitor would detect a fault. The evap monitor is not disabled continuously, only for the time the rpm value of +/- 150 exceeded.

If the above failure conditions are detected, the appropriate DTC will be stored.

Within this diagnosis is also defined an interface between the idle speed control and the 'Rate- Based Monitoring statistics'.

14.2.1.3 Flowchart: Idle speed control rationality diagnosis