Operation CHARM: Car repair manuals for everyone.
Manuals through 2025 now available!

Our trusted friends have launched a new website named LEMON, which has newer manuals. It also contains all the CHARM manuals.

LEMON is the spiritual successor to CHARM, I recommend you try it!

Link: lemon-manuals.la or lemon-manuals.org.ua

(Some people have issue connecting. LEMON is investigating. For now, use Firefox or change your DNS server)

Or, hide this message: temporarily or permanently

Ignition System Monitoring

14.15 Ignition System Monitoring

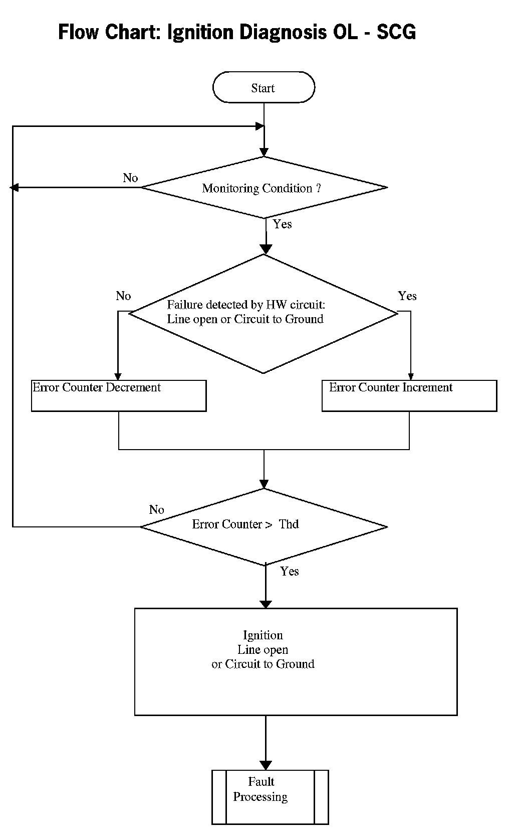
14.15.1 Ignition Coil Monitoring : Open line and Short circuit to ground

14.15.1.1 Description:
The purpose of this diagnostic is to check the integrity of the connection line in between ECU and coil (Open line, SCG).

14.15.1.3 Monitoring Function
The diagnosis is made with an integrated circuit which detects a failure in the command line of the ignition coils.

The following malfunctions are detected:
- Short circuit to ground
- Open load

14.15.1.4 Flow Chart: Ignition Diagnosis OL - SCG






14.15.2 Ignition Coil Monitoring : Short circuit to battery

14.15.2.1 Description
The purpose of this diagnostic is to check the integrity of the connection line in between ECU and coil. (Short Circuit to battery)

14.15.2.3 Monitoring Function
The diagnosis is made with an integrated circuit which detects a failure in the command line of the ignition coils.

The following malfunctions are detected:
- Short circuit to battery

14.15.2.4 Flow Chart: Ignition Diagnosis - SCB






14.15.3 Ignition Coil Monitoring : Soft shutdown detection

14.15.3.1 Description:
The purpose of this diagnostic is to detect that coil has been cut-off without producing spark.

14.15.3.3 Monitoring Function
The diagnosis is made by an analogue acquisition of current feedback of the coil. If this current feedback is below than a calibratable threshold, soft shutdown is detected.

The following malfunctions are detected:
- Soft shutdown of ignition coil

14.15.3.4 Flow Chart: Ignition Diagnosis - SSDN