Operation CHARM: Car repair manuals for everyone.
Manuals through 2025 now available!

Our trusted friends have launched a new website named LEMON, which has newer manuals. It also contains all the CHARM manuals.

LEMON is the spiritual successor to CHARM, I recommend you try it!

Link: lemon-manuals.la or lemon-manuals.org.ua

(Some people have issue connecting. LEMON is investigating. For now, use Firefox or change your DNS server)

Or, hide this message: temporarily or permanently

Air Temperature Sensor ( Ambient / Intake ): Testing and Inspection

COMPREHENSIVE COMPONENT MONITORING

INTAKE AIR TEMPERATURE SENSOR

Electrical Intake Air Temperature Sensor Diagnosis

General Description
The purpose of this diagnosis is to detect electrical faults. The input signal is analog from a NTC and has to be in a calibrate able range. Short circuit to ground can be detected immediately, short circuit to voltage battery or an open circuit after a delay time. In addition to detect short circuit to voltage battery or an open circuit, the mass air flow must be under a calibratable threshold. If an error symptom is detected, the error counter is debounced.

Substitute value:
A substitute value is calculated if an IAT electrical malfunction is detected. This substitute value is defined as following:
- if no ECT-sensor malfunction is present and ECT is below a calibrate able threshold then IAT is set to a low value
- if ECT-sensor malfunction is present or ECT is above the same calibrate able threshold, then IAT is set to high value

Error Symptoms
- Short circuit to voltage battery or open load
- Short circuit to ground

Flowchart: Electrical Intake Air Temperature sensor Diagnosis






Intake Air Plausibility Check - Plausibility diagnosis

General Description

This diagnosis checks IAT for a Stuck signal. If the vehicle was driven for a mini-mum required distance and time-after-start, then the change in the IAT signal during this period should be above a calibrate able threshold. If this is not the case, a stuck IAT signal is detected.

Error Symptom:
Signal not plausible

Flowchart: Intake Air Rationality Diagnosis - Stuck-signal diagnosis






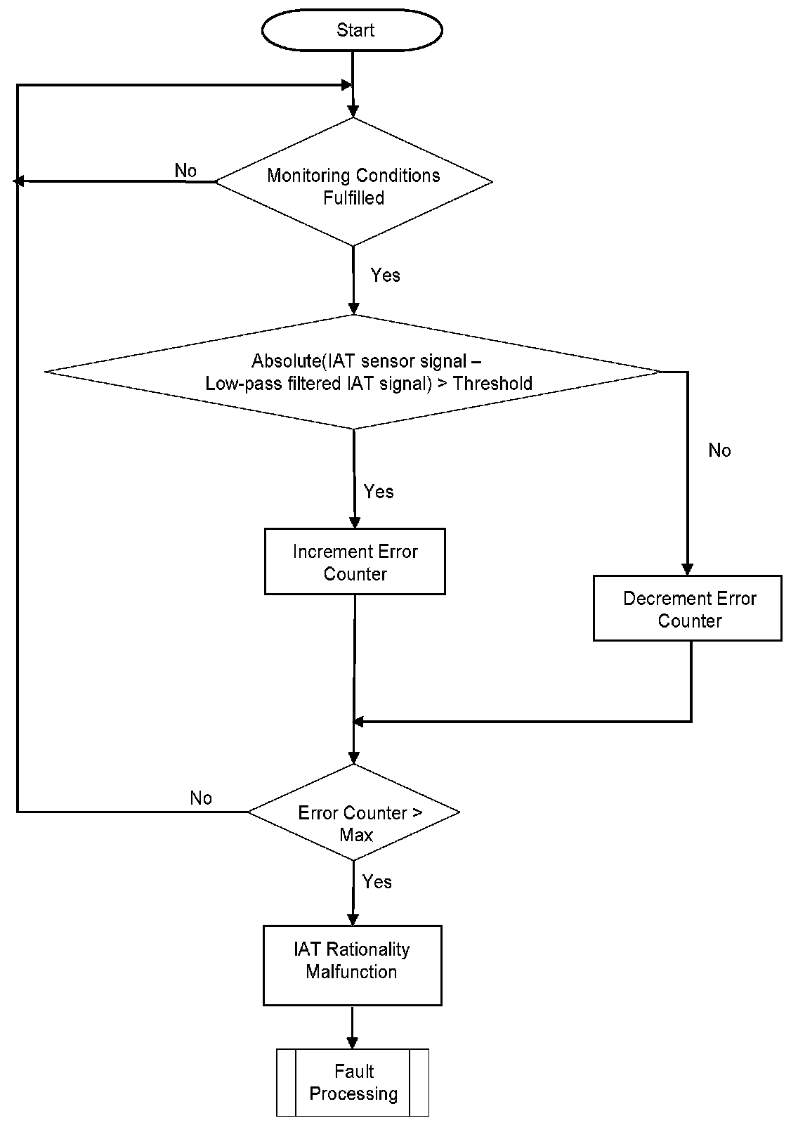
Intake Air Plausibility Check - Gradient diagnosis

General Description

The purpose of this diagnosis is to detect an implausible gradient on the intake-air-temperature sensor signal. The diagnosis checks whether the difference between the measured IAT value and a low-pass-filtered (PT1) IAT signal exceeds a calibrate able threshold. If this is the case, a intermittent IAT signal is detected.

Error Symptom
Signal not plausible

Flowchart: Intake Air Rationality Diagnosis - Gradient diagnosis