Operation CHARM: Car repair manuals for everyone.
Manuals through 2025 now available!

Our trusted friends have launched a new website named LEMON, which has newer manuals. It also contains all the CHARM manuals.

LEMON is the spiritual successor to CHARM, I recommend you try it!

Link: lemon-manuals.la or lemon-manuals.org.ua

(Some people have issue connecting. LEMON is investigating. For now, use Firefox or change your DNS server)

Or, hide this message: temporarily or permanently

Comprehensive Component Monitoring

COMPREHENSIVE COMPONENT MONITORING

Description

Principle:

- Sensors that can affect emissions or are used to monitor other component / system are monitored for circuit continuity and short to battery voltage and / or to ground using high and low voltage signal limit.
- Actuators that can affect emissions or are used to monitor other component / system are monitored by power stage voltage check for valid signals.

For some of sensors or actuators, plausibility checks are included to ensure proper operation of the components.

Monitoring Conditions:
Continuous Monitoring

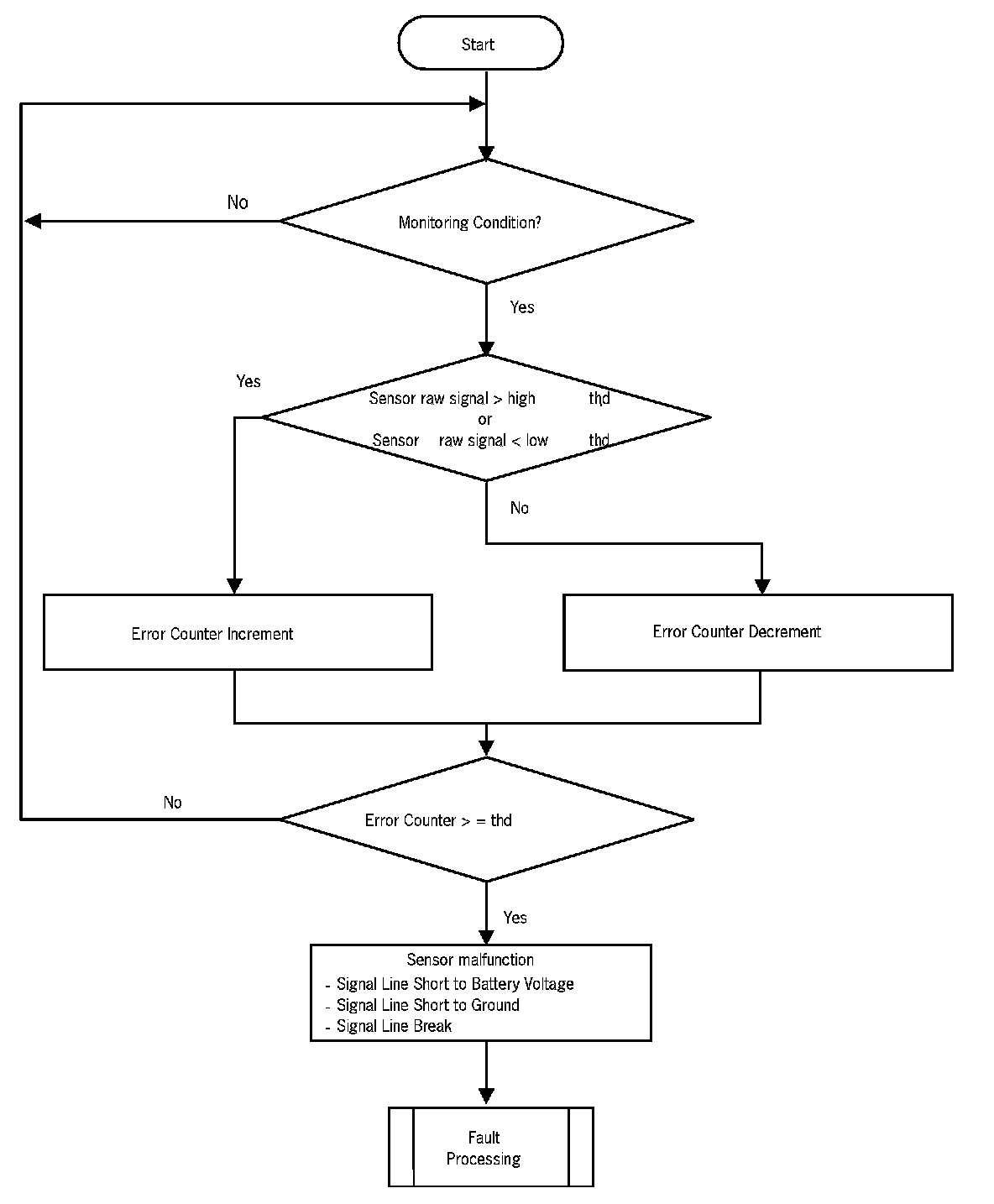
Monitoring Strategy for sensors:
- Sensor signals out of a defined range are regarded as circuit malfunctions shorted to BATT, GND or Open circuit.

Monitoring Strategy for actuators:
- Invalid actuator output signals at power stage are regarded as circuit malfunctions shorted to BATT, GND or Open circuit.

Rationality Check:
Components are checked for the integrity of their values. This is accomplished by the use of a model or other sensor inputs. If a component does not function as expected or the integrity is in question (values are not within a threshold) it is considered out of range / plausible.

Comprehensive Components

Sensors / Input signal:

- Intake air temperature sensor
- Ambient air temperature sensor
- Oil temperature sensor
- Air mass meter
- Load / Throttle rationality
- Vehicle speed sensor
- Ambient pressure sensor
- Crankshaft and Camshaft sensor
- Battery voltage
- CAN Communication
- Engine off time
- Pedal position sensor
- Fuel pressure sensor

Actuators / Output signal:
- Idle speed control
- Throttle control system
- Ignition system
- Fuel pressure actuator
- Powerstage check
- Engine control unit

Flow chart: - Monitoring strategy for sensors






Flow chart: - Monitoring strategy for actuators