Operation CHARM: Car repair manuals for everyone.
Manuals through 2025 now available!

Our trusted friends have launched a new website named LEMON, which has newer manuals. It also contains all the CHARM manuals.

LEMON is the spiritual successor to CHARM, I recommend you try it!

Link: lemon-manuals.la or lemon-manuals.org.ua

(Some people have issue connecting. LEMON is investigating. For now, use Firefox or change your DNS server)

Or, hide this message: temporarily or permanently

Manifold Pressure/Vacuum Sensor: Testing and Inspection

Pressure Sensor Diagnosis - For Turbocharged Engines

Ambient Pressure Electrical Check

General Description
The purpose of this diagnosis is to detect electrical faults as defined in OBDI requirements. The input signal is the sensor voltage. If the voltage is out of a calibratable range, an error symptom is set and an error counter is de-bounced.

Flowchart: Ambient Pressure Electrical Check






Ambient Pressure Sensor out of range check

General Description
The purpose of this diagnosis is to detect faults as defined in OBDII requirements. The input signal is the pressure value of the sensor. If the value is out of a calibrateable range but inside the electrical error thresholds, an error symptom is set and an error counter is de-bounced.

Flowchart: Ambient Pressure Sensor out of range check






Ambient Pressure Gradient Check

General Description
The purpose of this diagnosis is to detect faults as defined in OBD II requirements. If the sensor signal gradient is too high and the sensor has no electrical or other error, an error symptom is set and an error counter is de-bounced.

Flowchart: Ambient Pressure Gradient Check






Ambient Pressure Plausibility Check for turbocharged engines

General Description
The purpose of this diagnosis is to detect faults as defined in OBDII requirements. There are different possibilities to check the plausibility of the ambient pressure signal.

If the engine is not running and the ignition key is on or the ECU is in power latch phase, the ambient pressure sensor signal should be nearly the same as the manifold air pressure and the pressure upstream throttle sensor. If one sensor value is too much different from the both other sensor values, an error symptom is set and an error counter is de-bounced.

If the engine is running, the detection of a faulty sensor will be done during full load and pull fuel cut off phase. In full load, the manifold pressure and the pressure upstream throttle should be nearly the same. If they are unequal (above threshold) a suspicion will be set. In the next pull fuel cut off phase, ambient pressure and pressure upstream throttle should be nearly the same. If they are unequal (above threshold) and suspicion from full load is not set, then the ambient pressure sensor is faulty, an error symptom is set and an error counter is de-bounced.

Flowchart: Ambient Pressure Plausibility Check for turbocharged engines (engine stop)






Flowchart: Ambient Pressure Plausibility Check for turbocharged engines (engine run)






Manifold air pressure Electrical Check

General Description
The purpose of this diagnosis is to detect electrical faults as defined in OBDI requirements. The input signal is the sensor voltage. If the voltage is out of a calibrateable range, an error symptom is set and an error counter is de-bounced.

Flowchart: Manifold air pressure Electrical Check






Manifold air pressure Sensor out of range check

General Description
The purpose of this diagnosis is to detect faults as defined in OBDII requirements. The input signal is the pressure value of the sensor. If the value is out of a calibratable range but inside the electrical error thresholds, an error symptom is set and an error counter is de-bounced.

Flowchart: Manifold air pressure Sensor out of range check






Manifold air Pressure Plausibility Check for turbocharged engines

General Description
The purpose of this diagnosis is to detect faults as defined in OBDII requirements. There are different possibilities to check the plausibility of the ambient pressure signal.
If the engine is not running and the ignition key is on or the ECU is in power latch phase, the manifold air pressure sensor signal should be nearly the same as the ambient pressure and the pressure upstream throttle sensor. If one sensor value is too much different from the both other sensor values, an error symptom is set and an error counter is de-bounced.
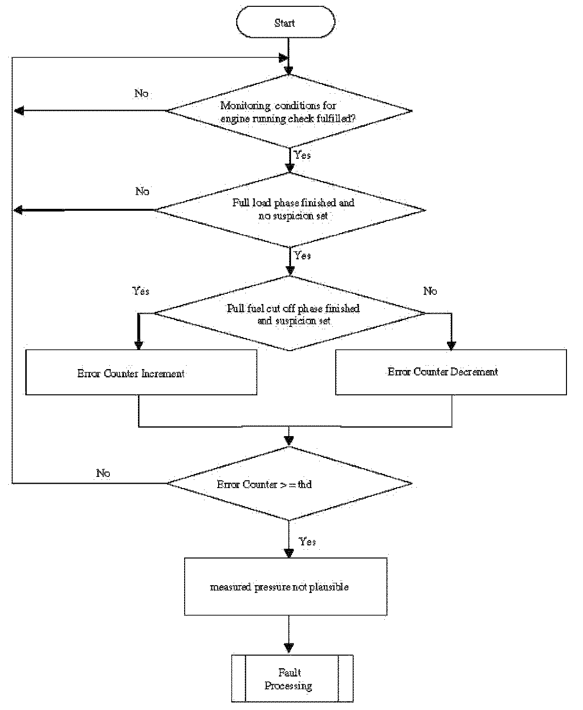
If the engine is running, the detection of a faulty sensor will be done during full load and pull fuel cut off phase. In full load, the manifold pressure and the pressure upstream throttle should be nearly the same. If they are unequal (above threshold) a suspicion will be set. In the next pull fuel cut off phase, ambient pressure and pressure upstream throttle should be nearly the same. If they are nearly equal (below threshold) and suspicion from full load is set, then the manifold air pressure sensor is faulty, an error symptom is set and an error counter is de-bounced.

Flowchart: Manifold air Pressure Plausibility Check for turbocharged engines (engine stop)






Flowchart: Manifold air Pressure Plausibility Check for turbocharged engines (engine run)






Pressure upstream throttle Electrical Check

General Description
The purpose of this diagnosis is to detect electrical faults as defined in OBDI requirements. The input signal is the sensor voltage. If the voltage is out of a calibratable range, an error symptom is set and an error counter is de-bounced.

Flowchart: Pressure upstream throttle Electrical Check






Pressure upstream throttle Sensor out of range check

General Description
The purpose of this diagnosis is to detect faults as defined in OBDII requirements. The input signal is the pressure value of the sensor. If the value is out of a calibratable range but inside the electrical error thresholds, an error symptom is set and an error counter is de-bounced.

Flowchart: Pressure upstream throttle Sensor out of range check






Pressure upstream throttle Plausibility Check for turbocharged engines

General Description
The purpose of this diagnosis is to detect faults as defined in OBDII requirements. There are different possibilities to check the plausibility of the ambient pressure signal.

If the engine is not running and the ignition key is on or the ECU is in power latch phase, the manifold air pressure sensor signal should be nearly the same as the ambient pressure and the pressure upstream throttle sensor. If one sensor value is too much different from the both other sensor values, an error symptom is set and an error counter is de-bounced.

If the engine is running, the detection of a faulty sensor will be done during full load and pull fuel cut off phase. In full load, the manifold pressure and the pressure upstream throttle should be nearly the same. If they are unequal (above threshold) a suspicion will be set. In the next pull fuel cut off phase, ambient pressure and pressure upstream throttle should be nearly the same. If they are unequal too (above threshold) and suspicion from full load is set, then the pressure upstream throttle sensor is faulty, an error symptom is set and an error counter is de-bounced.

Flowchart: Pressure upstream throttle Plausibility Check for turbocharged engines (engine stop)






Flowchart: Pressure upstream throttle Plausibility Check for turbocharged engines (engine run)