Operation CHARM: Car repair manuals for everyone.
Manuals through 2025 now available!

Our trusted friends have launched a new website named LEMON, which has newer manuals. It also contains all the CHARM manuals.

LEMON is the spiritual successor to CHARM, I recommend you try it!

Link: lemon-manuals.la or lemon-manuals.org.ua

(Some people have issue connecting. LEMON is investigating. For now, use Firefox or change your DNS server)

Or, hide this message: temporarily or permanently

Subframe: Service and Repair



WM 518941 Repairing threaded bushes for suspension subframe installation

Tools













Installing threaded bush

Installing repair threaded bush





Installation position of threaded bush for suspension subframe mount






NOTICE

Improper thread repairs
- Damaged thread

-> Thread repairs can only be carried out using the Time-Sert thread repair system.

Information

The repair bush must be installed recessed. Milling in may only be performed using the Porsche special tool contained in the Time-Sert thread repair kit.

Information

While pressing in the base thread, a noticeably larger amount of force is required on the screw-in tool to form the internal thread. Pressing is finished when the screw-in tool can be turned further more easily.

1. Drill out thread
Select M10 or M14 kit.
Drill out old thread as far as the base of the thread using a drill bit contained in the M10 or M14 kit B.





Drilling out thread
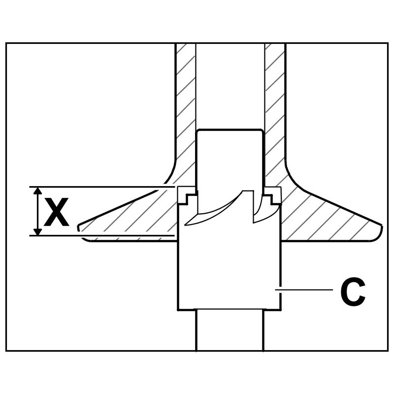
2. Mill in shoulder
Select M10 or M14 kit.
Mill out bore hole up to dimension X using spot facer C. See Table. Milling in may only be performed using the tool contained in the Porsche special tools. Use an electronically controlled power drill set to a speed of approx. 250 rpm (1/min) for milling in.





Milling in shoulder
3. Cut thread
Cut thread into the chassis bushing using a cutting tool D up to dimension Y. See Table ?????. Clean the thread on the chassis bushing (blow it out).





Cutting thread
4. Position threaded bush on the screw-in tool.
Clean the thread on the bush and screw-in tool.
Oil the screw-in tool E.
Screw the threaded bush A onto the screw-in tool E by hand.





Positioning threaded bush on screw-in tool
5. Screw in threaded bush
Screw threaded bush A in fully (note bush length classification) using the screw-in tool E.





Screwing in threaded bush
6. Press threaded bush
Shape and press threaded bush E by turning further with the screw-in tool D in the base thread.





Pressing threaded bush
7. Unscrew screw-in tool
Unscrew screw-in tool E from the threaded bush A.

Table classification for suspension subframe repairs





-------------------------------------------------------------------------------

997110, 997111, 997120, 997121, 997140, 997141, 997150, 997151, 997160, 997161, 997170, 997310, 997311, 997320, 997321, 997350, 997351, 997360, 997361, 997370, 997410, 997411, 997420, 997421, 997430, 997431, 997450, 997451, 997460, 997461, 997510, 997511, 997520, 997521, 997560, 997561, 997610, 997611, 997620, 997621, 997630, 997631, 997650, 997651, 997660, 997661, 997720, 997721, 997810, 997811, 997830, 997840, 997841, 997850, 997851, 997860, 997861

Model year as of 2005
C00, C02, C05, C07, C08, C09, C10, C11, C12, C13, C14, C15, C16, C18, C19, C20, C21, C22, C23, C24, C25, C26, C27, C28, C32, C33, C34, C35, C36, C37, C38, C39, C45, C46, C98, C99