Oxygen Sensor: Testing and Inspection
DOWNSTREAM OXYGEN SENSOR - DYNAMIC / TRANSITION TIME: LEAN TO RICHMonitoring strategy
After leaving a deceleration fuel cut phase the engine is operated rich for a short period to bring the catalyst back into the designated operation point: Catalyst purge. The downstream oxygen sensor's signal gradient at the end of the catalyst purge phase is sampled to determine the too slow sensors.
Signal disturbance during "normal" operation is not used for this monitor.
Function Principle
Downstream Oxygen Sensor - Active Signal Check (Stuck lean / rich)
Monitoring Function:
This monitor consists of two parts.
1. Part one monitors the downstream sensor voltage during active fuel trim controller p-share. If the fuel trim control is active, the downstream sensor voltage must be in a band around the trim control set point. If the voltage is outside this band, a mass air flow integral is incremented. If this integral is over a threshold, a malfunction is detected (see also picture below.). When the downstream sensor voltage will not switch to rich before the integral is over a threshold after a fuel cut-off phase, then this fault will be stored, too.
If the above mentioned malfunctions is detected, the corresponding fault code is stored.
2. Part two - Downstream Active Test:
This monitor is an enhancement of the Downstream Oxygen Sensor - Active Signal Check (Stuck lean / rich) and the Trim Control Plausibility Monitoring. Its purpose is to help determine the root cause of a sticking downstream sensor signal or an implausible high I-share of the fuel trim controller.
The monitor will only be enabled if a fuel correction fault has been detected and a malfunction code has been stored or if the rear sensor signal check has detected, that the rear sensor signal is very rich or very lean and the corresponding malfunction fault code has stored.
If one of the listed fault codes exists, this diagnosis will be enabled to determine if the root cause of the malfunction is due to a stuck signal or characteristic line shift of the upstream O2 sensor or due to a stuck signal of the downstream O2 sensor or a system malfunction, i.e. vacuum leak, injector, etc...
If it has been determined that the upstream O2 signal was the root cause of the fuel correction fault, the appropriate DTC will be stored along with the fuel correction or with the downstream sensor stuck DTC (see 'Upstream Oxygen Sensor - Active Signal Check (Shift to lean / rich)').
If it has been determined that the downstream sensor signal was the root cause of the fuel correction fault, the appropriate DTC (see table below) will be stored along with the fuel correction or with the downstream sensor stuck DTC.
This function will also detect, if the oxygen sensor wire harness has been cross connected, i.e., Bank 1 with Bank 2. When this failure is present, the downstream sensor voltages of bank 1 and 2 are on opposite limits.
If one of the above mentioned malfunctions is detected, the corresponding fault code is stored.
Flowchart: Downstream Active Test
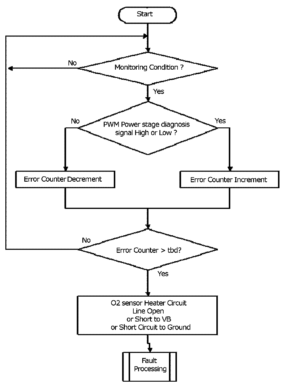
Downstream Oxygen Sensor - Heater Circuit Monitoring
Monitoring Function: Power stage
The purpose of this monitor is to detect errors within the O2 Sensor Heater Circuit. The signal for the O2 sensor heater is pulse-width modulated. The signal of the power stage is monitored internally by the driver. The driver can distinguish between three symptoms:
- HO2S Down SCVB (if duty ratio above tbd. %)
- HO2S Down SCG (if duty ratio below tbd. %)
- HO2S Down Open Line (if duty ratio within both limits)
If one of the above mentioned symptoms is present, a malfunction is detected and the corresponding fault code is stored.
Flowchart:
Downstream Oxygen Sensor - Heater Plausibility Monitoring
Monitoring Function: Circuit
For proper function of the oxygen sensor, the sensor element must be heated.
A non functioning heater delays the sensor readiness for closed loop control and thus influences emissions.
The monitoring strategy is based on the comparison of the O2 sensor resistance to a threshold. The cooling energy of the exhaust gas is calculated and compared to a calibrated threshold, and the diagnosis is activated if the cumulated cooling energy is equal or exceeds the threshold.
Then the O2 sensor resistance is compared to a threshold, and if the resistance higher than the threshold, an O2 sensor heater malfunction is detected and the corresponding fault code is stored.
Flowchart: