Operation CHARM: Car repair manuals for everyone.
Manuals through 2025 now available!

Our trusted friends have launched a new website named LEMON, which has newer manuals. It also contains all the CHARM manuals.

LEMON is the spiritual successor to CHARM, I recommend you try it!

Link: lemon-manuals.la or lemon-manuals.org.ua

(Some people have issue connecting. LEMON is investigating. For now, use Firefox or change your DNS server)

Or, hide this message: temporarily or permanently

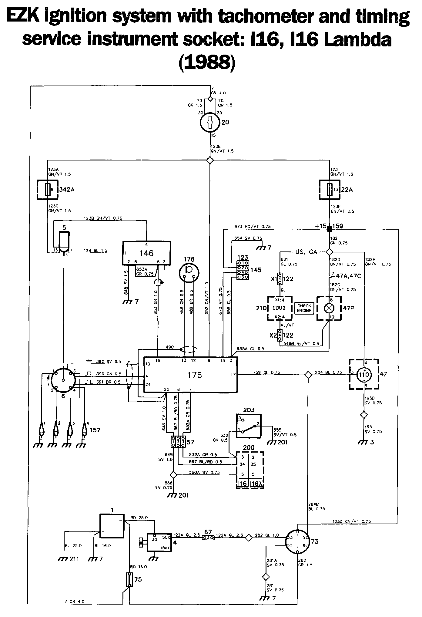
Ignition System: Locations

EZK Ignition System Components:




EZK Ignition System Diagrams:




Locations of components

1 Battery
On the left-hand side of the engine compartment

3 Earthing point, facia
At the left-hand front speaker socket

4 Starter motor
On the rear of the engine, below the intake manifold

5 Ignition coil
On the cross-member above the radiator

6 Ignition distributor
On the left-hand corner of the engine

7 Earthing point
On the left-hand wheel housing

8 Lighting relay

21 Ignition switch relay

113 Relay/time-delay relay for the rear window heater

147 Ignition pulse amplifier

158 Negative distribution terminal

159 Distribution terminal +15
In the electrical distribution box behind the glove compartment

20 Ignition switch
On the right-hand side of the steering column

22A Fuse board
Behind the access panel in the glove compartment

47A Fuel gauge

47C Coolant temperature gauge

47P CHECK ENGINE warning lamp

110 Tachometer
In the combined instrument on the facia

57 Three-pole connector
In the engine compartment, at the windscreen wiper motor

67 Six-pole connector
In the engine compartment, at the windscreen wiper motor

73 Timing service instrument (TSI) socket
On the left-hand side of the bulkhead

75 Distribution block
In the engine compartment, forward of the battery

122 Eight-pole connector
Two behind the EDU2 trip computer

145 Test tapping, EZK
On the left-hand side of the engine compartment, at the bulkhead

146 Amplifier for the electronic ignition system
On the left-hand wheel housing, at the battery

155 Relay for the AC and ACC radiator fan

156 Time-delay relay for the AC and ACC radiator fan

157 Spark plugs
On the top of the engine, under the cover

176 Control unit, EZK
1987: under the facia, to the left of the steering column (behind the knee shield)
1988: under the left-hand front seat

178 Knock sensor for the APC system
On the engine, between the two centre in take ports

200 Control unit for the LH fuel injection system
In the engine compartment, behind the bulkhead partition

201 Engine earthing point
At the engine lifting lug

203 Throttle angle transmitter for the LH fuel injection system
On the throttle housing

210 EDU2 trip computer
In the combined instrument

211 Earthing point
On the gearbox

342A Fuse board
In the electrical distribution box in the engine compartment, behind the left-hand headlamp

Operation

The EZK ignition system is fitted on 16-valve engines without turbocharger. The system is breakerless and is equipped with a Hall sensor. This ignition system is controlled by a knock sensor, to achieve the best possible performance from the grade of fuel being used. This provides good fuel economy and cleaner exhaust gases.

Ignition coil 5 and amplifier 146 are supplied via fuse 9, located in electrical distribution box 342, in the engine compartment. EZK control unit 176 is supplied (+15) when the ignition switch is in the start or drive position.

Firing signals will be applied from a Hall sensor in distributor 6 to control unit 176 via a shielded 3-conductor cable, at a rate corresponding to the speed of rotation of the engine. The control unit then adjusts the ignition timing to suit the following factors:
- engine speed
- engine load
- any knocking tendencies

The signals transmitted from terminal 16 of the control unit are amplified and adapted in amplifier 146. A high-tension pulse is generated in the secondary winding each time a pulse opens the primary circuit of the ignition coil. The high-tension pulse is then applied to the appropriate spark plug (157) across distributor 6.

When the engine is started, the ignition timing is set at 5°. The timing is first adjusted by the engine speed at around 700 r/min, and is based on the values stored in the control unit. (The distributor lacks centrifugal and vacuum adjustments.)

Fuel system control unit 200 provides the ignition system with information on the engine load. Throttle angle transmitter 203 is closed (earthed) when the throttle valve is in the rest position, i.e. when the engine is idling. When the load has exceeded the value stored in the ignition system control unit, the ignition timing will be retarded by around 60 on all cylinders. The timing will revert to normal in steps of around 10 when the load has ceased to increase.

Knocking in any of the cylinders is reported to the control unit via knock sensor 178. The timing is then retarded in steps of around 30 in the cylinder in which knocking occurs. This retardation of the timing continues until the knocking has ceased, or until the timing has been retarded a total of around 130. The timing will revert to normal in steps of around 0.350.

Test tapping 145 is intended for special testing equipment. Terminal 13 of the control unit emits a pulse each time a knock is detected. (The tapping is supplied with a positive voltage when the ignition switch is in the drive position.)

In case of a fault in the control unit, terminal 3 will be earthed and a signal will cause CHECK ENGINE warning lamp 47P to flash. The lamp can also be actuated by the fuel injection system.) On 116 Lambda cars for US and CA, the EDU2 CHECK ENGINE lamp will also flash.

Ignition pulses are supplied from terminal 17 of the control unit to timing service instrument socket 73 and to tachometer 110 (and also to the other ignition pulse-dependent systems).

Tachometer

Tachometer 110, located in combined instrument 47, is supplied via fuse 13 and +15 distribution terminal 159. Control unit 176 supplies the tachometer with the pulses required to indicate the engine speed.

Timing service instrument socket

Timing service instrument (TSI) socket 73 is intended for a special instrument and has the following terminals:

1. Positive supply directly from battery 1.
2. Earth.
3. Solenoid (terminal 50) of starter motor 4.
4. Positive supply across fuse 13 when the ignition switch is in the start or drive position.
5. Ignition pulses from control unit 176.
6. Not used.

Fault-tracing hints
Always disconnect the connector from the control unit when carrying out check measurements in the ignition system wiring. Use an ohmmeter (not a buzzer).

The ignition system will be energized when the ignition switch is in the drive position.

1. Check fuse 9 and check that the supply to this fuse is live.
2. Check that terminal 15 of the ignition coil and terminal 4 of the timing service instrument socket are live.
3. Check that terminal 4 of amplifier 146 and terminal 6 of control unit 176 are live.
4. Tachometer. First, check fuse 13 and check that the supply to this fuse is live. Check that terminal 4 of the PCB for tachometer 110 is live, and that ignition pulses are being received from control unit 176.
5. Check the connectors, wiring and earth connections.