Operation CHARM: Car repair manuals for everyone.
Manuals through 2025 now available!

Our trusted friends have launched a new website named LEMON, which has newer manuals. It also contains all the CHARM manuals.

LEMON is the spiritual successor to CHARM, I recommend you try it!

Link: lemon-manuals.la or lemon-manuals.org.ua

(Some people have issue connecting. LEMON is investigating. For now, use Firefox or change your DNS server)

Or, hide this message: temporarily or permanently

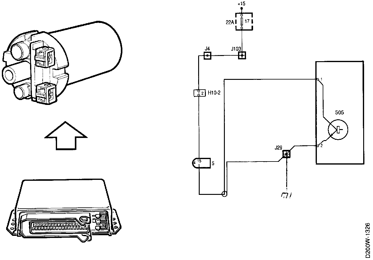
Ignition Spark/Triggering





PRINCIPLE OF OPERATION, IGNITION SPARK/TRIGGERING

Ignition Coil
The ignition coil in the MOTRONIC 2.10.2 system is of conventional design for electronic ignition systems having low resistance. The ignition coil supplies the spark plugs with high tension, which at full engine load amounts to about 30,000 volts.

The ignition coil is controlled by the ignition output stage, which in the MOTRONIC system is incorporated in the control module.

The ignition coil has two connector pins, +15 and -1, but only one is used. Via pin 1 of the control module, the ignition output stage grounds or "opens" the connection to pin 1 of the ignition coil, causing the coil to generate a spark. Triggering of this signal is controlled momentarily on the basis of the engine load (Tq) and engine speed (RPM).

At idling speed the frequency on pin 1 is about 30-32 Hz.

The cylinder which is to have a spark is determined by the distributor.