Operation CHARM: Car repair manuals for everyone.
Manuals through 2025 now available!

Our trusted friends have launched a new website named LEMON, which has newer manuals. It also contains all the CHARM manuals.

LEMON is the spiritual successor to CHARM, I recommend you try it!

Link: lemon-manuals.la or lemon-manuals.org.ua

(Some people have issue connecting. LEMON is investigating. For now, use Firefox or change your DNS server)

Or, hide this message: temporarily or permanently

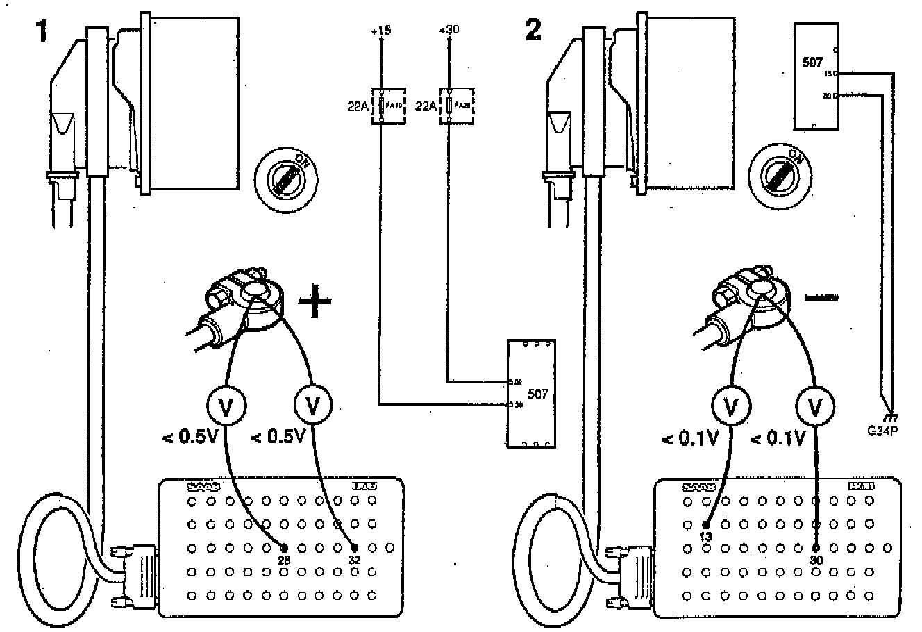
Checking Control Module's Power Supply and Ground Connection






Fault Symptom
- Alternative I: TCS OFF lamp on, TCS inoperative.
- Alternative II: TCS OFF lamp and TCS lamp both fail to light up when ignition turned ON.
- Alternative II: Malfunctioning.

Diagnostic Procedure
When a BOB is connected in conjunction with fault diagnosis, the voltage supply and ground connections should always be checked first, as follows:
Ignition switch in Drive position
1. Battery positive - pin 32 <0.5 V
2. Battery positive - pin 28 <0.5 V
3. Pin 30 - Battery negative <0.1 V
4. Pin 13 - Battery negative <0.1 V