Operation CHARM: Car repair manuals for everyone.
Manuals through 2025 now available!

Our trusted friends have launched a new website named LEMON, which has newer manuals. It also contains all the CHARM manuals.

LEMON is the spiritual successor to CHARM, I recommend you try it!

Link: lemon-manuals.la or lemon-manuals.org.ua

(Some people have issue connecting. LEMON is investigating. For now, use Firefox or change your DNS server)

Or, hide this message: temporarily or permanently

Control Module










Control Module

The control module is integrated in the MCC unit and is activated by +15 or by the parking heater input. If the control module is activated, the fan speed can be regulated.

If the power supply falls below 9.5 V, all the stepping motors will cease to function until the voltage rises above 1O V.

Diagnostics
The control module is not connected to the bus and does not communicate with Tech 2. A stored diagnostic trouble code is flashed six times in succession by the LED for the electrically heated rear window if the button is depressed while turning on the ignition, and for a further 2 seconds after that.

Only one fault can be stored at any one time. Diagnostic trouble codes are deleted by calibration after rectifying the fault.

There is no diagnostic trouble code for internal faults in the control module.








Control module power supply

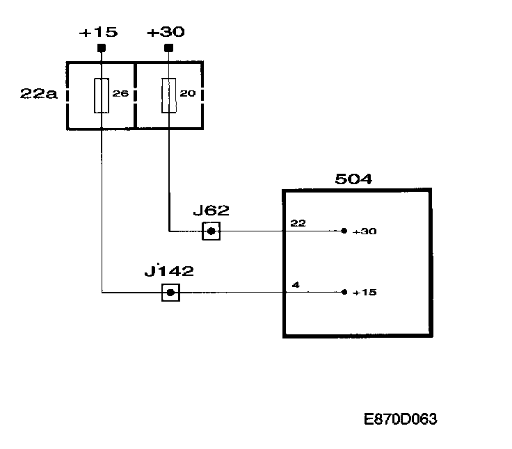
+30
Pin 22 on the MCC unit is supplied with current form the +30 circuit via fuse 20.

+15
Pin 4 on the MCC unit is supplied with current from +15 via fuse 26. +15 is used to activate the control module.

Diagnostics
The fan speed cannot be regulated if there is no power supply.








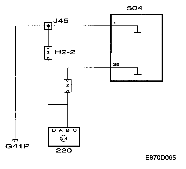
Ground

The MCC unit's power ground goes between G41P and pin 1.

The fan control unit receives a reference ground from pin 35.

Diagnostics
If there is no ground connection to pin 1, the fan speed cannot be regulated. If there is no ground connection to pin 35, the fan will run at full speed.