Operation CHARM: Car repair manuals for everyone.
Manuals through 2025 now available!

Our trusted friends have launched a new website named LEMON, which has newer manuals. It also contains all the CHARM manuals.

LEMON is the spiritual successor to CHARM, I recommend you try it!

Link: lemon-manuals.la or lemon-manuals.org.ua

(Some people have issue connecting. LEMON is investigating. For now, use Firefox or change your DNS server)

Or, hide this message: temporarily or permanently

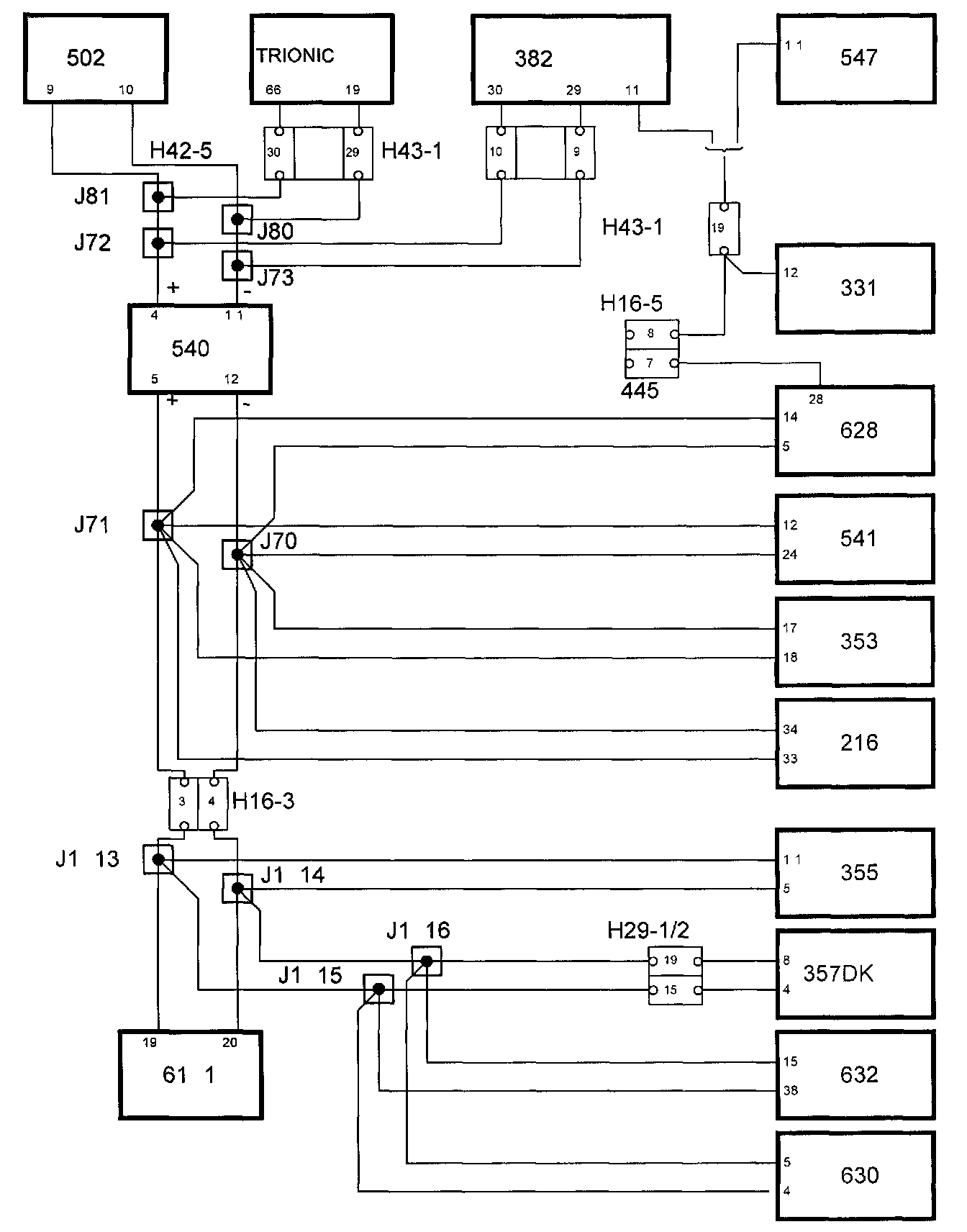
System Overview




System Overview

System Overview, Function








System overview, components







System overview, brief description


System Overview, Brief Description:






P bus and I bus in the Saab 9-5

All control modules in the Saab 9-5 are connected to the bus with the exception of ABS and SRS. For cars with Traction Control, the TC/ABS control module is connected to the bus.

The bus allows large quantities of data to be sent between the control modules on only two cables. The bus is divided into a Power train bus (P bus) and an Instrument bus (I bus).

Trionic, TCM and TC/ABS power train systems require fast data communication so that no noticeable delay occurs, e.g. for torque limitation when changing gears.

Trionic, TCM and TC/ABS are connected to the P bus, on which data transfer is ten times faster than on the I bus.

The P bus and I bus are connected to the MIU. The MIU is responsible for making information on one bus available to the other bus.

The diagnostic instrument is not connected directly to the bus but communicates via the DICE, one of the control modules connected to the I bus, and so has access to all control modules connected to the bus.

Vehicle speed data is important for many control modules. Since the ABS is not connected to the bus, the vehicle speed signal is sent on a separate lead from the ABS to the MIU. The MIU then sends the data over the busses. In cars with Traction Control, the TC/ABS sends vehicle speed data to the MIU via the P bus.