Operation CHARM: Car repair manuals for everyone.
Manuals through 2025 now available!

Our trusted friends have launched a new website named LEMON, which has newer manuals. It also contains all the CHARM manuals.

LEMON is the spiritual successor to CHARM, I recommend you try it!

Link: lemon-manuals.la or lemon-manuals.org.ua

(Some people have issue connecting. LEMON is investigating. For now, use Firefox or change your DNS server)

Or, hide this message: temporarily or permanently

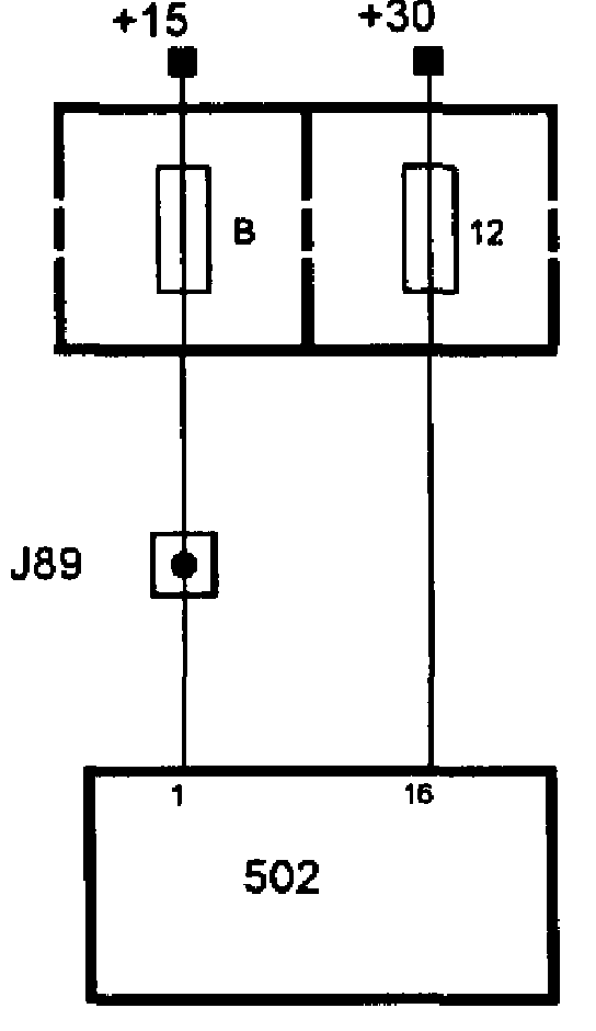
Control Module Power Supply







Battery voltage (+30 circuit)

+30 current is fed via fuse 12 to control module pin 16. The control module uses +30 current for the bus function when the ignition is in position OFF (+15).

Battery voltage (+15 circuit)
+15 current is fed via fuse B to pin 1 of the control module. The control module is activated by the +15 current.

Diagnostics





Should the power supply drop below 9 V or exceed 16 V for at least 0.5 seconds, diagnostic trouble code P0560 will be generated and the TCM will go into Limp-Home mode.