Operation CHARM: Car repair manuals for everyone.
Manuals through 2025 now available!

Our trusted friends have launched a new website named LEMON, which has newer manuals. It also contains all the CHARM manuals.

LEMON is the spiritual successor to CHARM, I recommend you try it!

Link: lemon-manuals.la or lemon-manuals.org.ua

(Some people have issue connecting. LEMON is investigating. For now, use Firefox or change your DNS server)

Or, hide this message: temporarily or permanently

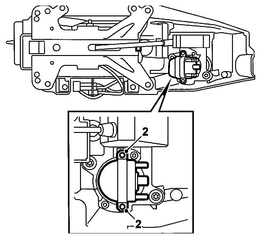
A/T, Ignition Switch Contacts

Ignition switch contacts
To remove





1. Remove the selector lever housing.

Important: When working on a dismantled selector lever housing, the selector lever should be protected with foam rubber or the like.

2. Remove the ignition switch contacts.

Fitting





1. Screw the ignition switch contacts in place. Use Loctite 242 thread-locking adhesive, part number 74 96 268, on the screws.
Carefully tighten the screws.
2. Fit the selector lever housing.