Operation CHARM: Car repair manuals for everyone.
Manuals through 2025 now available!

Our trusted friends have launched a new website named LEMON, which has newer manuals. It also contains all the CHARM manuals.

LEMON is the spiritual successor to CHARM, I recommend you try it!

Link: lemon-manuals.la or lemon-manuals.org.ua

(Some people have issue connecting. LEMON is investigating. For now, use Firefox or change your DNS server)

Or, hide this message: temporarily or permanently

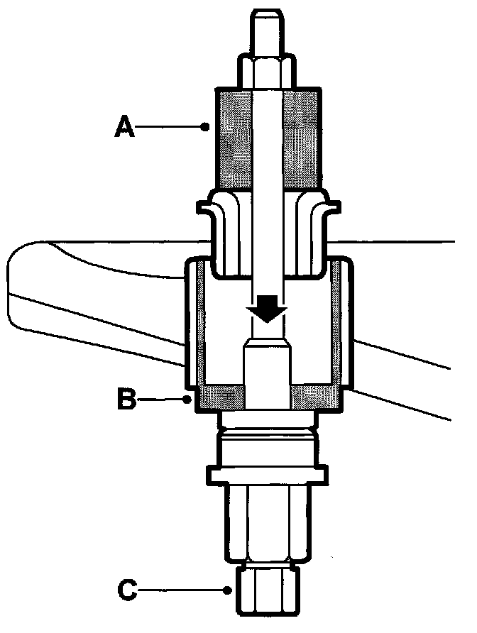
Front, Subframe Bushes

Subframe bushes
To remove
1. Remove the subframe.





2. Remove the bush using 89 96 779 Press sleeve kit, front assembly.
A: KM-907-11
B: KM-907-12
C: KM-907-30

To fit

Important: The bush must be mounted with one opening facing forwards and one facing rearwards.





1. Lubricate the bush with soap solution and fit it using 89 96 779 Press sleeve kit, front assembly.
A: KM-907-14
B for front and rear bush: KM-907-13
B for middle bush: 89 96 878
C: KM-907-30
2. Fit the subframe.