Operation CHARM: Car repair manuals for everyone.
Manuals through 2025 now available!

Our trusted friends have launched a new website named LEMON, which has newer manuals. It also contains all the CHARM manuals.

LEMON is the spiritual successor to CHARM, I recommend you try it!

Link: lemon-manuals.la or lemon-manuals.org.ua

(Some people have issue connecting. LEMON is investigating. For now, use Firefox or change your DNS server)

Or, hide this message: temporarily or permanently

Console: Service and Repair




Console Box:






REMOVAL

Disconnect the ground cable from battery.
Remove the console front panel.







Remove the shift knob (MT model).
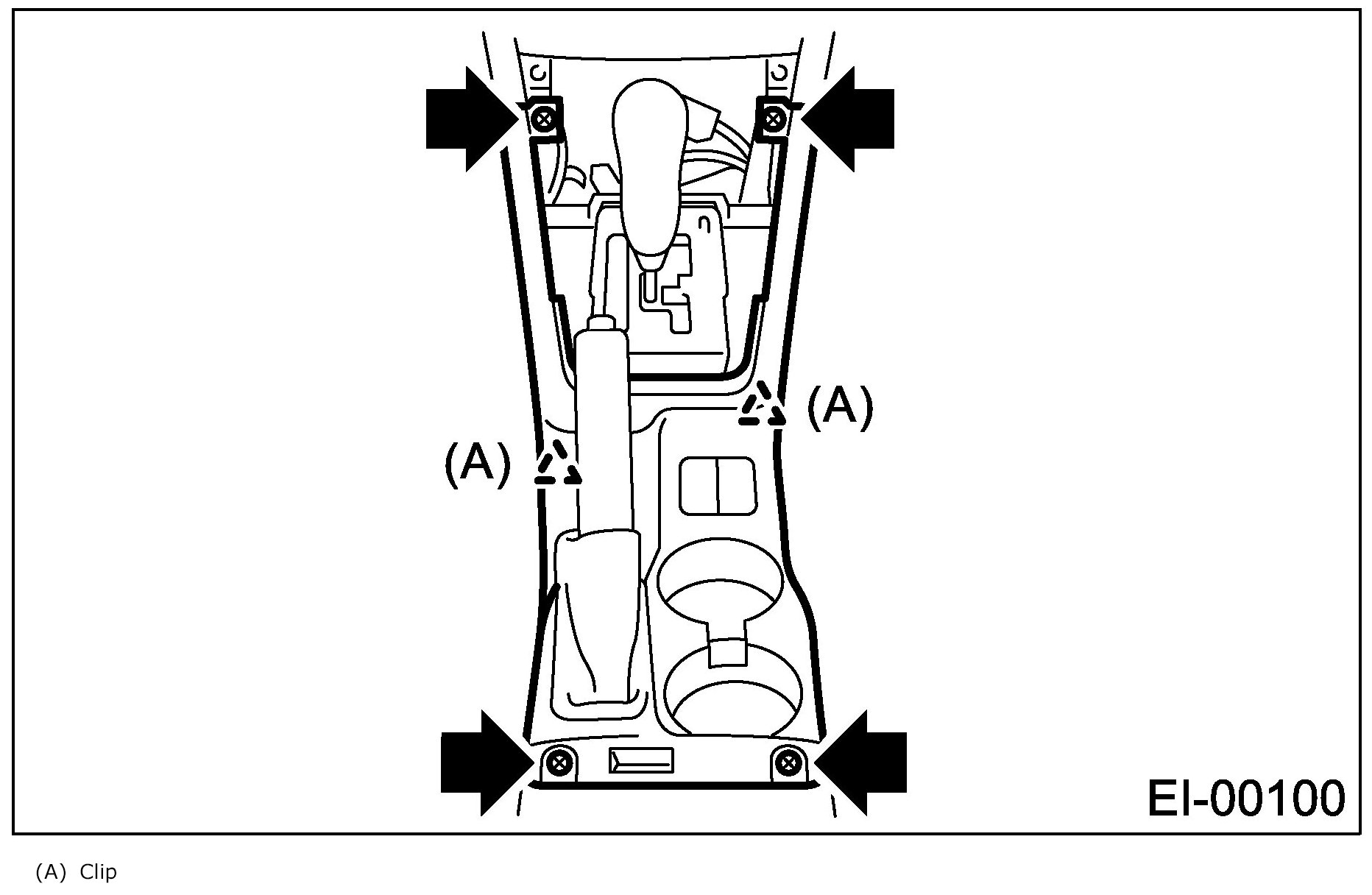
Remove the screws to remove console cover.







Remove the screws.







Remove the hook pawl of console side panel to remove console box.







INSTALLATION

Install in the reverse order of removal.