Operation CHARM: Car repair manuals for everyone.
Manuals through 2025 now available!

Our trusted friends have launched a new website named LEMON, which has newer manuals. It also contains all the CHARM manuals.

LEMON is the spiritual successor to CHARM, I recommend you try it!

Link: lemon-manuals.la or lemon-manuals.org.ua

(Some people have issue connecting. LEMON is investigating. For now, use Firefox or change your DNS server)

Or, hide this message: temporarily or permanently

Brake Pedal Assy: Service and Repair

Brake Pedal

REMOVAL
MT MODEL
Remove the steering shaft.
Disconnect the connectors (for stop light switch, etc.) from pedal bracket.
Remove the clevis pin which secures the lever to push rod.
Remove the nut which secures the clutch master cylinder.
Remove the accelerator pedal.
Remove the bolts and nuts which the secure pedal bracket.





AT MODEL
Disconnect the ground cable from battery.
Remove the instrument panel lower cover from instrument panel.
Remove the clevis pin which secures the brake pedal to brake booster operating rod. Also disconnect the stop light switch connector.
Remove the four bolts and four nuts which secure the brake pedal to pedal.





(1) Clevis pin
(2) Snap pin
(3) Operating rod

INSTALLATION
Install in the reverse order of removal.

Important:
^ If the cable clamp is damaged, replace it with a new one.
^ Never fail to cover the outer cable end with boot.
^ Be careful not to kink the accelerator cable.
^ Always use new clevis pins.

Adjust the clutch pedal
Inspect the brake pedal after installation

DISASSEMBLY
MT MODEL
Remove the brake switch.
Remove the clutch pedal.
Remove the clutch master cylinder bracket.





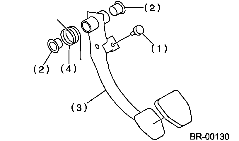
Remove the bushing, spring and stopper.





(1) Stopper
(2) Bushing
(3) Brake pedal
(4) Brake pedal spring

Remove the brake pedal pad.

AT MODEL
Remove the brake switch.
Unbolt, and then remove the brake pedal.





Remove the bushing, spacer and spring.





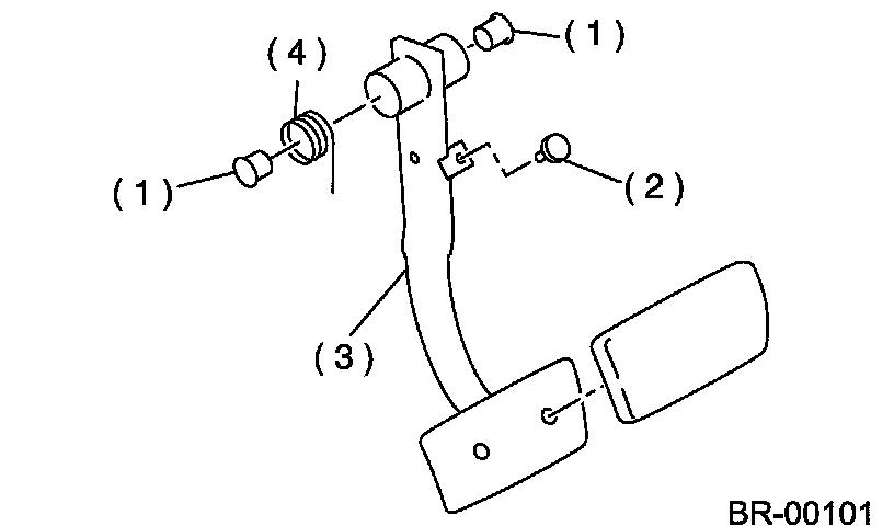
(1) Plug
(2) Stopper
(3) Brake pedal
(4) Brake pedal spring

Remove the brake pedal pad.

ASSEMBLY
Attach the stop light switch, etc. to pedal bracket temporarily.
Clean the inside of bores of clutch pedal and brake pedal, apply grease, and set the bushings into bores.
Align bores of the pedal bracket, clutch pedal and brake pedal, attach the brake pedal return spring and clutch pedal effort reducing spring (model with hill holder), and then install the pedal bolt.

Note: Clean up the inside of bushings and apply grease before installing spacer.

Tightening torque:
T: 30 Nm (3.1 kgf-m, 22.1 ft. lbs.)





Adjust the stop light switch position after installing the brake pedal to vehicle.