Operation CHARM: Car repair manuals for everyone.
Manuals through 2025 now available!

Our trusted friends have launched a new website named LEMON, which has newer manuals. It also contains all the CHARM manuals.

LEMON is the spiritual successor to CHARM, I recommend you try it!

Link: lemon-manuals.la or lemon-manuals.org.ua

(Some people have issue connecting. LEMON is investigating. For now, use Firefox or change your DNS server)

Or, hide this message: temporarily or permanently

Rear Disc

Rear Disc

REMOVAL
Set the vehicle on a lift.
Loosen the wheel nuts.
Lift-up the vehicle, and then remove the wheels.
Pull down and release the parking brake.
Remove the two mounting bolts, and then remove the disc brake assembly.





Suspend the disc brake assembly so that hose is not stretched.
Remove the disc rotor.

Note: If the disc rotor is difficult to remove try following two methods in order.

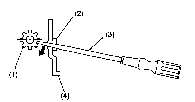
Turn the adjusting screw using a flat tip screwdriver until brake shoe gets away enough from the disc rotor.





(1) Adjusting screw
(2) Cover
(3) Flat tip screwdriver
(4) Back plate

If the disc rotor seizes up within hub, drive the disc rotor out by installing an 8-mm bolt in holes B on rotor.





INSTALLATION
Install in the reverse order of removal.
Adjust the parking brake.