Operation CHARM: Car repair manuals for everyone.
Manuals through 2025 now available!

Our trusted friends have launched a new website named LEMON, which has newer manuals. It also contains all the CHARM manuals.

LEMON is the spiritual successor to CHARM, I recommend you try it!

Link: lemon-manuals.la or lemon-manuals.org.ua

(Some people have issue connecting. LEMON is investigating. For now, use Firefox or change your DNS server)

Or, hide this message: temporarily or permanently

Piston: Testing and Inspection

Inspection

Cylinder And Piston
1. The cylinder bore size is stamped on the cylinder block's front upper surface.

NOTE:
^ Measurement should be performed at a temperature of 20°C (68°F).
^ Standard sized pistons are classified into two grades, "A" and "B". These grades should be used as guide lines in selecting a standard piston.


Standard diameter.
A: 92.005 - 92.015 mm (3.6222 - 3.6226 inch)
B: 91.995 - 92.005 mm (3.6218 - 3.6222 inch)





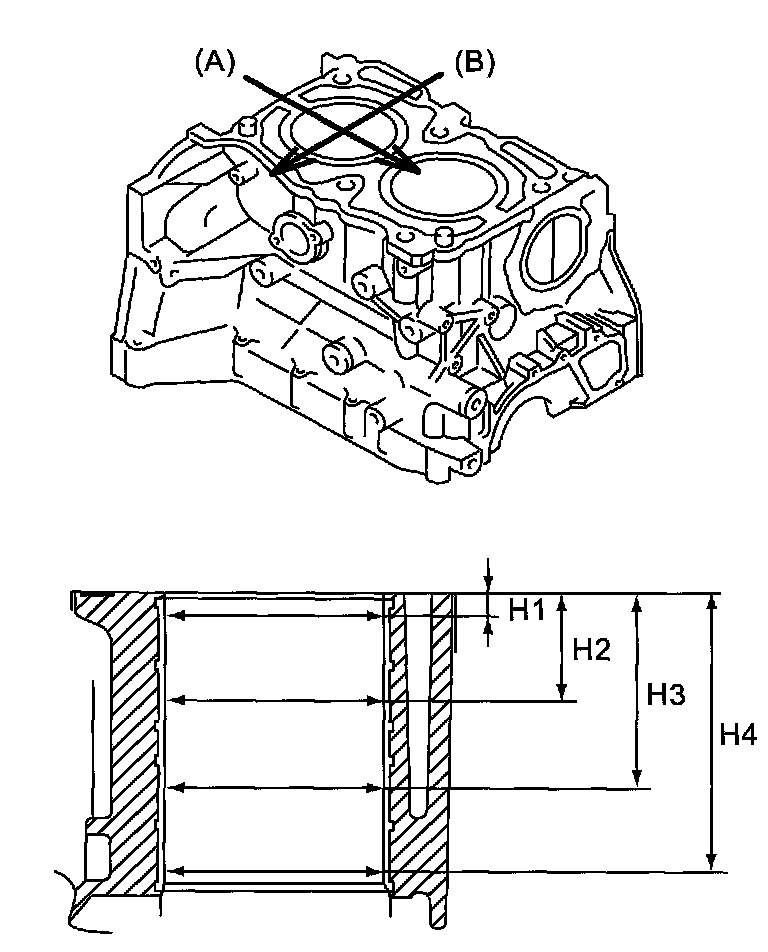
(A) Main journal size mark
(B) Cylinder block (RH)-(LH) combination mark
(C) #1 cylinder bore size mark
(D) #2 cylinder bore size mark
(E) #3 cylinder bore size mark
(F) #4 cylinder bore size mark

2. How to measure the inner diameter of each cylinder:
Measure the inner diameter of each cylinder in both the thrust and piston pin directions at the heights as shown in the figure, using a cylinder bore gauge.

NOTE: Measurement should be performed at a temperature of 20°C (68°F).

Taper.
Standard 0.015 mm (0.0006 inch)
Limit 0.050 mm (0.0020 inch)
Out-of-roundness:
Standard 0.010 mm (0.0004 inch)
Limit 0.050 mm (0.0020 inch)





(A) Piston pin direction
(B) Thrust direction
H1: 10 mm (0.39 inch)
H2: 45 mm (1.77 inch)
H3: 80 mm (3.15 inch)
H4: 115 mm (4.53 inch)

3. When the piston is to be replaced due to general or cylinder wear, determine a suitable sized piston by measuring the piston clearance.
4. How to measure the outer diameter of each piston: Measure the outer diameter of each piston at the height as shown in the figure. (Thrust direction)

NOTE: Measurement should be performed at a temperature of 20°C (68°F).

Piston grade point H: 40.0 mm (1.57 inch)
Piston outer diameter:
Standard
A: 91.985 - 91.995 mm (3.6214 - 3.6218 inch)
B: 91.975 - 91.985 mm (3.6211 - 3.6214 inch)
0.25 mm (0.0098 inch) oversize
92.225 - 92.235 mm (3.6309 - 3.6313 inch)
0.50 mm (0.0197 inch) oversize
92.475 - 92.485 mm (3.6407 - 3.6411 inch)





5. Calculate the clearance between cylinder and piston.

NOTE: Measurement should be performed at a temperature of 20°C (68°F).

Cylinder to piston clearance at 20°C (68°F):
Standard -0.010 - 0.010 mm (-0.00039 - 0.00039 inch)
Limit 0.030 mm (0.0012 inch)

6. Boring and honing
a. If the value of taper, out-of-roundness, or cylinder-to-piston clearance measured exceeds the standard value or if there is any damage on the cylinder wall, rebore it to use an oversize piston.

CAUTION: When any of the cylinders needs reboring, all other cylinders must be bored at the same time, and use oversize pistons. Do not perform boring on one cylinder only. Nor use an oversize piston for one cylinder only.

b. If the cylinder inner diameter exceeds limit after boring and honing, replace the cylinder block.
Limit of cylinder inner diameter (diameter): 100. 005 mm (3.937 inch)

NOTE: Immediately after reboring, the cylinder diameter may differ from its real diameter due to temperature rise. Thus, pay attention when measuring the cylinder diameter.

Limit of cylinder enlarging (boring):
0.5 mm (0.020 inch)