Operation CHARM: Car repair manuals for everyone.
Manuals through 2025 now available!

Our trusted friends have launched a new website named LEMON, which has newer manuals. It also contains all the CHARM manuals.

LEMON is the spiritual successor to CHARM, I recommend you try it!

Link: lemon-manuals.la or lemon-manuals.org.ua

(Some people have issue connecting. LEMON is investigating. For now, use Firefox or change your DNS server)

Or, hide this message: temporarily or permanently

Removal and Replacement

Cylinder Block

CYLINDER BLOCK:




CYLINDER BLOCK:





Removal

NOTE: Before conducting this procedure, drain the engine oil completely if applicable.

1. Remove the intake manifold.
2. Remove the V-belt.
3. Remove the crank pulley.
4. Remove the timing belt cover.
5. Remove the timing belt.
6. Remove the cam sprockets.
7. Remove the crank sprocket.
8. Remove the generator and A/C compressor with their brackets.
9. Remove the cylinder head.
10. Remove the clutch disc and cover. (MT model)
11. Remove the flywheel. (MT model)
ST 498497100 CRANKSHAFT STOPPER





12. Remove the oil separator cover.
13. Remove the water by-pass pipe for heater.
14. Remove the oil filter.
ST 18332AA010 OIL FILTER WRENCH (Outer diameter: 65 mm (2.56 inch))
ST 18332AAOOO OIL FILTER WRENCH (Outer diameter: 68 mm (2.68 inch))
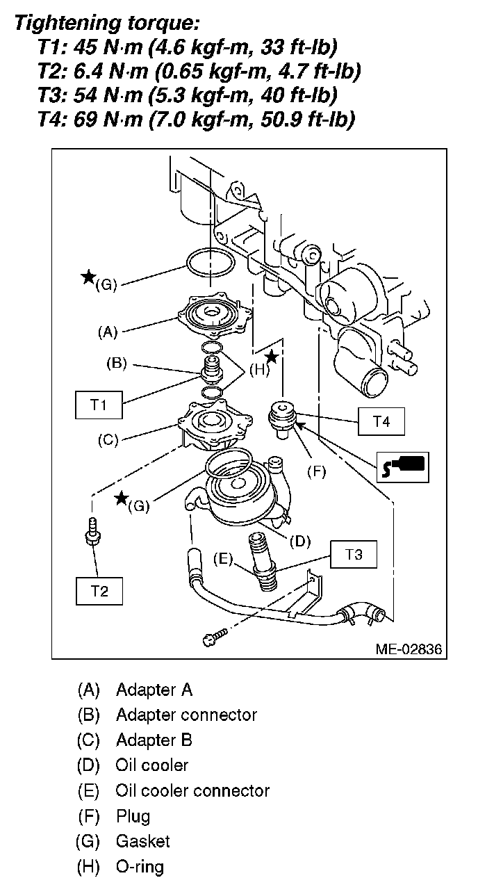
15. Remove the oil cooler.





16. Remove the water pump.
17. Remove the oil pump from cylinder block.

NOTE:
^ If disassembling or inspecting the oil pump, loosen the plug of relief valve before removing the oil pump.
^ Remove the oil pump from cylinder block. Use a flat tip screwdriver when removing the oil pump.


CAUTION: Be careful not to scratch the mating surface of cylinder block and oil pump.





18. Removal of oil pan:
a. Turn the cylinder block with #2 and #4 piston sides facing upward.
b. Remove the bolts which secure oil pan to cylinder block.
c. Insert an oil pan cutter blade between cylinder block-to-oil pan clearance, and then remove the oil pan.

CAUTION: Do not use a screwdriver or similar tool in place of oil pan cutter.

19. Remove the oil strainer stay.
20. Remove the oil strainer.
21. Remove the baffle plate.
22. Remove the water pipes.





23. Remove the service hole cover and service hole plugs using hexagon wrench [14 mm].





24. Rotate the crankshaft to bring #1 and #2 pistons to bottom dead center position, and then remove the piston snap ring through service hole of #1 and #2 cylinders.





25. Draw out the piston pin from #1 and #2 pistons using ST.
ST 499097700 PISTON PIN REMOVER

NOTE: Be careful not to confuse the original combination of piston, piston pin and cylinder.





26. Similarly remove the piston pins from #3 and #4 pistons.
27. Remove the bolts which connect the cylinder block on the side of #2 and #4 cylinders.
28. Back off the bolts which connect the cylinder block on the side of #1 and #3 cylinders two or three turns.
29. Set up the cylinder block so that #1 and #3 cylinders are on the upper side, then remove the cylinder block connecting bolts.
30. Separate the cylinder blocks (LH) and (RH).

NOTE: When separating the cylinder block, do not allow the connecting rod to fall and damage the cylinder block.





31. Remove the rear oil seal.
32. Remove the crankshaft together with connecting rod.
33. Remove the crankshaft bearings from cylinder block using a hammer handle.

NOTE: Do not confuse the combination of crankshaft bearings. Press the bearing at the end opposite to locking lip.

34. Draw out each piston from cylinder block using a hammer handle.

NOTE: Do not confuse the combination of piston and cylinder.

Installation





1. Remove oil in the mating surface of bearing and cylinder block before installation. Also apply engine oil to crankshaft pins.
2. Install the crankshaft bearing to cylinder block, apply engine oil to crankshaft bearing, and position the crankshaft and O-ring on #1 and #3 cylinder block.
3. Apply liquid gasket to the mating surface of #1 and #3 cylinder block, and position #2 and #4 cylinder block.
Liquid gasket. Part No. 004403007 THREE BOND 1215 or equivalent

NOTE: Do not allow liquid gasket to jut into O-ring grooves, oil passages, bearing grooves, etc.





4. Apply engine oil to washers and thread of bolts.
5. Tighten the 10 mm cylinder block connecting bolts in alphabetical sequence shown in the figure. (LH side)
Tightening torque: 10 Nm (1.0 kgf-m, 7.4 ft. lbs.)





6. Tighten the 10 mm cylinder block connecting bolts in alphabetical sequence shown in the figure. (RH side)
Tightening torque: 10 Nm (1.0 kgf-m, 7.4 ft. lbs.)





7. Tighten the LH side bolts (A - D) in alphabetical sequence.
Tightening torque: 18 Nm (1.8 kgf-m, 13.3 ft. lbs.)





8. Tighten the RH side bolts (E - J) in alphabetical sequence.
Tightening torque: 18 Nm (1.8 kgf-m, 13.3 ft. lbs.)





9. Further tighten the LH side bolts (A - D) in alphabetical sequence, by 900 for (A) and (C), and to 40 Nm (4.1 kgf-m, 29.5 ft. lbs.) for (B) and (D).





10. Further tighten the RH side bolts (E - J) to 90° in alphabetical sequence.





11. Tighten the 8 mm and 6 mm cylinder block connecting bolts in alphabetical sequence shown in the figure.
Tightening torque:
(A) - (G): 25 Nm (2.5 kgf-m, 18.4 ft. lbs.)
(H): 6.4 Nm (0.65 kgf-m, 4.7 ft. lbs.)





12. Apply engine oil to the outer perimeter of rear oil seal, and install the rear oil seal using ST1 and ST2.

NOTE: Use a new rear oil seal.

ST1 499597100 CRANKSHAFT OIL SEAL GUIDE
ST2 499587200 CRANKSHAFT OIL SEAL INSTALLER





13. Position the top ring gap at (A) or (B) in the figure.
14. Position the second ring gap at 180° on the reverse side for the top ring gap.





15. Position the upper rail gap at (c) in the figure.





16. Align upper rail spin stopper (E) with piston side surface hole (D).





17. Position the expander gap at (F) in the figure.





18. Position the lower rail gap at (G) in the figure.





CAUTION:
^ Ensure ring gaps do not face the same direction.
^ Ensure ring gaps are not within the piston skirt area.


19. Install the snap ring. Install the snap rings in piston holes located opposite of service holes in cylinder block, when positioning all pistons in the corresponding cylinders.

NOTE: Use new snap rings.








20. Installing the piston
a. Turn the cylinder block so that #1 and #2 cylinders face upward.
b. Using the ST1, turn the crankshaft so that #1 and #2 connecting rods are set at bottom dead center.
ST1 499987500 CRANKSHAFT SOCKET
c. Apply a coat of engine oil to the pistons and cylinders and insert pistons in their cylinders using ST2.
ST2 498747300PISTON GUIDE





NOTE: Piston front mark faces towards the front of the engine.





21. Installing piston pin
a. Apply a coat of engine oil to ST3.
b. Insert ST3 into the service hole to align piston pin hole with connecting rod small end.
ST3 499017100 PISTON PIN GUIDE





c. Apply a coat of engine oil to the piston pin and insert piston pin into piston and connecting rod through service hole.
d. Install the snap ring.

NOTE: Use new snap rings.





e. Apply liquid gasket around the service hole plug.
Liquid gasket. Part No. 004403010 THREE BOND 1105 or equivalent





f. Install the service hole plug and gasket.

NOTE: Use a new gasket.








g. Turn the cylinder block so that #3 and #4 cylinders face upward. Using the same procedures as used for #1 and #2 cylinders, install the pistons and piston pins.
22. Install the water pipe.
23. Install the baffle plate.
Tightening torque: 6.4 Nm (0.65 kgf-m, 4.7 ft. lbs.)
24. Install the oil strainer and O-ring.
Tightening torque: 10 Nm (1.0 kgf-m, 7.4 ft. lbs.)
25. Install the oil strainer stay.
26. Apply liquid gasket to the matching surfaces, and then install the oil pan.

NOTE: Install it within 20 min. after applying liquid gasket.

Liquid gasket. Part No. 004403012 THREE BOND 1207C or equivalent
Tightening torque: 5 Nm (0.5 kgf-m, 3.6 ft. lbs.)





27. Apply liquid gasket to the mating surfaces and threaded portion of bolt (A) as shown in the figure, and then install the oil separator cover.
Liquid gasket.
Mating surface Part No. 004403012 THREE BOND 1207C or equivalent
Threaded portion of bolt (A) Part No. 004403042 THREE BOND 1324 or equivalent
Tightening torque: 6.4 Nm (0.65 kgf-m, 4.7 ft. lbs.)





28. Install the flywheel.
29. Install the clutch disc and cover.
30. Installation of oil pump:
a. Discard the front oil seal after removal. Replace with a new one using the ST.
ST 499587100 OIL SEAL INSTALLER





b. Apply liquid gasket to the matching surface of oil pump.
Liquid gasket: Part No. 004403007 THREE BOND 1215 or equivalent





c. Apply a coat of engine oil to the inside of the oil seal.





d. Install the oil pump on cylinder block. Be careful not to damage the oil seal during installation.
e. Apply liquid gasket to the threaded portion of three bolts.

CAUTION: Do not forget to install the O-ring and seal when installing the oil pump. e Align the flat surface of oil pump's inner rotor with crankshaft before installation.

Liquid gasket. THREE BOND 1324 (Part No. 004403042) or equivalent
Tightening torque: 6.4 Nm (0.65 kgf-m, 4.7 ft. lbs.)





31. Install the water pump and gasket.
Tightening torque:
First. 12 Nm (1.2 kgf-m, 8.7 ft. lbs.)
Second. 12 Nm (1.2 kgf-m, 8.7 ft. lbs.)

CAUTION:
^ Be sure to use a new gasket.
^ When installing the water pump, tighten the bolts in two stages in alphabetical sequence as shown in the figure.






32. Install the water by-pass pipe for heater.
33. Install the oil cooler.

CAUTION: Use a new O-ring.

Tightening torque:
T1: 45 Nm (4.6 kgf-m, 33 ft. lbs.)
T2: 6.4 Nm (0. 65 kgf-m, 4.7 ft. lbs.)
T3: 54 Nm (5.3 kgf-m, 40 ft. lbs.)
T4: 69 Nm (7.0 kgf-m, 50.9 ft. lbs.)





34. Install the oil filter using ST.
ST 18332AAOOO OIL FILTER WRENCH (Outer diameter: 68 mm (2.68 inch))
ST 18332AA010 OIL FILTER WRENCH (Outer diameter: 65 mm (2.56 inch))
35. Install the oil filter by turning it by hand, being careful not to damage the seal rubber.
^ Tighten the oil filter 68 mm (2.68 inch) in diameter by approximately 1 rotation more after the seal rubber of oil filter comes in contact with oil cooler. If using a torque wrench, tighten it to 14 Nm (1.4 kgf-m, 10.3 ft. lbs.).
^ Tighten the oil filter 65 mm (2.56 inch) in diameter by approximately 2/3 - 3/4 rotation more after the seal rubber of oil filter comes in contact with oil cooler. If using a torque wrench, tighten it to 12 Nm (1.2 kgf-m, 8.8 ft. lbs.).

CAUTION:
^ Do not tighten excessively, or oil may leak.
^ Be careful not to use the oil filter 80 mm (3.15 inch) in diameter to Turbo model.


36. Install the water by-pass pipe between oil cooler and water pump.
37. Install the water pipe.

NOTE: Always use a new O-ring.

38. Install the cylinder head.
39. Install the oil level gauge guide and tighten the attaching bolt (LH side).
40. Install the rocker cover and rocker cover gasket.

NOTE: Use a new rocker cover gasket.

41. Install the crank sprocket.
42. Install the cam sprocket.
43. Install the timing belt.
44. Install the timing belt cover.
45. Install the crank pulley.
46. Install the generator and A/C compressor brackets on cylinder head.
47. Install the V-belt.
48. Install the intake manifold.