Operation CHARM: Car repair manuals for everyone.
Manuals through 2025 now available!

Our trusted friends have launched a new website named LEMON, which has newer manuals. It also contains all the CHARM manuals.

LEMON is the spiritual successor to CHARM, I recommend you try it!

Link: lemon-manuals.la or lemon-manuals.org.ua

(Some people have issue connecting. LEMON is investigating. For now, use Firefox or change your DNS server)

Or, hide this message: temporarily or permanently

Water Pump: Service and Repair

Water Pump

Removal
1. Remove the radiator.
2. Remove the V-belts.
3. Remove the timing belt.
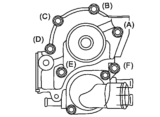
4. Remove the automatic belt tension adjuster (A).
5. Remove the belt idler (B).
6. Remove the belt idler No. 2 (C).





7. Remove the camshaft position sensor.
8. Remove the camshaft sprockets (LH) by using ST.
9. Remove the belt cover No. 2 (LH).





10. Remove the tensioner bracket.





11. Disconnect the hose from water pump.
12. Remove the water pump.





Installation
1. Install the water pump onto cylinder block (LH).

NOTE:
^ Replace the gasket with a new one.
^ When installing the water pump, tighten bolts in two stages in alphabetical sequence as shown in the figure.


Tightening torque:
^ First: 12 Nm (1.2 kgf-m, 8.7 ft. lbs.)
^ Second: 14 Nm (1.4 kgf-m, 10.2 ft. lbs.)





2. Connect the hose to water pump.
3. Install the tensioner bracket.
^ Tightening torque: 25 Nm (2.5 kgf-m, 18.1 ft. lbs.)





4. Install the belt cover No. 2 (LH).
^ Tightening torque: 5 Nm (0.5 kgf-m, 3.6 ft. lbs.)





5. Install the camshaft sprockets (LH) by using ST.
6. Install the camshaft position sensor.
7. Install the belt idler No. 2 (C).
8. Install the belt idler (B).
9. Install the automatic belt tension adjuster (A) which has tension rod held by pin.
^ Tightening torque: 39 Nm (4.0 kgf-m, 28.9 ft. lbs.)





10. Install the timing belt.
11. Install the V-belts.
12. Install the radiator.

Inspection
1. Check the water pump bearing for smooth rotation.
2. Check the water pump pulley for abnormalities.
3. Make sure the impeller is not deformed or damaged.
4. Check the clearance between impeller and pump case.
^ Clearance between impeller and pump case:
^ Standard 0.5 - 1.5 mm (0.020 - 0.059 inch)





5. After water pump installation, check the pulley shaft for engine coolant leaks. If leaks are noted, replace the water pump assembly.