Operation CHARM: Car repair manuals for everyone.
Manuals through 2025 now available!

Our trusted friends have launched a new website named LEMON, which has newer manuals. It also contains all the CHARM manuals.

LEMON is the spiritual successor to CHARM, I recommend you try it!

Link: lemon-manuals.la or lemon-manuals.org.ua

(Some people have issue connecting. LEMON is investigating. For now, use Firefox or change your DNS server)

Or, hide this message: temporarily or permanently

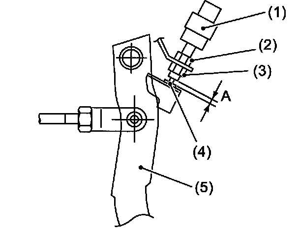
Brake Light Switch: Adjustments

Adjustment

Loosen the lock nut, and adjust the stop light switch position until the clearance between threaded end of stop light switch and stopper (A) becomes 0.3 mm (0.012 inch). Then, tighten the lock nut.
Tightening torque: 8 Nm (0.8 kgf-m, 5.8 ft. lbs.)





(1) Stop light switch
(2) Lock nut A
(3) Lock nut B
(4) Stopper
(5) Brake pedal

Note: Tighten the lock nut B until the clearance between threaded end of stop light switch and stopper becomes 0 mm (0 inch). Hold the stop light switch to prevent turning, and then loosen the lock nut B approximately 601. The clearance (A) will become 0.3 mm (0.012 inch).