Operation CHARM: Car repair manuals for everyone.
Manuals through 2025 now available!

Our trusted friends have launched a new website named LEMON, which has newer manuals. It also contains all the CHARM manuals.

LEMON is the spiritual successor to CHARM, I recommend you try it!

Link: lemon-manuals.la or lemon-manuals.org.ua

(Some people have issue connecting. LEMON is investigating. For now, use Firefox or change your DNS server)

Or, hide this message: temporarily or permanently

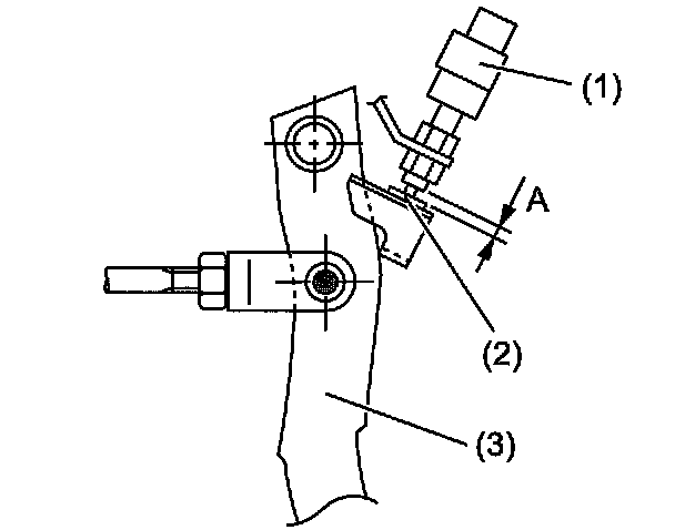
Brake Light Switch: Testing and Inspection

Inspection

If the stop light switch does not operate properly (or if it does not stop at the specified position), replace with a new one.
Specified position L: 2 mm (0.079 inch)





Measure the clearance between threaded end of stop light switch and stopper.

Important: Be careful not to rotate stop light switch.

Stop light switch clearance A: 0.3 mm (0.012 inch)





(1) Stop light switch
(2) Stopper
(3) Brake pedal

If it is not within specified value, adjust it by adjusting position of stop light switch.

Important: Be careful not to rotate the stop light switch.