Operation CHARM: Car repair manuals for everyone.
Manuals through 2025 now available!

Our trusted friends have launched a new website named LEMON, which has newer manuals. It also contains all the CHARM manuals.

LEMON is the spiritual successor to CHARM, I recommend you try it!

Link: lemon-manuals.la or lemon-manuals.org.ua

(Some people have issue connecting. LEMON is investigating. For now, use Firefox or change your DNS server)

Or, hide this message: temporarily or permanently

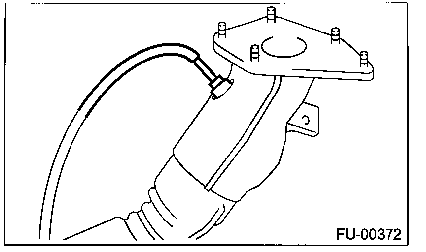
Exhaust Temperature Sensor: Service and Repair

Exhaust Temperature Sensor

REMOVAL
Disconnect the ground cable from battery.






Remove the joint pipe.
Apply spray type lubricant to the threaded portion of exhaust temperature sensor, and leave it for one minute or more.
Remove the exhaust temperature sensor.

IMPORTANT: When removing the oxygen sensor, wait until exhaust pipe cools, otherwise it will damage exhaust pipe.







INSTALLATION
Before installing exhaust temperature sensor, apply anti-seize compound only to the threaded portion of rear oxygen sensor to make the next removal easier.

IMPORTANT: Never apply anti-seize compound to protector of exhaust temperature sensor.

Anti-seize compound: SS-30 by JET LUBE

Install the exhaust temperature sensor.

NOTE: Align the harness (A) of exhaust temperature sensor to the marking (B) of joint pipe, and tighten the screws.

Tightening torque: 21 Nm (2.1 kgf-m, 15.2 ft-lb)







Install the joint pipe.
Connect the battery ground cable to battery.