Operation CHARM: Car repair manuals for everyone.
Manuals through 2025 now available!

Our trusted friends have launched a new website named LEMON, which has newer manuals. It also contains all the CHARM manuals.

LEMON is the spiritual successor to CHARM, I recommend you try it!

Link: lemon-manuals.la or lemon-manuals.org.ua

(Some people have issue connecting. LEMON is investigating. For now, use Firefox or change your DNS server)

Or, hide this message: temporarily or permanently

Front Oxygen (A/F) Sensor

Front Oxygen (A/F) Sensor

REMOVAL




1. Disconnect the ground cable from battery.




2. Disconnect the connector from the front oxygen (A/F) sensor.




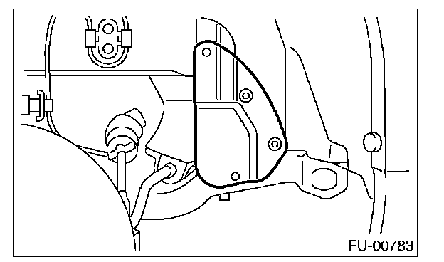
3. Disconnect the engine harness fixed by clip (A) from the bracket (B).
4. Remove the front right side wheel.
5. Lift-up the vehicle.




6. Remove the service hole cover.
7. Apply spray type lubricant to the threaded portion of front oxygen (A/F) sensor, and leave it for one minute or more.




8. Remove the front oxygen (A/F) sensor.

CAUTION: When removing the front oxygen (A/F) sensor, wait until exhaust pipe cools, otherwise it will damage exhaust pipe.

INSTALLATION
1. Before installing front oxygen (A/F) sensor, apply anti-seize compound only to the threaded portion of front oxygen (A/F) sensor to make the next removal easier.

Anti-seize compound: SS-30 by JET LUBE

CAUTION: Never apply anti-seize compound to protector of front oxygen (A/F) sensor.




2. Install the front oxygen (A/F) sensor.




3. Install the service hole cover.
4. Lower the vehicle.
5. Install the front right side wheel.




6. Connect the engine harness to the bracket (B) using clips (A).




7. Connect the connector of front oxygen (A/F) sensor.




8. Connect the battery ground cable to battery.