Operation CHARM: Car repair manuals for everyone.
Manuals through 2025 now available!

Our trusted friends have launched a new website named LEMON, which has newer manuals. It also contains all the CHARM manuals.

LEMON is the spiritual successor to CHARM, I recommend you try it!

Link: lemon-manuals.la or lemon-manuals.org.ua

(Some people have issue connecting. LEMON is investigating. For now, use Firefox or change your DNS server)

Or, hide this message: temporarily or permanently

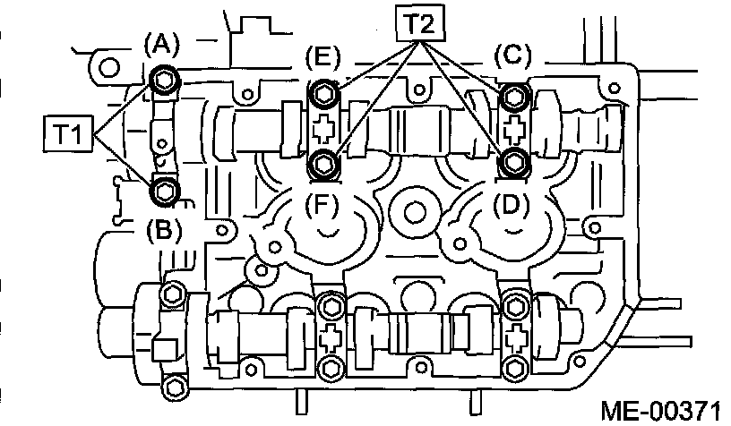
Camshaft Bearing

Camshaft Bearing Cap Bolts





Similarly, tighten the cap on exhaust side. After tightening the cap, ensure the camshaft rotates only slightly while holding it at base circle.
Tightening torque:
T1: 10 Nm (1.0 kgf-m, 7.4 ft. lbs.)
T2: 20 Nm (2.0 kgf-m, 14.5 ft. lbs.)