Operation CHARM: Car repair manuals for everyone.
Manuals through 2025 now available!

Our trusted friends have launched a new website named LEMON, which has newer manuals. It also contains all the CHARM manuals.

LEMON is the spiritual successor to CHARM, I recommend you try it!

Link: lemon-manuals.la or lemon-manuals.org.ua

(Some people have issue connecting. LEMON is investigating. For now, use Firefox or change your DNS server)

Or, hide this message: temporarily or permanently

Clutch Switch: Service and Repair

Clutch Switch
REMOVAL
Disconnect the ground cable from battery.
Remove the instrument panel lower cover.
Disconnect the connector from clutch switch.
Remove the clutch switch.

INSTALLATION
CLUTCH SWITCH (CRUISE CONTROL)
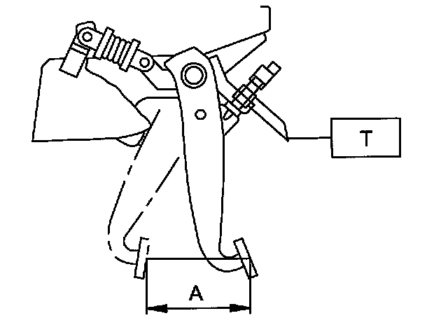
Move the clevis pin of the push rod right and left and hold where it moves smoothly, then measure stroke of clutch pedal.
Specified clutch pedal full stroke A: 130 - 135 mm (5.12 - 5.31 inch)
Tightening torque:
T: 8 Nm (0.8 kgf-m, 5.9 ft. lbs.)





If the clutch pedal stroke is out of specification, adjust the stroke.
Connect clutch switch connector.

CLUTCH SWITCH (STARTER INTERLOCK)
Fully depress the clutch pedal.
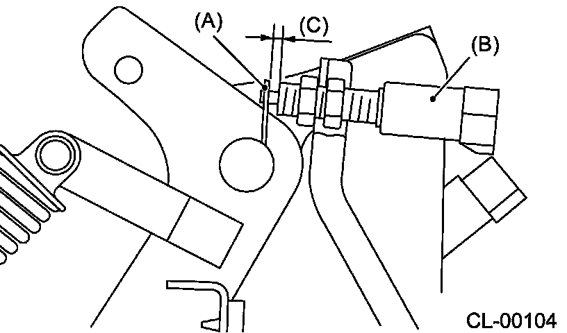
Install the clutch pedal plate and clutch pedal so that the gap between them is 3 - 3.5 mm (0.12 - 0.14 inch), and then tighten the lock nut.
Tightening torque: 8 Nm (0.8 kgf-m, 5.9 ft. lbs.)





(A) Plate
(B) Clutch pedal
(C) 3 - 3.5 mm (0. 12 - 0.14 inch)

Connect the clutch switch connector.
Confirm that the engine does not start when the clutch pedal is released.
Confirm that the engine starts when the clutch pedal is fully depressed.

INSPECTION
If the clutch switch (cruise control) does not operate properly (or if it does not stop at the specified position), replace with a new one.
Specified position L: 2+1.5/0 mm (0.079 +0.059/0 inch)





Check the clutch switch continuity. If the resistance is not as specified, replace the switch.
Disconnect the clutch switch connector.
Measure the resistance between 1 and 2 of switch terminal.

Terminals/Specified resistance
When clutch pedal depressed:
1 - 2/Less than 1 Ohms

Terminals/Specified resistance
When clutch pedal not depressed:
1 - 2/More than 1 M Ohms

Clutch switch (Cruise control)





Clutch switch (Starter interlock)





Confirm that the engine does not start when the clutch pedal is not depressed. If the engine starts, adjust the clutch switch, and inspect the starter interlock circuit.
Confirm that the engine starts when the clutch pedal is fully depressed. If the engine does not start, adjust the clutch switch, and inspect the starter interlock circuit.

ADJUSTMENT
Loosen the clutch switch mounting lock nut (Starter interlock).





(A) Lock nut
(B) Clutch switch (Starter interlock)

Fully depress the clutch pedal.
Adjust the clutch pedal plate and clutch switch so that the gap between them is 3 - 3.5 mm (0.12 - 0.14 inch).





(A) Plate
(B) Clutch switch (Starter interlock)
(C) 3 - 3.5 mm (0. 12 - 0.14 inch)

Tighten the lock nut.
Tightening torque: 8 Nm (0.8 kgf-m, 5.9 ft. lbs.)