Operation CHARM: Car repair manuals for everyone.
Manuals through 2025 now available!

Our trusted friends have launched a new website named LEMON, which has newer manuals. It also contains all the CHARM manuals.

LEMON is the spiritual successor to CHARM, I recommend you try it!

Link: lemon-manuals.la or lemon-manuals.org.ua

(Some people have issue connecting. LEMON is investigating. For now, use Firefox or change your DNS server)

Or, hide this message: temporarily or permanently

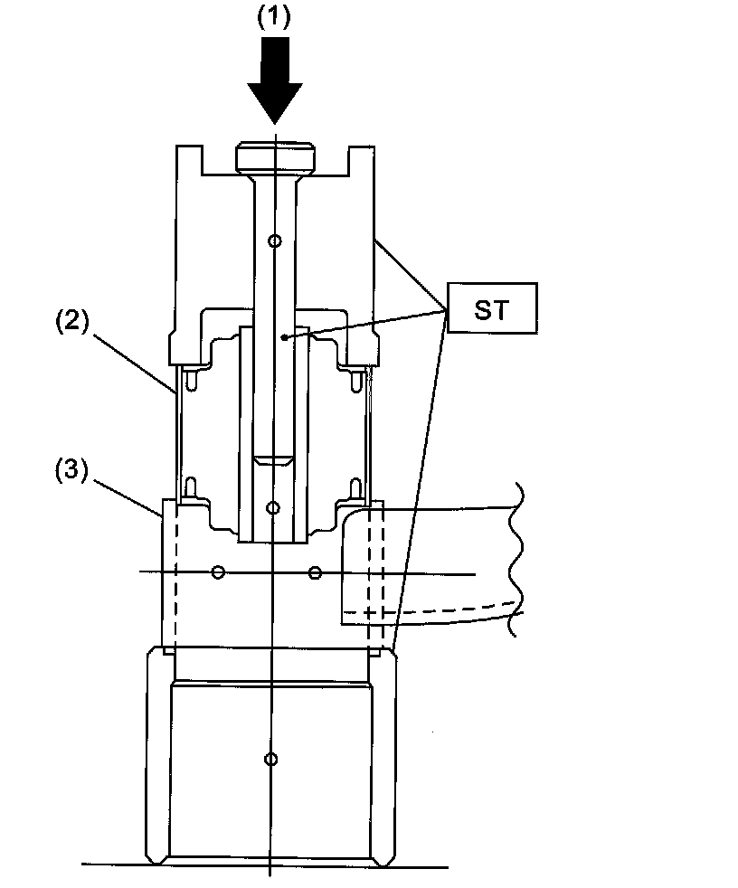
Control Arm Bushing: Service and Repair

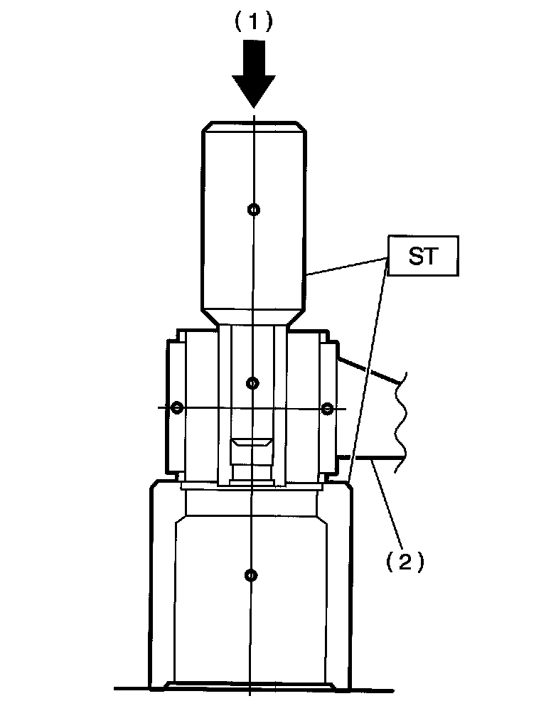
REAR BUSHING
Remove the housing.
Using the ST, press the rear bushing out of place.
ST 32005222 INSTALLER & REMOVER SET




(1) Press
(2) Housing

ASSEMBLY
FRONT BUSHING
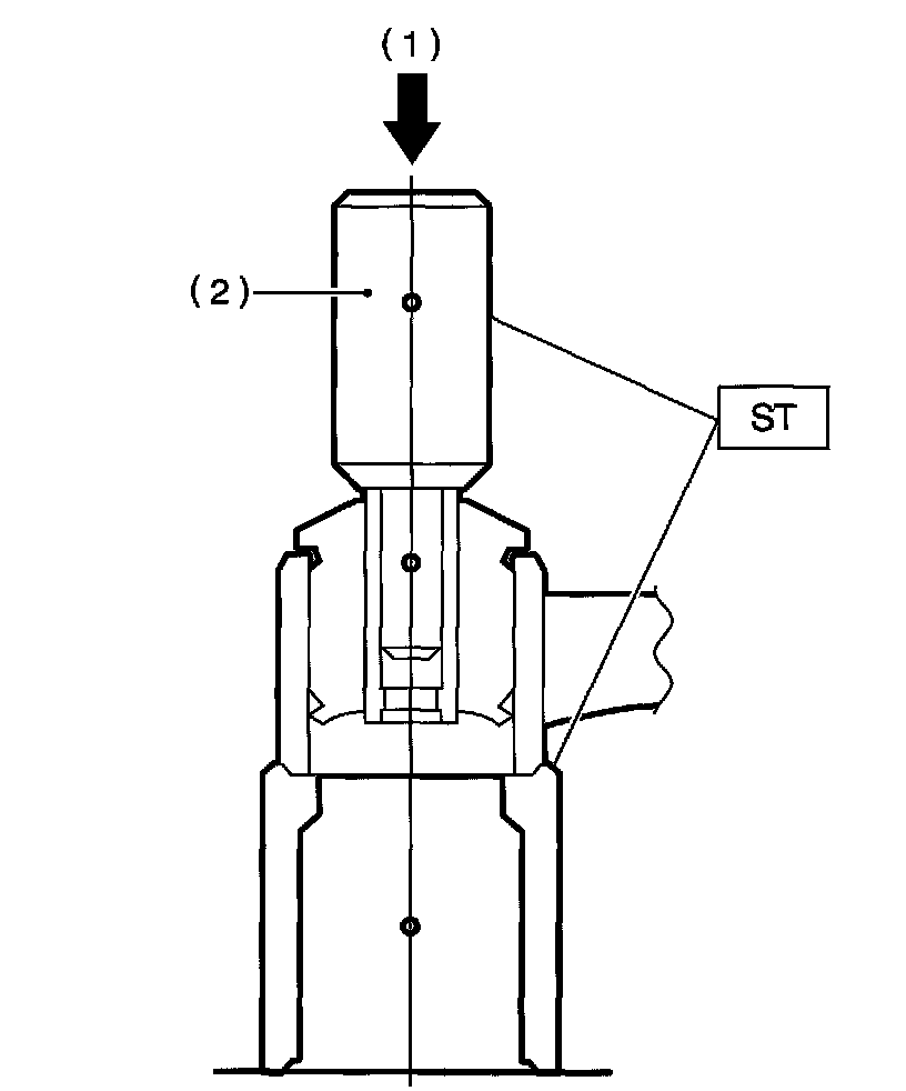
Using the ST, press the bushing into trailing link.
ST 32005221 INSTALLER & REMOVER SET

Important: Turn the ST plunger upside down and press it until the plunger end surface contacts the trailing link end surface.




(1) Press
(2) Front bushing
(3) Trailing link

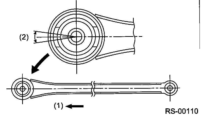
Important: Install the front bushing in the proper direction, as shown in the figure.




(1) Front
(2) ±5°

REAR BUSHING
Using the ST, press the bushing into trailing link.
ST 32005222 INSTALLER & REMOVER SET

Note: If it is difficult to press the bushing into trailing link, apply water-diluted TIRE LUBE to the inner surface of ST as a lubricant.

SPECIFIED lubricant: TIRE LUBE: water = 1: 3




(1) Press

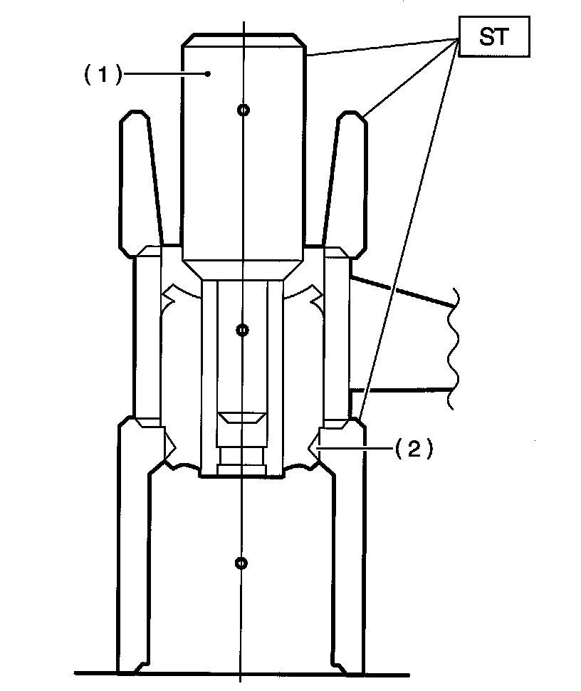
Press the ST plunger until the bushing flange protrudes beyond trailing link.
ST 32005222 INSTALLER & REMOVER SET




(1) Plunger
(2) Flange

Turn the trailing link upside down. Press the ST plunger in the opposite direction that outlines in the former procedure until bushing is correctly positioned in trailing link.
ST 32005222 INSTALLER & REMOVER SET




(1) Press
(2) Plunger

Install the housing.