Operation CHARM: Car repair manuals for everyone.
Manuals through 2025 now available!

Our trusted friends have launched a new website named LEMON, which has newer manuals. It also contains all the CHARM manuals.

LEMON is the spiritual successor to CHARM, I recommend you try it!

Link: lemon-manuals.la or lemon-manuals.org.ua

(Some people have issue connecting. LEMON is investigating. For now, use Firefox or change your DNS server)

Or, hide this message: temporarily or permanently

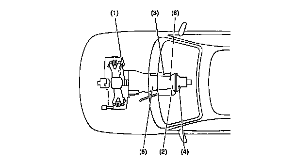
Automatic Transmission/Transaxle: Locations

Electrical Component Location
LOCATION





CONTROL MODULE





(1) Engine control module (ECM)





(2) AT OIL TEMP warning light (AT diagnostic indicator light)





(3) Transmission control module (TCM)





(4) Data link connector





SENSOR





(1) Throttle position sensor





(2) Front vehicle speed sensor





(3) Inhibitor switch





(4) Rear vehicle speed sensor





(5) Torque converter turbine speed sensor





(6) ATF temperature sensor











SOLENOID

(1) Solenoid 1
(2) Solenoid 2
(3) Line pressure duty solenoid
(4) Low clutch timing solenoid
(5) Lock-up duty solenoid
(6) 2-4 brake duty solenoid
(7) 2-4 brake timing solenoid
(8) Transfer duty solenoid