Operation CHARM: Car repair manuals for everyone.
Manuals through 2025 now available!

Our trusted friends have launched a new website named LEMON, which has newer manuals. It also contains all the CHARM manuals.

LEMON is the spiritual successor to CHARM, I recommend you try it!

Link: lemon-manuals.la or lemon-manuals.org.ua

(Some people have issue connecting. LEMON is investigating. For now, use Firefox or change your DNS server)

Or, hide this message: temporarily or permanently

Valve Body: Service and Repair

Control Valve
REMOVAL
Saab 9-2X 2.0T Aero
Lift-up the vehicle.
Clean the transmission exterior.
Drain the ATF completely.

Note:
^ Tighten the ATF drain plug after draining the ATF.
^ Replace the gasket with a new one.

Tightening torque: 25 Nm (2.5 (kgf-m, 18.1 ft. lbs.)





(A) Oil pan
(B) Drain plug (ATF)
(C) Differential oil drain plug
Remove the oil pan.

Important: Be sure to prevent the entering of dust and other foreign matters into oil pan.

Remove and clean the magnet.
Remove the old gasket on the oil pan and transmission case completely.
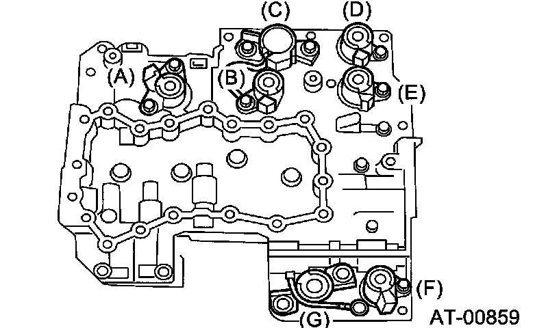
Disconnect each solenoid connector and remove ATF temperature sensor from control valve.





(A) Lock-up duty solenoid (Blue)
(B) Low clutch timing solenoid (Gray)
(C) Line pressure duty solenoid (Red)
(D) Shift solenoid 2 (Yellow)
(E) Shift solenoid 1 (Green)
(F) 2-4 brake timing solenoid (Black)
(G) 2-4 brake duty solenoid (Red)
(H) ATF temperature sensor
(I) Transfer duty solenoid (Brown)
(J) Transmission ground
Remove the control valve body.

Note: When removing the control valve body, be careful not to interfere with transfer duty solenoid wiring.





Saab 9-2X 2.5i Linear
Set the vehicle on a lift.
Disconnect the ground cable from battery.
Lift-up the vehicle.
Clean the transmission exterior.
Remove the drain plug and gasket, and then drain ATF.





Replace the gasket with a new one, and then tighten the drain plug.
Tightening torque: 25 Nm (2.5 (kgf-m, 18.1 ft. lbs.)
Remove the oil pan.

Important: Be careful not to allow dirt or dust to get into the oil pan.





Remove the magnet.





Clean the magnet.
Remove the liquid gasket completely from oil pan and transmission case.
Remove the control valve connector.





Remove the oil cooler pipe.





Remove the control valve body.

Note: Replace the control valve body as assembly, because the control valve body can not be disassembled.





INSTALLATION
Saab 9-2X 2.0T Aero
Set the range select lever in "N" range.
Install the control valve, ATF temperature sensor and ground connectors.
Tightening torque: 8 Nm (0.8 kgf-m, 5.8 ft. lbs.)





Bolt length mm (in)
(A) 30 (1.18)
(B) 55 (2.17)
Connect all connectors.





(A) Lock-up duty solenoid (Blue)
(B) Low clutch timing solenoid (Gray)
(C) Line pressure duty solenoid (Red)
(D) Shift solenoid 2 (Yellow)
(E) Shift solenoid 1 (Green)
(F) 2-4 brake timing solenoid (Black)
(G) 2-4 brake duty solenoid (Red)
(H) Transfer duty solenoid (Brown)
Attach the magnet at specified position.





Apply proper amount of liquid gasket to the entire oil pan mating surface.
Liquid gasket: THREE BOND 1217B (Part No. 32005004)





Apply liquid gasket fully to three holes other than screw holes on transmission case.
Liquid gasket: THREE BOND 1217B (Part No. 32005004)





Install the oil pan by equally tightening the bolts.
Tightening torque: 5 Nm (0.5 (kgf-m, 3.6 ft. lbs.)
Pour ATF from the oil charge pipe.
Recommended fluid: Dexron III
Fluid capacity: fill the same amount of fluid drained from drain plug hole.
Check the level of ATF.

Saab 9-2X 2.5i Linear
Check the control valve body for dirt and dust.
Temporarily install the control valve body to transmission.
Install the oil cooler pipe.
Tightening torque: 8 Nm (0.8 (kgf-m, 5.8 ft. lbs.)





Tighten the bolts evenly.
Tightening torque: 8 Nm (0.8 (kgf-m, 5.8 ft. lbs.)





(A) Transmission ground
Bolt length mm (in)
(1) 35 (1.38)
(2) 30 (1.18)
Attach the magnet at specified position of oil pan.





Apply proper amount of liquid gasket to the entire oil pan mating surface.
Liquid gasket: THREE BOND 1217B (Part No. 32005004)





Apply liquid gasket fully to three holes other than screw holes on transmission case.
Liquid gasket: THREE BOND 1217B (Part No. 32005004)





Install the oil pan with tightening bolts evenly.
Tightening torque: 5 Nm (0.5 (kgf-m, 3.6 ft. lbs.)
Pour ATF into the oil charge pipe.
Recommended fluid: Dexron III type automatic transmission fluid
Fluid capacity: fill the same amount of fluid drained from drain plug hole.
Bleed the air from control valve.
Check the level of ATF.
Perform the advance operation of learning control. (Saab 9-2X 2.5i Linear)

DISASSEMBLY

Note: Do not disassembly the control valve for Saab 9-2X 2.5i Linear.

Remove oil strainer from lower control valve body.

Note: Arrange the removed bolts in good order to assemble in the same place as disassembly, because the bolt lengths are different.





(A) Short bolt
(B) Middle bolt
(C) Long bolt
Remove the duty solenoids, solenoids and sensor from the lower valve body.

Note: Arrange the removed bolts in good order to assemble in the same place as disassembly, because the bolt lengths are different.





(A) Lock-up duty solenoid (Blue)
(B) Low clutch timing solenoid (Gray)
(C) Line pressure duty solenoid (Red)
(D) Shift solenoid 2 (Yellow)
(E) Shift solenoid 1 (Green)
(F) 2-4 brake timing solenoid (Black)
(G) 2-4 brake duty solenoid (Red)
Remove the upper-lower valve body tightening bolts.

Note: Arrange the removed bolts in good order to assemble in the same place as disassembly, because the bolt lengths are different.





Remove the lower valve body.
Remove the oil filter and plate.





(A) Oil filter
(B) Plate
Remove six steel balls from middle valve body.





(A) Steel ball
(B) Middle valve body
Remove the middle valve body.
Remove upper separator plate from middle valve body.





(A) Upper separator plate
(B) Side plate
Remove valve springs and four steel balls from upper valve body.
Place a shop cloth to the piston removal hole.
Using an air compressor, apply air slowly to each piston hole and remove the pistons.





Remove the seal ring from piston.





ASSEMBLY
Install a new seal ring to piston.





Apply ATF to the seal ring.
Insert the piston fully into upper valve body.





Install the spring and four steel balls to specified positions of upper valve body.





(A) Steel ball
(B) Spring
Align the hole in side plate with the hole in separator plate, and then install support plate and upper separator plate to middle valve body.
Tightening torque: 8 Nm (0.8 kgf-m, 5.8 ft. lbs.)





(A) Upper separator plate
(B) Side plate
Insert six steel balls in their proper positions to middle valve body.





(A) Steel ball
(B) Middle valve body
Install three filters to lower valve body.

Note: Pay attention to the location of filters.





(A) Strainer
(B) Lower valve body





Install the lower separate plate to lower valve body.

(A) Lower separator plate
(B) Lower valve body
Temporarily assemble the valve body.

Note: Be careful not to drop the middle valve body and upper body interior steel ball, or the lower body filter.





Tighten the bolts and nuts.

Note: Install the bolts (D) from upper valve body side.

Tightening torque: 8 Nm (0.8 kgf-m, 5.8 ft. lbs.)





Bolt length mm (in)
(A) 40 (1.57)
(B) 62 (2.44)
(C) 73 (2.87)
(D) 79 (3.11)

Install the sensor, solenoids and duty solenoids to specified positions.





(A) Lock-up duty solenoid (Blue)
(B) Low clutch timing solenoid (Gray)
(C) Line pressure duty solenoid (Red)
(D) Shift solenoid 2 (Yellow)
(E) Shift solenoid 1 (Green)
(F) 2-4 brake timing solenoid (Black)
(G) 2-4 brake duty solenoid (Red)
Tighten the bolts.
Tightening torque: 8 Nm (0.8 kgf-m, 5.8 ft. lbs.)





Bolt length mm (in)
(A) 12 (0.47)
(B) 40 (1.57)
(C) 45 (1.77)
(D) 62 (2.44)
(E) 73 (2.87)
Install oil strainer to lower valve body.
Tightening torque: 8 Nm (0.8 kgf-m, 5.8 ft. lbs.)





Bolt length mm (in)
(A) 12 (0.47) (B) 62 (2.44) (C) 81 (3.19)