Operation CHARM: Car repair manuals for everyone.
Manuals through 2025 now available!

Our trusted friends have launched a new website named LEMON, which has newer manuals. It also contains all the CHARM manuals.

LEMON is the spiritual successor to CHARM, I recommend you try it!

Link: lemon-manuals.la or lemon-manuals.org.ua

(Some people have issue connecting. LEMON is investigating. For now, use Firefox or change your DNS server)

Or, hide this message: temporarily or permanently

Front Differential Assembly

Front Differential Assembly
REMOVAL
Remove the manual transmission assembly from vehicle.
Remove the transfer case with extension case assembly.
Remove the transmission case.
Remove the drive pinion shaft assembly.
Remove the main shaft assembly.





Remove the differential assembly.

Note:
^ Be careful not to confuse the right and left roller bearing outer races.
^ Be careful not to damage the retainer oil seal.





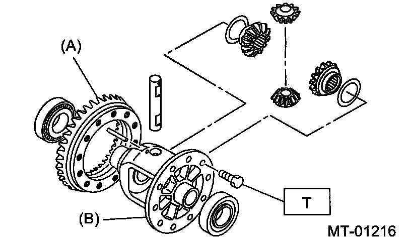
Remove the differential side retainers using ST.
ST 32005023 WRENCH ASSY

INSTALLATION
Install the differential side retainers using ST.
ST 32005023 WRENCH ASSY
Install the bearing outer race to transmission case.





Install the differential assembly.

Note: Be careful not to fold the sealing lip of oil seal.

Install the main shaft assembly.
Install the drive pinion assembly.
Install the transmission case.
Install the transfer case with extension case assembly.
Install the manual transmission assembly to vehicle.

DISASSEMBLY
DIFFERENTIAL CASE ASSEMBLY




(A) Hypoid driven gear

Loosen the twelve bolts and remove the hypoid driven gear.





Drive out the straight pin from differential assembly toward hypoid driven gear.
ST 32005181 REMOVER




(A) Pinion shaft
(B) Bevel pinion
(C) Bevel gear
(D) Washer

Pull out the pinion shaft, and remove the differential bevel pinion and gear and washer.





Remove the roller bearing using ST.
ST 32005174 PULLER SET

SIDE RETAINER





Remove the O-ring





Remove the oil seal.

Note: Do not reuse the oil seal. Prepare a new oil seal.

ASSEMBLY
DIFFERENTIAL CASE ASSEMBLY




(A) Bevel pinion
(B) Bevel gear
(C) Pinion shaft

Install the bevel gear and bevel pinion together with washers, and insert pinion shaft.

Note: Face the chamfered side of washer toward gear.





Measure the backlash between bevel gear and pinion. If it is not within specifications, install a suitable washer to adjust it.

Note: Be sure the pinion gear tooth contacts adjacent gear teeth during measurement.

ST1 32005094 MAGNET BASE
ST2 32005095 DIAL GAUGE
Standard backlash: 0.13 - 0.18 mm (0.0051 - 0.0071 inch)




(A) Pinion shaft
(B) Differential case
(C) Straight pin

Align the pinion shaft and differential case at their holes, and drive the straight pin into holes from the hypoid driven gear side, using ST.

Note: Lock the straight pin after installing.

ST 32005181 REMOVER





Install the roller bearing to differential case.

Note
^ Do not apply pressure in excess of 10 kN (1 ton, 1.1 US ton, 1.0 Imp ton).
^ Be careful because the roller bearing outer races are used as a set.

ST1 32005130 BUSH 1-2 INSTALLER
ST2 32005065 ADAPTER




(A) Hypoid driven gear
(B) Differential case

Install the hypoid driven gear to differential case using twelve bolts.
Tightening torque:
T: 62 Nm (6.3 kgf-m, 45.6 ft. lbs.)

SIDE RETAINER





Install a new oil seal.
ST 32005024 DIFFERENTIAL SIDE OIL SEAL INSTALLER





Install a new O-ring.

Note: Do not stretch or damage the O-ring.

INSPECTION




(A) Drive pinion shaft
(B) Hypoid driven gear
(C) Pinion shaft
(D) Straight pin
(E) Washer
(F) Differential bevel gear
(G) Differential bevel pinion
(H) Roller bearing
(I) Differential case

Repair or replace the differential gear in the following cases:
^ The hypoid drive gear and drive pinion shaft tooth surface are damaged, excessively worn, or seized.
^ The roller bearing on the drive pinion shaft has a worn or damaged roller path.
^ There is damage, wear, or seizure of the differential bevel pinion, differential bevel gear, washer, pinion shaft, and straight pin.
^ The differential case has worn or damaged sliding surfaces.

BEVEL PINION GEAR BACKLASH





Measure the backlash between bevel gear and pinion. If it is not within specifications, install a suitable washer to adjust it.

Note: Be sure the pinion gear tooth contacts adjacent gear teeth during measurement.

ST1 32005094 MAGNET BASE
ST2 32005095 DIAL GAUGE
Standard backlash: 0.13 - 0.18 mm (0.0051 - 0.0071 inch)

HYPOID GEAR BACKLASH





Set the ST1, ST2 and ST3. Insert the needle through transmission oil drain plug hole so that the needle comes in contact with the tooth surface at a right angle and check the backlash.
ST1 32005094 MAGNET BASE
ST2 32005095 DIAL GAUGE
ST3 32005096 PLATE
Backlash: 0.13 - 0.18 mm (0.0051 - 0.0071 inch)

Note: If the backlash is outside specified range, adjust it by turning the holder in right side case.

TOOTH CONTACT OF HYPOID GEAR




(A) Toe
(B) Coast side
(C) Heel
(D) Drive side

Check the tooth contact of hypoid gear as follows: Apply a uniform thin coat of red lead on both tooth surfaces of 3 or 4 teeth of the hypoid gear. Move the hypoid gear back and forth by turning the transmission main shaft until a definite contact pattern is developed on hypoid gear, and judge whether face contact is correct. If it is inaccurate, make adjustment.
^ Tooth contact is correct.

ADJUSTMENT
BEVEL PINION GEAR BACKLASH





Disassemble the front differential.

Select a differential washer from the table and install.
Adjust until the specified value is obtained.
Standard backlash: 0.13 - 0.18 mm (0.0051 - 0.0071 inch)

HYPOID GEAR BACKLASH





Adjust backlash by turning the holder in right side case.
ST 32005023 WRENCH ASSY





Note: Each time holder rotates one tooth, backlash changes by 0.05 mm (0.020 inch).

TOOTH CONTACT OF HYPOID GEAR
Adjust until the tooth contact is correct.
Check and adjust the tooth contact with following.

^ Tooth contact




(A) Toe side
(B) Heel side

Checking item: Tooth contact pattern is slightly shifted toward to toe side under no-load rotation. [When loaded, contact pattern moves toward heel.]





^ Face contact
Checking item: Backlash is too large.
Contact pattern





Corrective action: Reduce thickness of drive pinion shim in order to bring drive pinion close to driven gear.





^ Flank contact
Checking item: Backlash is too small.
Contact pattern





Corrective action: Increase thickness of drive pinion shim in order to move drive pinion away from driven gear.





^ Toe contact (Inside end contact)
Checking item: Contact area is small.
Contact pattern





Corrective action: Increase thickness of drive pinion shim in order to bring drive pinion close to driven gear.





^ Heel contact (Outside end contact)
Checking item: Contact area is small.
Contact pattern





Corrective action: Reduce thickness of drive pinion shim in order to move drive pinion away from driven gear.