Operation CHARM: Car repair manuals for everyone.
Manuals through 2025 now available!

Our trusted friends have launched a new website named LEMON, which has newer manuals. It also contains all the CHARM manuals.

LEMON is the spiritual successor to CHARM, I recommend you try it!

Link: lemon-manuals.la or lemon-manuals.org.ua

(Some people have issue connecting. LEMON is investigating. For now, use Firefox or change your DNS server)

Or, hide this message: temporarily or permanently

Power Supply, Control Module






Diagram:






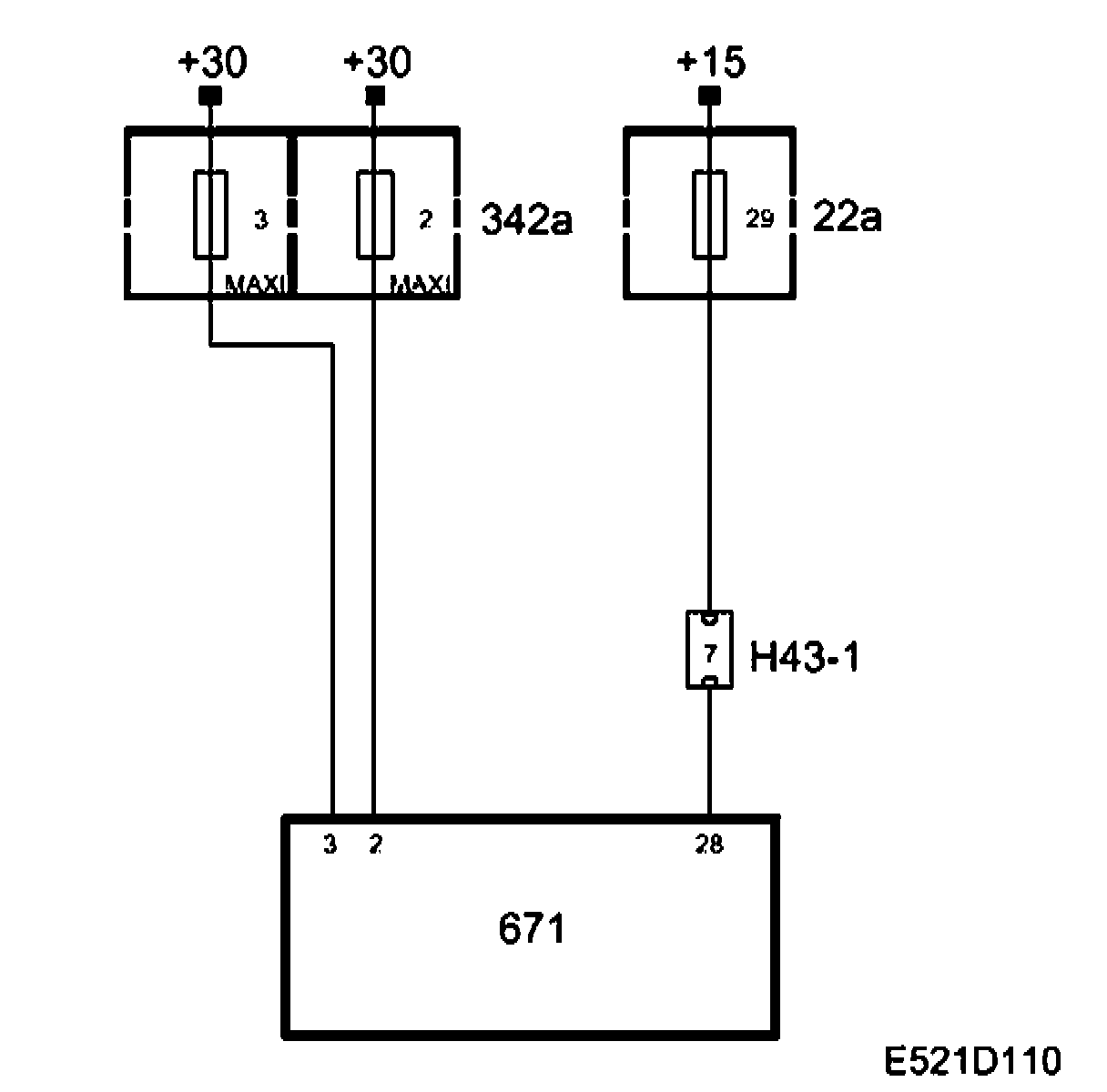
Power Supply

Battery voltage (+30 circuit)
+30 voltage is supplied via Maxi fuses 2 and 3 (342a) to pins 2 and 3 respectively on the control module.

Battery voltage (+15 circuit)
+15 voltage is supplied via fuse 29 (22a) to pin 28 on the control module.