Operation CHARM: Car repair manuals for everyone.
Manuals through 2025 now available!

Our trusted friends have launched a new website named LEMON, which has newer manuals. It also contains all the CHARM manuals.

LEMON is the spiritual successor to CHARM, I recommend you try it!

Link: lemon-manuals.la or lemon-manuals.org.ua

(Some people have issue connecting. LEMON is investigating. For now, use Firefox or change your DNS server)

Or, hide this message: temporarily or permanently

Connecting Rod: Testing and Inspection

INSPECTION

CONNECTING ROD
1. Replace the connecting rod, if the large or small end thrust surface is damaged.
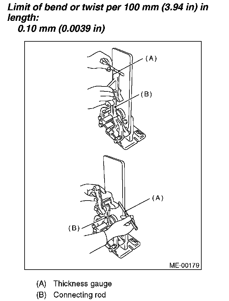
2. Check for bend or twist using a connecting rod aligner. Replace the connecting rod if the bend or twist exceeds the limit.
Limit of bend or twist per 100 mm (3.94 inch) in length: 0.10 mm (0. 0039 inch)





3. Install the connecting rod fitted with bearing to crankshaft, and then measure the side clearance (thrust clearance). Replace the connecting rod if the side clearance exceeds the specified limit.
Connecting rod side clearance:
Standard 0.070 - 0.330 mm (0.0028 - 0.0130 inch)
Limit 0.4 mm (0.016 inch)





4. Inspect the connecting rod bearing for scar, peeling, seizure, melting, wear, etc.
5. Measure the oil clearance on individual connecting rod bearings by means of plastigauge. If any oil clearance is not within the specification, replace the defective bearing with a new one of standard size or undersize as necessary. (See the table below.)
Connecting rod oil clearance:
Standard 0.017 - 0.045 mm (0.0007 - 0.0018 inch)
Limit 0.05 mm (0.0020 inch)





6. Inspect the bushing at connecting rod small end, and replace if worn or damaged. Also measure the piston pin clearance at connecting rod small end.
Clearance between piston pin and bushing:
Standard 0 - 0.022 mm (0 - 0.0009 inch)
Limit 0.030 mm (0.0012 inch)








7. Replacement procedure is as follows.
1. Remove the bushing from connecting rod with ST and press.
2. Press the bushing with ST after applying oil on the periphery of bushing.
ST 499037100 CONNECTING ROD BUSHING REMOVER AND INSTALLER





3. Make two 3 mm (0.12 inch) holes in bushing. Ream the inside of bushing.
4. After the completion of reaming, clean the bushing to remove chips.