Operation CHARM: Car repair manuals for everyone.
Manuals through 2025 now available!

Our trusted friends have launched a new website named LEMON, which has newer manuals. It also contains all the CHARM manuals.

LEMON is the spiritual successor to CHARM, I recommend you try it!

Link: lemon-manuals.la or lemon-manuals.org.ua

(Some people have issue connecting. LEMON is investigating. For now, use Firefox or change your DNS server)

Or, hide this message: temporarily or permanently

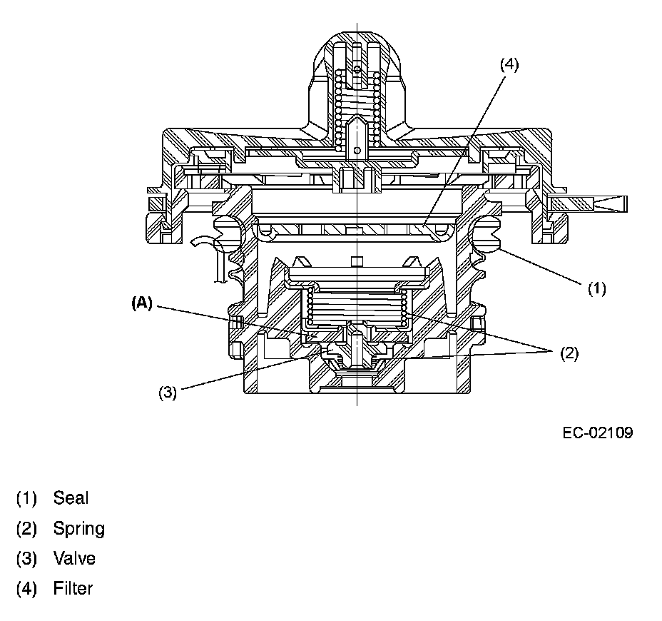
Fuel Tank Cap

FUEL TANK CAP




^ The fuel tank cap is of a quick lock type and can be opened or closed in 1/4 of a full turn .
^ The fuel tank cap has a relief valve, which prevents development of vacuum in the fuel tank in the event of a problem with the fuel vapor line. When there is no problem with the fuel vapor line, the filler pipe is sealed at the portion (A) and by the seal pressed against the filler pipe end. If vacuum develops in the fuel tank, the atmospheric pressure forces the spring down to open the valve; consequently outside air flows into the fuel tank, thus controlling the inside pressure.