Operation CHARM: Car repair manuals for everyone.
Manuals through 2025 now available!

Our trusted friends have launched a new website named LEMON, which has newer manuals. It also contains all the CHARM manuals.

LEMON is the spiritual successor to CHARM, I recommend you try it!

Link: lemon-manuals.la or lemon-manuals.org.ua

(Some people have issue connecting. LEMON is investigating. For now, use Firefox or change your DNS server)

Or, hide this message: temporarily or permanently

General

GENERAL




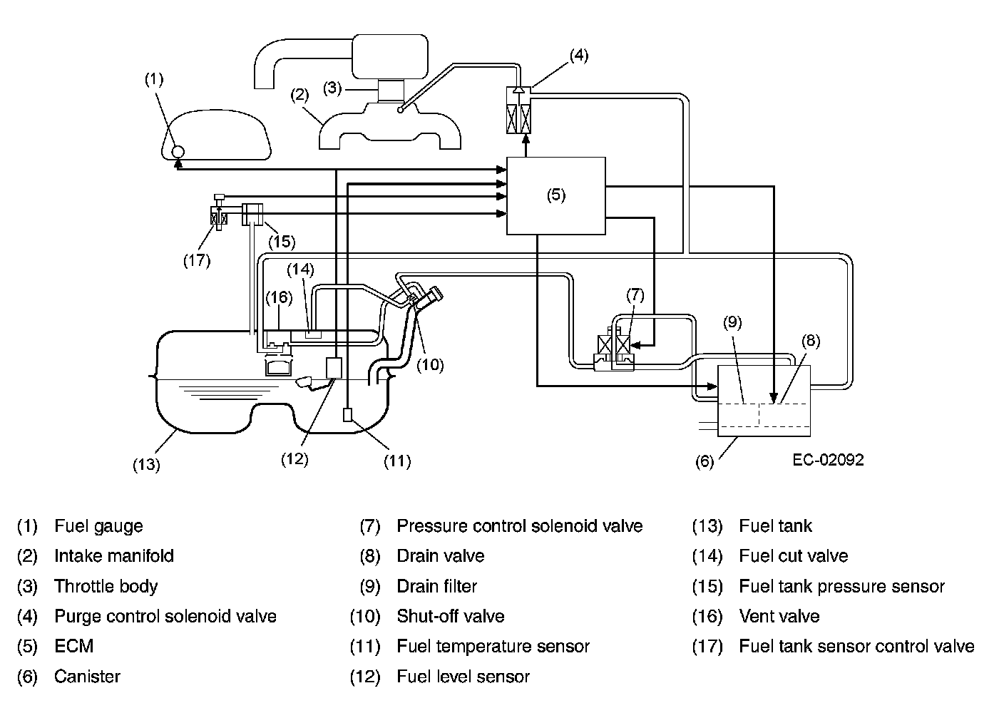
^ The evaporative emission control system prevents fuel vapors from escaping into atmosphere. This system includes a canister, purge control solenoid valve, fuel cut valve, and the lines connecting them.
^ Fuel vapors in the fuel tank is introduced into the canister through the evaporation line, and are absorbed by activated carbon in it.The fuel cut valve is also incorporated in the fuel tank line.
^ The purge control solenoid valve is controlled optimally by the ECM according to the engine condition.
^ The pressure control solenoid valve incorporated in the fuel tank evaporation line regulates the pressure/vacuum in the fuel tank under the control of the ECM which uses the signal from the fuel tank pressure sensor.