Operation CHARM: Car repair manuals for everyone.
Manuals through 2025 now available!

Our trusted friends have launched a new website named LEMON, which has newer manuals. It also contains all the CHARM manuals.

LEMON is the spiritual successor to CHARM, I recommend you try it!

Link: lemon-manuals.la or lemon-manuals.org.ua

(Some people have issue connecting. LEMON is investigating. For now, use Firefox or change your DNS server)

Or, hide this message: temporarily or permanently

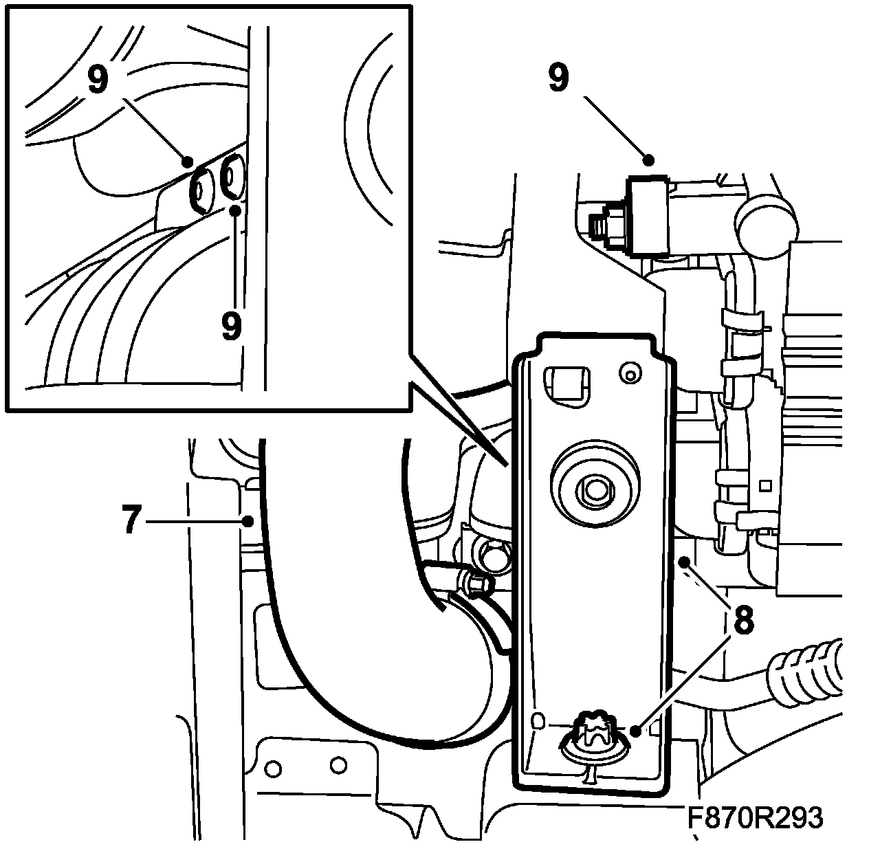
Receiver Dryer: Service and Repair



Receiver, B207

IMPORTANT: The A/C receiver and the compressor oil absorb moisture from the air, which can then not be removed. Plug all connections that are opened immediately.

To remove
1. Put the car on a lift.
2. Drain the refrigerant from the A/C system.
3. Remove the upper engine cover.





4. Dismantle the PAD connection from the receiver. Plug the openings.





5. Raise the car.
6. Remove the lower engine cover.





7. Remove the turbocharger hose from the charger air cooler. Move the hose to one side.





8. Loosen the right hand radiator mounting from the subframe.
9. Dismantle the receiver.

To fit
1. Adjust the oil quantity in the A/C system.
2. Fit the receiver. Take care so that the receiver pipe aligns correctly in the air panel.





3. Fit the right hand radiator mounting on the subframe.
4. Fit the turbocharger hose on the charge air cooler.
5. Fit the lower engine cover.





6. Lower the car.
7. Remove the plugs, replace the sealing washers and the PAD connection to the receiver.





Tightening torque 18 Nm (13 lbf ft)

8. Fit the upper engine cover.





9. Vacuum pump and fill the system with refrigerant.
10. Check the performance of the A/C system.