Operation CHARM: Car repair manuals for everyone.
Manuals through 2025 now available!

Our trusted friends have launched a new website named LEMON, which has newer manuals. It also contains all the CHARM manuals.

LEMON is the spiritual successor to CHARM, I recommend you try it!

Link: lemon-manuals.la or lemon-manuals.org.ua

(Some people have issue connecting. LEMON is investigating. For now, use Firefox or change your DNS server)

Or, hide this message: temporarily or permanently

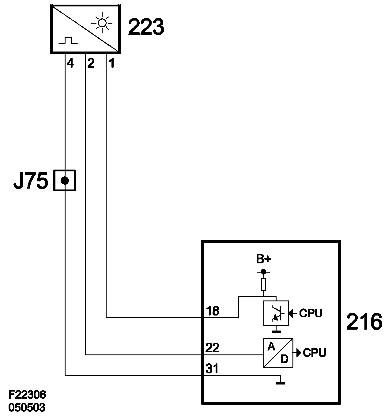
Solar Sensor: Description and Operation



Solar Sensor (223)





Main task
The solar sensor provides information regarding the intensity of the sun and its position.

Type
The solar sensor contains 5 solar cells: left, right, front, rear and top. The treated plastic housing allows infrared light (heat radiation) through only. The ACC control module sends a B+ pulse feed to the sensor and grounds the sensor. Voltage from the 5 sensor elements are sent in succession to the ACC unit which then calculates the sun's intensity and position.





Connect
Solar sensor pin 1 receives a B+ pulse feed from ACC control module pin 11 (K18) and is connected to ground with pin 4 from ACC control module pin 12 (K18). Voltage from the 5 sensor elements are sent in succession from pin 2 to ACC control module pin 4 (K18).